本系统(程序+源码)带文档lw万字以上 文末可获取一份本项目的java源码和数据库参考。
系统程序文件列表


开题报告内容
研究背景:
随着互联网技术的快速发展,电子商务已成为企业间交易的重要方式。X钢材商贸公司作为钢材行业的领军企业,传统的购销管理模式已无法满足日益增长的交易需求。为了提高购销效率、降低运营成本,并更好地满足客户需求,开发一个网络购销管理系统显得尤为重要。
研究意义:
对于X钢材商贸公司而言,网络购销管理系统的实施不仅有助于提升企业的核心竞争力,还能带来多方面的实际效益。首先,该系统能够大幅提高购销业务的处理速度,减少人工操作,降低出错率。其次,系统能够实时跟踪交易状态,确保货物及时送达,提高客户满意度。此外,系统还能为决策层提供准确的数据支持,便于企业做出更加科学、合理的决策。
研究目的:
本研究旨在为X钢材商贸公司开发一个高效、便捷的网络购销管理系统。通过该系统,企业能够实现以下目标:
- 整合业务员、经理、客户、供应商等各方资源,形成一个统一的在线交易平台。
- 简化购销流程,提高业务处理速度,降低运营成本。
- 实时跟踪交易状态,确保货物及时送达,提高客户满意度。
- 为决策层提供数据支持,便于做出更加科学、合理的决策。
- 确保交易的透明度与安全性,增强企业信誉。
研究内容:
本研究将围绕X钢材商贸公司的网络购销管理系统展开研究。具体的研究内容将包括:
- 系统需求分析:深入了解企业各部门的业务需求,明确系统的功能模块与技术要求。
- 系统设计与开发:基于先进的技术框架进行系统架构设计,并按照需求逐步开发各个功能模块。
- 数据整合与交互:确保各模块间的数据流畅交互,实现信息的实时共享。
- 系统测试与优化:对开发完成的系统进行全面测试,并根据反馈进行必要的优化和调整。
进度安排:
2022-09-08 至 2022-10-20:确定项目方向,收集相关技术的资料与文档以及开发环境的搭建与配置。
2022-10-21 至 2022-11-30:准备参考文献,编写开题报告和文献综述,对整体框架做好相关的设计,从而为以后进一步详细的完成设计做好准备。
2022-12-01 至 2023-01-10:编写代码实现功能模块,完成设计要求的具体功能。
2023-01-11 至 2023-02-28:论文初稿、代码测试,完成整个项目的测试并且做好后期的修改工作。
2023-03-01 至 2023-03-31:论文完善、提交答辩申请和相关资料。
2023-04:准备毕业设计相关资料,并且审核论文,准备答辩。
参考文献:
[1]王帅, 刘磊. 测试驱动开发在Java程序设计课程实验教学中的应用[J]. 淮北师范大学学报(自然科学版), 2023, 44 (03): 83-87.
[2]杜兆芳. 探析计算机应用软件开发中编程语言的选择[J]. 信息记录材料, 2023, 24 (07): 59-61.
[3]李乐. Java语言应用研究[J]. 智慧中国, 2022, (09): 80-81.
[4]黄丽萍. 基于Java的Web软件程序框架分层设计探讨[J]. 信息记录材料, 2022, 23 (07): 74-76.
[5]王志辉. 基于Java开发的数据库迁移方法和系统设计[J]. 电脑知识与技术, 2022, 18 (17): 19-21.
[6]王南. Java编程在计算机应用软件中的应用特征与技术研究[J]. 信息记录材料, 2022, 23 (04): 130-132.
以上是开题是根据本选题撰写,是项目程序开发之前开题报告内容,后期程序可能存在大改动。最终成品以下面运行环境+技术+界面为准,可以酌情参考使用开题的内容。要本源码参考请在文末进行获取!!
运行环境
开发工具:idea/eclipse/myeclipse
数据库:mysql5.7或8.0
操作系统:win7以上,最好是win10
数据库管理工具:Navicat10以上版本
环境配置软件: JDK1.8+Maven3.3.9
服务器:Tomcat7.0
技术栈
- 前端技术:
- 使用Vue.js框架构建用户界面,这是一个现代的前端JavaScript框架,能够帮助创建动态的、单页的应用程序。
- 后端技术:
- SSM框架:这是Spring、SpringMVC和MyBatis三个框架的整合,其中:
- Spring负责业务对象的管理和业务逻辑的实现。
- SpringMVC处理Web层的请求分发,将用户的请求指派给后端的控制器处理。
- MyBatis作为数据持久层框架,负责与MySQL数据库的交互。
- SSM框架:这是Spring、SpringMVC和MyBatis三个框架的整合,其中:
- 数据库技术:
- 使用MySQL作为关系型数据库管理系统,存储应用数据。
- Navicat作为数据库可视化工具,方便进行数据库的管理、维护和设计。
- 开发环境和工具:
- JDK 1.8:Java开发工具包,用于编译和运行Java应用程序。
- Apache Tomcat 7.0:作为Web应用服务器,用于部署和运行Web应用程序。
- Maven 3.3.9:用于项目管理和构建自动化,它可以帮助您管理项目的构建、报告和文档。
- 开发流程:
- 使用Maven进行项目依赖管理和构建。
- 开发时,前后端可以分离开发,前端通过Vue.js构建用户界面,并通过Ajax与后端进行数据交互。
- 后端使用SSM框架进行业务逻辑处理和数据持久化操作。
- 开发完成后,将前端静态文件部署到Tomcat服务器,后端代码也部署在Tomcat上,实现整个Web应用的运行。
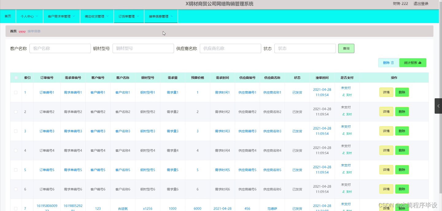
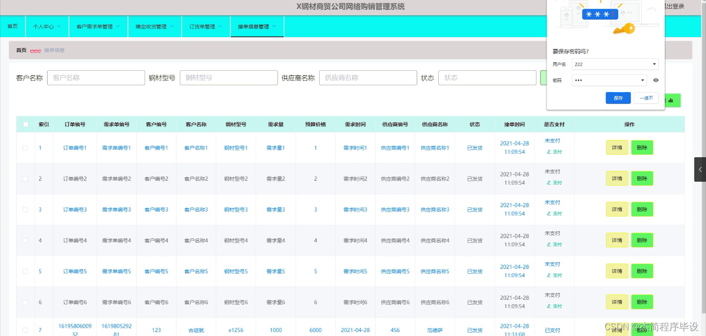
程序界面:








本文介绍了X钢材商贸公司为提升购销效率而开发的网络购销管理系统。研究内容包括需求分析、系统设计、数据整合与交互、测试优化,涉及的技术栈如Spring、SpringMVC、MyBatis、Vue.js等,以及使用Maven和Tomcat的开发环境配置。
1426

被折叠的 条评论
为什么被折叠?



