项目运行
环境配置:
Jdk1.8 + Tomcat7.0 + Mysql + HBuilderX(Webstorm也行)+ Eclispe(IntelliJ IDEA,Eclispe,MyEclispe,Sts都支持)。
项目技术:
SSM + mybatis + Maven + Vue 等等组成,B/S模式 + Maven管理等等。
环境需要
1.运行环境:最好是java jdk 1.8,我们在这个平台上运行的。其他版本理论上也可以。
2.IDE环境:IDEA,Eclipse,Myeclipse都可以。推荐IDEA;
3.tomcat环境:Tomcat 7.x,8.x,9.x版本均可
4.硬件环境:windows 7/8/10 1G内存以上;或者 Mac OS;
5.是否Maven项目: 否;查看源码目录中是否包含pom.xml;若包含,则为maven项目,否则为非maven项目
6.数据库:MySql 5.7/8.0等版本均可;
毕设帮助,指导,本源码分享,调试部署(见文末)
3.1网站性能需求分析
对网站性能进行分析,可对系统反应度、界面简洁清晰度、储存能性、易学性和稳定性进行分析;
系统反应度:同时上万人在线时反应时间应该在两三秒以内,。
界面简洁清晰:系统界面要求简单明了,操作简单,用户操作容易上手。
储存性能高:高校图书馆网站中需要存储的信息有很多,所以对系统的存储量要求很高,因此数据库就应该很强大,才能保证信息能安全稳定的进行存储;
易学性:该系统在操作上必须简单好上手,没有很多复杂的操作,只需要简单的进行学习就能操作该系统。
稳定性:要求高校图书馆网站运行要稳定,界面清楚、字体清晰等。
3.2可行性分析
3.2.1经济可行性
高校图书馆网站,主要面向的是电脑、用户,成本并不高,对于系统的维护和调试,只需要一个人就可以完成,所以在人力方面,投入的也很少。虽然说人力和资金的投入并不多,但是面临的收益是十分可观的,特别是由于目前比较特殊的疫情时期,很多实体店的图书馆或者高校图书馆都会将管理的目标转移到电子科技上,知识是无价的。在未来,很多高校图书馆投入的人力资源和资金不会太多,但却又能保证高校图书馆运转继续进行。这对整个高校图书馆的发展是非常有利的。
3.2.2技术可行性
本系统开发选择JSP技术,JSP技术是一个完全面向对象的技术,JSP为开发者提供了丰富的类库,大大减少了使用windows编程的难度,减少开发人员在设计算法上的难度,作为JSP开发,Eclipse更是一个必不可少的角色,它友好的界面,以及强大的功能,给程序开发人员带来了很多方便,加上环境简单,转移方便,无疑使此系统最佳的选择。所以后台设计选择使用MySQL数据库主要用来的建立和维护信息。对于前台开发要求应具备功能完善、易于操作等优点,后台数据库的要求则是能够建立和维护数据信息的统一性和完整性。
依据上述目标来分析本系统的硬件如下:
奔腾3的处理器;
内存是 2G;
硬盘是50G;
操作系统是Window 10;
在软件方面的话,安装了Eclipse和MySQL数据库开发工具。根据以上的软件与硬件要求,得到这个系统的技术是可行的。
3.2.3操作可行性
现在随着科技的飞速发展,计算机早已经进入了人们的日常生活中,人们的工作环境也不像以前有那么多的要求,没有必要员工一定要到公司办公,有的工作在家也可以完成。这使得人们的工作效益有了很大的提高。操作的多样性也变高了。因此,管理的计算机化,智能化是社会发展而带来的必然趋势,各种智能的软件层出不穷,不同的软件能完成用户不同的需求,这不仅提高了工作效率还能完成一些客户特定的一些需求。本系统不仅界面简洁明了还采用可视化界面,用户只要用鼠标和键盘就可以完成对相关信息的修改,删除,添加等操作。因为这个系统的操作十分简单,方便上手,对于第一次使用系统的人,只需要很少的时间就可以上手操作。由此可见,本系统在操作上是可行的。
3.2.4 时间可行性
在时间方面,因为项目并不是很大,功能也不算很大,所以可以在规定的时间完成。在确定好目标好,得做出合理的时间规划表,并严格按照时间去进行,才能在规定的时间内完成。
3.3系统结构设计
系统设计主要是管理员登录后对整个系统相关操作进行处理,可进行系统管理。系统的功能结构图如下图所示。

图3-1 系统结构图
3.4数据库设计
数据可设计要遵循职责分离原则,即在设计时应该要考虑系统独立性,即每个系统之间互不干预不能混乱数据表和系统关系。
数据库命名也要遵循一定规范,否则容易混淆,数据库字段名要尽量做到与表名类似。
3.4.1 E-R图设计
概念模型是对现实中的问题出现的事物的进行描述,ER图是由实体及其关系构成的图,通过E-R图可以清楚地描述系统涉及到的实体之间的相互关系。
管理员实体包括用户名、密码和角色三个属性。管理员体ER图如下图所示。

图3-2管理员信息ER图
学生信息ER图如下图所示。

图3-3学生信息ER图
教职工信息ER图如下图所示。

图3-4教职工信息ER图
图书信息ER图如下图所示。

图3-5图书信息ER图
4.1管理员功能模块
管理员输入用户名,密码,选择角色后进行登录,管理员登录如下图4-1所示:

图4-1 管理员登录界面
管理员登录后,对首页、个人中心、学生管理、教职工管理、图书信息管理、学生借书管理、职工借书管理、系统管理等进行操作,管理员功能如图4-2所示:

图4-2 管理员功能界面
在学生管理页面,管理员可以查看学号、姓名、性别、电话、身份证、头像等内容,也可以进行详情、修改,删除等操作,如下图4-3所示:

图4-3 学生管理页面
教职工管理,管理员可以查看职工编号、职工姓名、性别、电话、身份证、头像等内容,并进行详情、修改,删除等操作,如下图4-4所示:

图4-4 教职工管理页面
在图书信息管理页面,管理员可以对图书编号、图书名称、作者、出版社、出版日期、图书封面等内容,并信息详情,修改,查看评论、删除等操作,如下图4-5所示:

图4-5图书信息管理页面
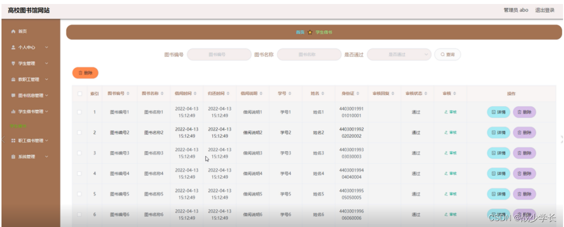
在学生借书管理页面,管理员可以对图书编号、图书名称、借阅时间、归还时间、借阅说明、学号、姓名、身份证、审核回复、审核状态、审核等内容,并信息详情、删除等操作,如下图4-6所示:

图4-6学生借书管理页面
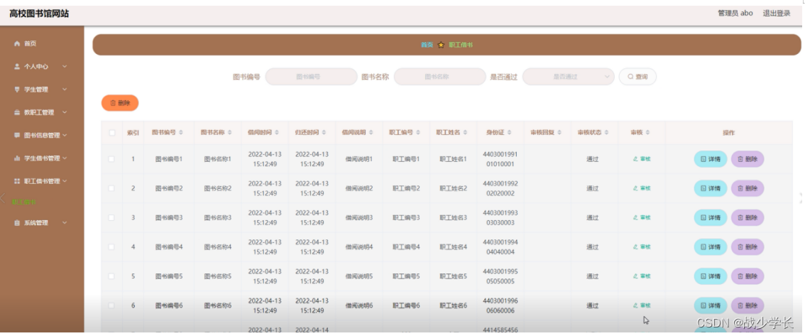
在职工借书管理页面,管理员可以对图书编号、图书名称、借阅时间、归还时间、借阅说明、职工编号、职工姓名、身份证、审核回复、审核状态、审核等内容,并进行详情,删除等操作,如下图4-7所示:

图4-7职工借书管理页
4.2学生功能模块
学生在系统后台,可以对首页、个人中心、学生借书管理等进行相关的操作,如下图4-8所示:

图4-8学生功能页面
个人中心:学生通过自己的个人中心,可进行修改密码,也可对个人信息进行编辑学号、姓名、性别、电话、身份证、头像,进行修改操作,如图4-9 4-10所示。

图4-9 修改密码页面

图4-10个人信息页面
在学生借书管理页面,学生可以查看图书编号、图书名称、借阅时间、归还时间、借阅说明、学号、姓名、身份证、审核回复、审核状态等内容,进行详情等操作,如下图4-11所示:

图4-11学生借书管理页面
4.3教职工功能模块
教职工注册,在教职工注册页面通过填写职工编号、密码、确认密码、职工姓名、电话、身份证等信息完成教职工注册操作,如图4-12所示。


图4-12教职工注册、教职工登录页面
文章描述了一个基于SSM+mybatis+Maven的高校图书馆网站项目的环境配置和需求。系统需具备高反应度、简洁界面、强存储性能、易学性和稳定性。经济、技术、操作上均具备可行性,采用JSP技术,Eclipse作为IDE,MySQL为数据库。管理员和学生功能模块详细阐述了系统的操作流程。
16万+

被折叠的 条评论
为什么被折叠?



