计算机毕业设计ssm防诈骗警民协同防护系统hbyxlc3o
(配套有源码 程序 mysql数据库 论文)本套源码可以先看具体功能演示视频领取,文末有联xi 可分享
随着互联网的飞速发展,诈骗手段日益复杂且多样化,给社会带来了严重的安全隐患。传统的反诈骗措施往往依赖于警方的单方面努力,难以有效应对当前复杂多变的诈骗形势。因此,构建一个能够整合警方与民众力量、提升诈骗识别与预防效率的信息化系统显得尤为重要。基于此,我们提出了“SSM防诈骗警民协同防护系统”,旨在通过技术手段实现警民联动,共同守护公众的财产安全。
该系统基于SSM框架开发,采用Java语言结合MySQL数据库,实现了高内聚低耦合的设计。系统的主要功能模块包括:
-
用户管理:支持用户注册、登录、修改密码以及个人信息管理。
-
在线举报:用户可以随时提交诈骗线索,包括举报编号、举报内容、举报凭证等。
-
进度处理:用户可以查看举报的处理进度和结果。
-
反诈案例管理:提供反诈案例的分类、展示和管理功能,帮助用户了解诈骗手段。
-
法律法规管理:发布和管理与反诈相关的法律法规,提升用户的法律意识。
-
反诈活动管理:组织和管理反诈宣传活动,包括活动信息发布、报名管理等。
-
案情公告管理:实时发布案情公告,让用户及时了解诈骗案件的最新动态。
-
反诈测试管理:设计反诈测试题目,帮助用户检验反诈知识水平。
-
论坛互动:提供反诈论坛功能,用户可以在论坛中交流反诈经验。
-
收藏与记录:用户可以收藏重要的反诈信息,并查看自己的测试记录和错题本。
通过这些功能模块,系统不仅能够为用户提供一个便捷的反诈信息平台,还能帮助警方更好地收集线索、管理案件,实现警民协同作战。这种模式不仅提高了诈骗案件的侦破率,也增强了社区的整体防骗能力,为构建安全和谐的社会环境提供了有力支持。
注:完成的毕业设计程序以下面的的环境软件、功能图和界面为准。
系统所需要的环境软件:idea、eclipse+mysql5.7、8.0+Navicat+JDK1.8+tomcat7.0
3.2系统流程设计
3.2.1 系统开发流程
防诈骗警民协同防护系统的设计和开发,首先要对用户的实际使用需求和具体情况进行细致的分析,分析出系统要完成的全部功能,然后再针对整个系统的工作流程和功能进行设计,力求每个模块都能够达到用户的要求,最后通过测试来解决问题,保证系统的稳定和正常的运转,本系统的开发流程如图3-1所示。
图3-1系统开发流程图
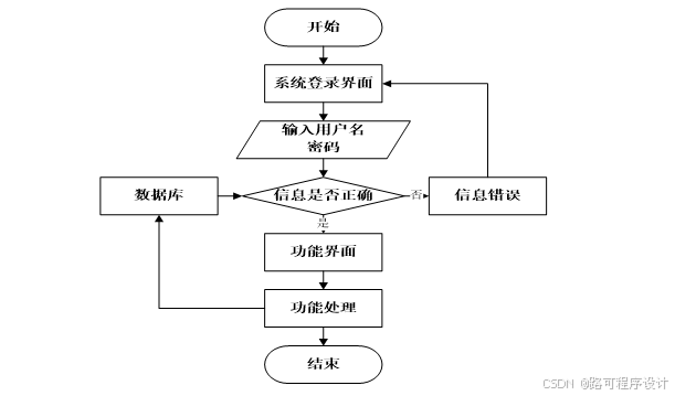
3.2.2 用户登录流程
登录流程实现了管理员和其他用户的登录,在登录页面需要用户填写自己的信息,前端页面会将信息传递给后端接口,然后查询数据库确定该身份有效后登录成功,否则此用户登录失败,需要重新填写信息,进行再次验证,如图3-2所示。
图3-2登录流程图
3.2.3 系统操作流程
系统操作流程分析是软件开发过程中的一个关键环节,它是整个系统整体的运行过程,必须保证其中的每一个步骤都是确定的,这样一个规范的流程图可以使开发者易于理解,快速的投入到接口开发中,从而提升系统开发效率。
同时,流程图还能减少开发者对系统操作流程产生歧义和降低沟通的成本,系统操作流程如图3-3所示。
图3-3系统操作流程图
3.2.4 添加信息流程
系统的正常运行离不开数据的支撑,因此,在本系统中添加了数据插入功能,数据库中数据的缺失,会直接影响到数据的查询结果,查询结果错误又会导致逻辑处理出现偏差,最终导致系统性错误或故障,所以在对系统进行数据添加操作时,必须要对数据进行合法性校验,确定此条数据是否有惟一的主关键字和字段是否允许为空等等,若数据库表中不允许某字段为空,而程序没有进行该字段非空逻辑校验,那么就会出现数据存储失败,可能因此造成严重系统后果。添加信息流程如图3-4所示。
图3-4添加信息流程图
3.2.5 修改信息流程
因为使系统的使用者是人,所以难免会有疏忽,从而造成系统输入的信息有误。或者由于其他原因导致数据发生改变,使得必须对系统内的数据进行相应的调整,所以在程序运行中,数据的修改操作是不可缺少的重要环节。
在进行数据更新时,必须要有一个惟一的主关键字,以便数据库能够查询到相应的数据;另外,还必须遵守数据插入过程的操作规范,以确保数据的正确性。修改信息流程图如图3-5所示。
图3-5修改信息流程图
3.2.6 删除信息流程
删除操作在系统中并非是必须的,可根据用户及系统的需要来决定是否添加删除功能,删除操作就是使用delete语句将数据库中的某一匹配数据删除,因为此操作会导致用户数据丢失,所以为了避免使用者误按删除键,应在用户点击删除按钮时添加一个提示确认弹窗,当用户确定要删除时,再进行数据库的操作,并且在删除操作完成后要对用户进行反馈。删除信息流程图如图3-6所示。
图3-6 删除信息流程图
3.3系统用例分析
3.3.1 管理员用例图
防诈骗警民协同防护系统的最大权限用户是管理员,通过管理员菜单中的系统首页、用户管理、警察管理、案例分类管理、活动类型管理、法律分类管理、案情公告管理、反诈案例管理、法律法规管理、在线举报管理、处理进度管理、反诈活动管理、报名信息管理、反诈论坛、反诈测试管理、试题管理、系统管理、测试管理等选项来对系统后台信息进行管理。管理员用例如图3-7所示。
图3-7管理员用例图
3.3.2 用户用例图
用户进入系统可以对修改密码、在线举报、进度处理、报名信息、我的发布、测试记录、错题本、我的收藏进行管理。用户用例如图3-8所示。
图3-8用户用例图
3.3.3 警察用例图
警察进入系统可以对系统首页、案例分类管理、活动类型管理、法律分类管理、案情公告管理、反诈案例管理、法律法规管理、在线举报管理、处理进度管理、反诈活动管理、报名信息管理、我的信息进行管理。警察用例如图3-9所示。
图3-9警察用例图
4 系统设计
4.1 系统概述
防诈骗警民协同防护系统的设计与开发是指对该系统的各个功能模块进行详细设计,力求每个模块都能够满足用户的要求,系统开发完成后还需对系统进行单元测试和系统测试,发现系统中存在的问题并解决,确保系统正常稳定的运行。防诈骗警民协同防护系统工作原理图如图4-1所示:

图4-1 系统工作原理图
4.2 系统结构设计
系统结构设计必须要满足用户的业务需求,系统结构设计完成后要形成系统结构设计文档,开发人员就可根据模块接口说明进行接口开发,接口开发完需进行功能测试,目的是发现并解决系统漏洞,同时还得保证系统的可扩展性和稳定性,满足用户对系统的要求。系统设计需满足以下要求:
- 安全性
- 易用性
- 柔软性
- 柔软性
- 扩展性
防诈骗警民协同防护系统的整体结构设计主要分为两大部分:管理员、用户和警察。整体结构设计如图4-2所示。

图4-2 整体结构设计图
4.3 数据库设计
本系统依赖于MySQL数据库来储存信息,系统完成后,所有需要的数据都要从数据库中读取,这也意味着无论是插入、更新还是删除操作,只要对数据有改动的操作都需要与数据库交互,因此,系统的全部数据都要储存在数据库,必须保证数据库在未经授权情况下不得进行删除表结构等危险操作,而且要保证表中字段的准确性。
4.3.1 数据库设计原则
- 从上而下
- 从下至上
- 逐渐扩大
- 结合方法
4.3.2 数据库实体
E-R图,即实体-联系图,它是一种通过对实例进行抽象,以可视化的方式来描述现实世界的概念模型。根据需求分析绘制出数据库的E-R图,能够直观地映射出各个表之间的关系。

图4-3 局部er图
5.1系统模块实现
当人们打开系统的网址后,首先看到的就是首页界面。在这里,人们能够看到系统的导航条,通过导航条导航进入各功能展示页面进行操作。系统首页界面如图5-1所示:

图5-1 系统首页界面
在注册流程中,用户在Vue前端填写必要信息(如用户名、密码等)并提交。前端将这些信息通过HTTP请求发送到Java后端。后端处理这些信息,检查用户名是否唯一,并将新用户数据存入MySQL数据库。完成后,后端向前端发送注册成功的确认,前端随后通知用户完成注册。这个过程实现了新用户的数据收集、验证和存储。系统注册页面如图5-2所示:

图5-2系统注册页面
新闻资讯:在新闻资讯页面的输入栏中输入标题进行查询,可以查看到新闻资讯详细信息,可进行点赞或收藏操作;新闻资讯页面如图5-3所示:

图5-3新闻资讯详细页面
个人中心:在个人中心页面通过填写个人详细信息进行更新操作;还可以对修改密码、在线举报、进度处理、报名信息、我的发布、测试记录、错题本、我的收藏等信息进行操作;如图5-4所示:

图5-4个人中心界面
5.2后台模块实现
在登录流程中,用户首先在Vue前端界面输入用户名和密码。这些信息通过HTTP请求发送到Java后端。后端接收请求,通过与MySQL数据库交互验证用户凭证。如果认证成功,后端会返回给前端,允许用户访问系统。这个过程涵盖了从用户输入到系统验证和响应的全过程。如图5-5所示。

图5-5 登录界面
5.2.1管理员模块实现
管理员进入主页面,主要功能包括对系统首页、用户管理、警察管理、案例分类管理、活动类型管理、法律分类管理、案情公告管理、反诈案例管理、法律法规管理、在线举报管理、处理进度管理、反诈活动管理、报名信息管理、反诈论坛、反诈测试管理、试题管理、系统管理、测试管理等进行操作。管理员主页面如图5-6所示:

图5-6 管理员主界面
用户管理功能在视图层(view层)进行交互,比如点击“查询、添加或删除”按钮或填写用户信息表单。这些用户信息动作被视图层捕获并作为请求发送给相应的控制器层(controller层)。控制器接收到这些请求后,调用服务层(service层)以执行相关的业务逻辑,例如验证输入数据的有效性和与数据库的交互。服务层处理完这些逻辑后,进一步与数据访问对象层(DAO层)交互,后者负责具体的数据操作如查看、修改或删除用户信息,并将操作结果返回给控制器。最终,控制器根据这些结果更新视图层,以便用户管理功能可以看到最新的信息或相应的操作反馈。如图5-7所示:

图5-7用户管理界面
警察管理功能在视图层(view层)进行交互,比如点击“查询、添加或删除”按钮或填写警察信息表单。这些警察信息动作被视图层捕获并作为请求发送给相应的控制器层(controller层)。控制器接收到这些请求后,调用服务层(service层)以执行相关的业务逻辑,例如验证输入数据的有效性和与数据库的交互。服务层处理完这些逻辑后,进一步与数据访问对象层(DAO层)交互,后者负责具体的数据操作如查看、修改或删除警察信息,并将操作结果返回给控制器。最终,控制器根据这些结果更新视图层,以便警察管理功能可以看到最新的信息或相应的操作反馈。如图5-8所示:

图5-8警察管理界面
管理员点击案例分类管理。在案例分类页面输入案例分类进行查询、添加或删除案例分类信息列表,并根据需要对案例分类详细信息进行查看、修改或修改操作;如图5-9所示:

图5-9案例分类管理界面
管理员点击活动类型管理。在活动类型页面输入活动类型进行查询、添加或删除活动类型信息列表,并根据需要对活动类型详细信息进行查看、修改或修改操作;如图5-10所示:

图5-10活动类型管理界面
管理员点击法律分类管理。在法律分类页面输入法律分类进行查询、添加或删除法律分类信息列表,并根据需要对法律分类详细信息进行查看、修改或修改操作;如图5-11所示:

图5-11法律分类管理界面
管理员点击案情公告管理。在案情公告页面输入公告标题、案件号或案情进度进行查询、添加或删除案情公告信息列表,并根据需要对案情公告详细信息进行查看、修改、查看评论或修改操作;如图5-12所示:

图5-12案情公告管理界面
5.2.2警察模块实现
警察进入主页面,主要功能包括对系统首页、案例分类管理、活动类型管理、法律分类管理、案情公告管理、反诈案例管理、法律法规管理、在线举报管理、处理进度管理、反诈活动管理、报名信息管理、我的信息等进行操作。警察主页面如图5-13所示:

图5-13 警察主界面
源码无偿分享,文未领取

被折叠的 条评论
为什么被折叠?



