项目运行
环境配置:
Jdk1.8 + Tomcat7.0 + Mysql + HBuilderX(Webstorm也行)+ Eclispe(IntelliJ IDEA,Eclispe,MyEclispe,Sts都支持)。
项目技术:
SSM + mybatis + Maven + Vue 等等组成,B/S模式 + Maven管理等等。
环境需要
1.运行环境:最好是java jdk 1.8,我们在这个平台上运行的。其他版本理论上也可以。
2.IDE环境:IDEA,Eclipse,Myeclipse都可以。推荐IDEA;
3.tomcat环境:Tomcat 7.x,8.x,9.x版本均可
4.硬件环境:windows 7/8/10 1G内存以上;或者 Mac OS;
5.是否Maven项目: 否;查看源码目录中是否包含pom.xml;若包含,则为maven项目,否则为非maven项目
6.数据库:MySql 5.7/8.0等版本均可;
毕设帮助,指导,本源码分享,调试部署(见文末)
3.3系统流程分析
3.3.1操作流程

图3-1登录流程图
3.3.2添加信息流程
添加信息流程图,如图所示:

图3-2添加信息流程图
3.3.3删除信息流程
删除信息流程图,如图所示:

图3-3删除信息流程图
4.1系统结构
房屋租赁管理系统,它是一个由人、电脑及其他组件构成的,一种能够收集、存储、加工、传送信息的系统。该系统可以帮助决策者找出当前急需解决的问题,然后将信息快速的反馈,使管理人员能够以最快的时间知道目前的现状,进行更进一步的计划。
当前MIS系统结构目前存在两种较为流行的结构:C/S和B/S两种。
C/S结构的系统:C/S结构就是客户机服务器结构,它可以法派任务到Client端和Server端来进行,充分利用两端硬件环境的优势,来降低系统的通讯的花费。客户端主要作用是处理人机交互,执行客户端应用程序,收集数据以及向服务器发送任务请求。服务器基本作用是执行后台程序,它主要对客户机的请求申请进行反馈,除此之外,它的作用还包括:数据库存储系统的共享管理、通讯管理、文件管理等等。
B/S结构的系统:这种网络结构简化了客户端,并把系统功能实现的中心集中到服务器上,在这种模式中,只需要一个浏览器就可以了。这种结构将很多的工作交于WEB服务器,只通过浏览器请求WEB服务,随后根据请求返回信息。
通常在只在企业网内部使用,采用C/S。而使用不仅限于内网的情况下使用B/S。考虑到本管理系统的一系列需求,所以,该系统开发使用B/S结构开发。其主要功能结构如下图所示。

图4-1 系统总体功能结构图
4.2数据库设计
数据库设计是指为系统提供最优化的数据库模式,使得应用程序能够有效的存储数据,满足租客的各类需求。
4.2.1数据库概念结构设计
概念结构设计是根据租客需求形成的。用最常的E-R方法描述数据模型进行数据库的概念设计,首先设计局部的E-R模式,最后各局部ER模式综合成一个全局模式。然后再把概念模式转换成逻辑模式。将概念设计从设计过程中独立开来,设计复杂程度降低,不受特定DBMS的限制。
1.所有实体和属性的定义如下所示。
租客注册属性图如下图4-2所示。

图4-2租客注册实体属性图
房屋信息实体属性图,如图4-3所示:

图4-3房屋信息实体属性图
5.1系统功能模块
房屋租赁管理系统,在系统首页可以查看首页,房屋信息,通知公告,留言板,个人中心,后台管理,在线客服等内容,并进行详细操作;如图5-1所示。

图5-1系统首页界面图
房屋信息,在房屋信息页面可以查看房屋编号,房屋型号,户型,地址,状态,面积,租金,房源设施,发布日期,点击次数等内容,并进行预约看房,租客租房,点我收藏等操作,如图5-2所示。

图5-2房屋信息界面图
租客注册,在租客注册页面通过填写账号,密码,确认密码,姓名,年龄,手机,身份证等内容进行注册操作,如图5-3所示。

图5-3租客注册界面图
个人中心,在个人中心页面通过填写账号,密码,姓名,年龄,性别,手机,身份证,图片等内容进行更新信息操作,还可以对我的收藏进行详细操作;如图5-4所示。

图5-4个人中心界面图
5.2后台功能模块
后台登录,管理员和租客进入系统前在登录页面根据要求填写用户名和密码,选择角色等信息,点击登录进行登录操作,如图5-5所示。

图5-5后台登录界面图
5.2.1管理员功能模块
管理员登录系统后,可以对首页,个人中心,租客管理,房屋类型管理,房屋信息管理,预约看房管理,用户租房管理,签订合同管理,用户退房管理,报障信息管理,通知公告管理,留言板管理,系统管理等功能进行相应的操作,如图5-6所示。

图5-6管理员功能界面图
租客管理,在租客管理页面可以对索引,账号,姓名,年龄,性别,手机,身份证,照片等内容进行详情,修改和删除等操作,如图5-7所示。

图5-7租客管理界面图
房屋信息管理,在房屋信息管理页面可以对索引,标题,房屋编号,房屋类型,户型,地址,状态,图片,面积,租金,发布日期等内容进行详情,修改和删除等操作,如图5-8所示。

图5-8房屋信息管理界面图
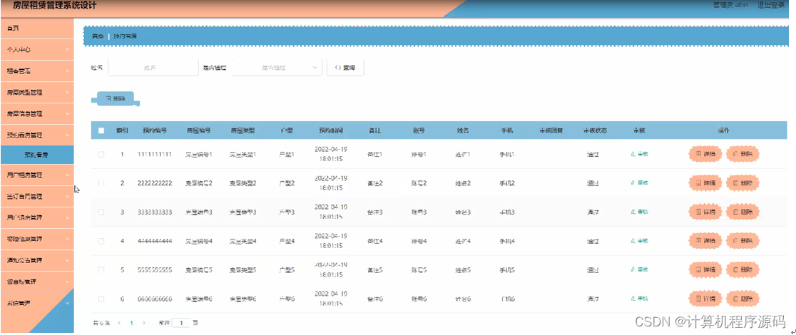
预约看房管理,在预约看房管理页面可以对索引,预约编号,房屋编号,房屋类型,户型,预约时间,备注,账号,姓名,手机,审核回复,审核状态,审核等内容进行详情,删除操作,如图5-9所示。

图5-9预约看房管理界面图
用户租房管理,在用户租房管理页面可以对索引,申请编号,房屋编号,户型,租金,租期,总价,租房日期,账号,姓名,手机,身份证,是否支付,审核回复,审核状态,审核等内容进行详情,签订合同,删除等操作,如图5-10所示。

图5-1用户租房管理界面图
签订合同管理,在签订合同管理页面可以对索引,合同编号,标题,文件,签订日期,有效期,账号,姓名,审核回复,审核状态等内容进行详情,删除操作,如图5-11所示。

图5-11签订合同管理界面图
用户退房管理,在用户退房管理页面可以对索引,申请编号,房屋编号,户型,租金,租期,总价,租房日期,账号,姓名,手机,身份证,是否支付,审核回复,审核状态,审核等内容进行详情,删除操作;如图5-12所示。

图5-12用户退房管理界面图
报障信息管理,在报障信息管理页面可以对索引,标题,房屋编号,地址,报障日期,账号,姓名,手机,审核回复,审核状态,审核等内容进行详情,删除操作,如图5-13所示。

图5-13报障信息管理界面图
本文档详细介绍了基于SSM(Spring、SpringMVC、Mybatis)框架的房屋租赁管理系统的设计,包括系统流程、数据库设计、功能模块以及后台管理。系统采用B/S结构,支持租客注册、房屋信息查看、预约看房、租房等功能,同时提供了管理员管理界面,可进行租客、房屋信息等的详情、修改和删除操作。

被折叠的 条评论
为什么被折叠?



