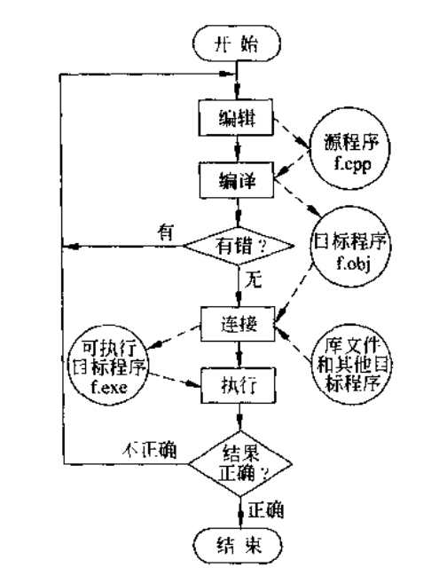
程序的形式
Hello World 简单程序
#include <iostream> //包含头文件 iostream
using namespace std; //使用命名空间 std
int main()
{
cout <<"Hello World.";
return 0;
}
求和
//求两数之和
#include <iostream>
using namespace std;
int main()
{
int a,b,sum;
cin>>a>>b;
sum=a+b;
cout<<"a+b="<<sum<<endl; //endl 换行
return 0;
}
比大小
//比大小
#include <iostream>
using namespace std;
int max(int x,int y)
{
int z;
if(x>y)z=x;
else z=y;
return(z);
}
int main()
{
int a,b,m;
cin>>a>>b;
m=max(a,b);
cout<<"max="<<m<<endl;
return 0;
}
//可改写为
#include <iostream>
using namespace std;
int main()
{
int max(int x,int y);
int a,b,c;
cin>>a>>b;
c=max(a,b);
cout<<"max="<<c<<endl;
return 0;
}
int max(int x,int y)
{
int z;
if(x>y)z=x;
else z=y;
return(z);
}
排序
//排序
#include <iostream>
using namespace std;
void sort(int a,int b,int c){
int temp;
if(a>b){
temp=a;
a=b;
b=temp;
}
if(c<a)cout<<c<<","<<a<<","<<b<<endl;
else if(c<b)cout<<a<<","<<c<<","<<b<<endl;
else cout<<a<<","<<b<<","<<c<<endl;
}
int main(){
int a,b,c;
cin>>a>>b>>c;
sort(a,b,c);
return 0;
}
包含类的程序
#include <iostream>
using namespace std;
class Student
{
private:
int num;
int score;
public:
void setdata()
{
cin>>num;
cim>>score;
}
void display()
{
cout<<"num="<<num<<endl;
cout<<"score="<<sorce<<endl;
};
};
Student stud1,stud2;
int main()
{
stud1.setdata();
stud2.setdata();
stud1.display();
stud2.display();
return 0;
}
程序的实现


989

被折叠的 条评论
为什么被折叠?



