时间:2019年7月27日
地点:家里
内容:配置网络服务、远程控制服务、不间断会话
配置网路服务
1.更改配置文件。文件路径: /etc/sysconfig/network-scripts/

2.nmtui界面配置

Edit a connection:编辑连接
Activate a connection:激活连接
Set system hostname:设置主机名
选择Set system hostname回车,先来设置主机名吧。输入主机名称,然后按Tab键切换到<ok>上回车。此时会弹出一个确认框,OK即可。

然后选择Edit a connection,来配置网络参数吧。


3.使用nmcli命令配置


4.双网卡绑定
mode0(平衡负载模式):平时两块网卡均工作,且自动备援,但需要在与服务器本地网卡相连的交换机设备上进行端口聚合来支持绑定技术。
mode1(自动备援模式):平时只有一块网卡工作,在它故障后自动替换为另外的网卡。
mode6(平衡负载模式):平时两块网卡均工作,且自动备援,无须交换机设备提供辅助支持。
操作:维护“/etc/modprobe.d/”目录
远程控制服务
1.SSH SSH(Secure Shell)是一种能够以安全的方式提供远程登录的协议,也是目前远程管理Linux系统的首选方式。
验证方法有:1.基于口令的验证—用账户和密码来验证登录;
2.基于密钥的验证—需要在本地生成密钥对,然后把密钥对中的公钥上传至服务器,并与服务器中的公钥进行比较;该方式相较来说更安全。
配置文件路径:/etc/ssh/sshd_config文件
文件详解
#############1. 关于 SSH Server 的整体设定##############
#Port 22
##port用来设置sshd监听的端口,为了安全起见,建议更改默认的22端口为5位以上陌生端口
#Protocol 2,1
Protocol 2
##设置协议版本为SSH1或SSH2,SSH1存在漏洞与缺陷,选择SSH2
#AddressFamily any
#ListenAddress 0.0.0.0
#ListenAddress用来设置sshd服务器绑定的IP地址
##监听的主机适配卡,举个例子来说,如果您有两个 IP, 分别是 192.168.0.11 及 192.168.2.20 ,那么只想要
###开放 192.168.0.11 时,就可以设置为:ListenAddress 192.168.0.11
####表示只监听来自 192.168.0.11 这个 IP 的SSH联机。如果不使用设定的话,则预设所有接口均接受 SSH
#############2. 说明主机的 Private Key 放置的档案##########
#ListenAddress ::
##HostKey用来设置服务器秘钥文件的路径
# HostKey for protocol version 1
#HostKey /etc/ssh/ssh_host_key
##设置SSH version 1 使用的私钥
# HostKeys for protocol version 2
#HostKey /etc/ssh/ssh_host_rsa_key
##设置SSH version 2 使用的 RSA 私钥
#HostKey /etc/ssh/ssh_host_dsa_key
##设置SSH version 2 使用的 DSA 私钥
#Compression yes
##设置是否可以使用压缩指令
# Lifetime and size of ephemeral version 1 server key
#KeyRegenerationInterval 1h
##KeyRegenerationInterval用来设置多长时间后系统自动重新生成服务器的秘钥,
###(如果使用密钥)。重新生成秘钥是为了防止利用盗用的密钥解密被截获的信息。
#ServerKeyBits 768
##ServerKeyBits用来定义服务器密钥的长度
###指定临时服务器密钥的长度。仅用于SSH-1。默认值是 768(位)。最小值是 512 。
# Logging
# obsoletes QuietMode and FascistLogging
#SyslogFacility AUTH
SyslogFacility AUTHPRIV
##SyslogFacility用来设定在记录来自sshd的消息的时候,是否给出“facility code”
#LogLevel INFO
##LogLevel用来设定sshd日志消息的级别
#################3.安全认证方面的设定################
#############3.1、有关安全登录的设定###############
# Authentication:
##限制用户必须在指定的时限内认证成功,0 表示无限制。默认值是 120 秒。
#LoginGraceTime 2m
##LoginGraceTime用来设定如果用户登录失败,在切断连接前服务器需要等待的时间,单位为妙
#PermitRootLogin yes
##PermitRootLogin用来设置能不能直接以超级用户ssh登录,root远程登录Linux很危险,建议注销或设置为no
#StrictModes yes
##StrictModes用来设置ssh在接收登录请求之前是否检查用户根目录和rhosts文件的权限和所有权,建议开启
###建议使用默认值"yes"来预防可能出现的低级错误。
#RSAAuthentication yes
##RSAAuthentication用来设置是否开启RSA密钥验证,只针对SSH1
#PubkeyAuthentication yes
##PubkeyAuthentication用来设置是否开启公钥验证,如果使用公钥验证的方式登录时,则设置为yes
#AuthorizedKeysFile .ssh/authorized_keys
##AuthorizedKeysFile用来设置公钥验证文件的路径,与PubkeyAuthentication配合使用,默认值是".ssh/authorized_keys"。
###该指令中可以使用下列根据连接时的实际情况进行展开的符号: %% 表示'%'、%h 表示用户的主目录、%u 表示该用户的用户名
####经过扩展之后的值必须要么是绝对路径,要么是相对于用户主目录的相对路径。
#############3.2、安全验证的设定###############
# For this to work you will also need host keys in /etc/ssh/ssh_known_hosts
#RhostsRSAAuthentication no
##是否使用强可信主机认证(通过检查远程主机名和关联的用户名进行认证)。仅用于SSH-1。
###这是通过在RSA认证成功后再检查 ~/.rhosts 或 /etc/hosts.equiv 进行认证的。出于安全考虑,建议使用默认值"no"。
# similar for protocol version 2
#HostbasedAuthentication no
##这个指令与 RhostsRSAAuthentication 类似,但是仅可以用于SSH-2。
# Change to yes if you don't trust ~/.ssh/known_hosts for
# RhostsRSAAuthentication and HostbasedAuthentication
#IgnoreUserKnownHosts no
##IgnoreUserKnownHosts用来设置ssh在进行RhostsRSAAuthentication安全验证时是否忽略用户的“/$HOME/.ssh/known_hosts”文件
# Don't read the user's ~/.rhosts and ~/.shosts files
#IgnoreRhosts yes
##IgnoreRhosts用来设置验证的时候是否使用“~/.rhosts”和“~/.shosts”文件
# To disable tunneled clear text passwords, change to no here!
#PasswordAuthentication yes
##PasswordAuthentication用来设置是否开启密码验证机制,如果用密码登录系统,则设置yes
#PermitEmptyPasswords no
#PermitEmptyPasswords用来设置是否允许用口令为空的账号登录系统,设置no
#PasswordAuthentication yes
##是否允许使用基于密码的认证。默认为"yes"。
PasswordAuthentication yes
# Change to no to disable s/key passwords
##设置禁用s/key密码
#ChallengeResponseAuthentication yes
##ChallengeResponseAuthentication 是否允许质疑-应答(challenge-response)认证
ChallengeResponseAuthentication no
########3.3、与 Kerberos 有关的参数设定,指定是否允许基于Kerberos的用户认证########
#Kerberos options
#KerberosAuthentication no
##是否要求用户为PasswdAuthentication提供的密码必须通过Kerberos KDC认证,要使用Kerberos认证,
###服务器必须提供一个可以校验KDC identity的Kerberos servtab。默认值为no
#KerberosOrLocalPasswd yes
##如果Kerberos密码认证失败,那么该密码还将要通过其他的的认证机制,如/etc/passwd
###在启用此项后,如果无法通过Kerberos验证,则密码的正确性将由本地的机制来决定,如/etc/passwd,默认为yes
#KerberosTicketCleanup yes
##设置是否在用户退出登录是自动销毁用户的ticket
#KerberosGetAFSToken no
##如果使用AFS并且该用户有一个Kerberos 5 TGT,那么开启该指令后,
###将会在访问用户的家目录前尝试获取一个AFS token,并尝试传送 AFS token 给 Server 端,默认为no
####3.4、与 GSSAPI 有关的参数设定,指定是否允许基于GSSAPI的用户认证,仅适用于SSH2####
##GSSAPI 是一套类似 Kerberos 5 的通用网络安全系统接口。
###如果你拥有一套 GSSAPI库,就可以通过 tcp 连接直接建立 cvs 连接,由 GSSAPI 进行安全鉴别。
# GSSAPI options
#GSSAPIAuthentication no
##GSSAPIAuthentication 指定是否允许基于GSSAPI的用户认证,默认为no
GSSAPIAuthentication yes
#GSSAPICleanupCredentials yes
##GSSAPICleanupCredentials 设置是否在用户退出登录是自动销毁用户的凭证缓存
GSSAPICleanupCredentials yes
# Set this to 'yes' to enable PAM authentication, account processing,
# and session processing. If this is enabled, PAM authentication will
# be allowed through the ChallengeResponseAuthentication mechanism.
# Depending on your PAM configuration, this may bypass the setting of
# PasswordAuthentication, PermitEmptyPasswords, and
# "PermitRootLogin without-password". If you just want the PAM account and
# session checks to run without PAM authentication, then enable this but set
# ChallengeResponseAuthentication=no
#UsePAM no
##设置是否通过PAM验证
UsePAM yes
# Accept locale-related environment variables
##AcceptEnv 指定客户端发送的哪些环境变量将会被传递到会话环境中。
###[注意]只有SSH-2协议支持环境变量的传递。指令的值是空格分隔的变量名列表(其中可以使用'*'和'?'作为通配符)。
####也可以使用多个 AcceptEnv 达到同样的目的。需要注意的是,有些环境变量可能会被用于绕过禁止用户使用的环境变量。
#####由于这个原因,该指令应当小心使用。默认是不传递任何环境变量。
AcceptEnv LANG LC_CTYPE LC_NUMERIC LC_TIME LC_COLLATE LC_MONETARY LC_MESSAGES
AcceptEnv LC_PAPER LC_NAME LC_ADDRESS LC_TELEPHONE LC_MEASUREMENT
AcceptEnv LC_IDENTIFICATION LC_ALL
AllowTcpForwarding yes
##AllowTcpForwarding设置是否允许允许tcp端口转发,保护其他的tcp连接
#GatewayPorts no
##GatewayPorts 设置是否允许远程客户端使用本地主机的端口转发功能,出于安全考虑,建议禁止
#############3.5、X-Window下使用的相关设定###############
#X11Forwarding no
##X11Forwarding 用来设置是否允许X11转发
X11Forwarding yes
#X11DisplayOffset 10
##指定X11 转发的第一个可用的显示区(display)数字。默认值是 10 。
###可以用于防止 sshd 占用了真实的 X11 服务器显示区,从而发生混淆。
X11DisplayOffset 10
#X11UseLocalhost yes
#################3.6、登入后的相关设定#################
#PrintMotd yes
##PrintMotd用来设置sshd是否在用户登录时显示“/etc/motd”中的信息,可以选在在“/etc/motd”中加入警告的信息
#PrintLastLog yes
#PrintLastLog 是否显示上次登录信息
#TCPKeepAlive yes
##TCPKeepAlive 是否持续连接,设置yes可以防止死连接
###一般而言,如果设定这项目的话,那么 SSH Server 会传送 KeepAlive 的讯息给 Client 端,以确保两者的联机正常!
####这种消息可以检测到死连接、连接不当关闭、客户端崩溃等异常。在这个情况下,任何一端死掉后, SSH 可以立刻知道,而不会有僵尸程序的发生!
#UseLogin no
##UseLogin 设置是否在交互式会话的登录过程中使用。默认值是"no"。
###如果开启此指令,那么X11Forwarding 将会被禁止,因为login不知道如何处理 xauth cookies 。
####需要注意的是,在SSH底下本来就不接受 login 这个程序的登入,如果指UsePrivilegeSeparation ,那么它将在认证完成后被禁用。
UserLogin no
#UsePrivilegeSeparation yes
##UsePrivilegeSeparation 设置使用者的权限
#PermitUserEnvironment no
#Compression delayed
#ClientAliveInterval 0
#ClientAliveCountMax 3
#ShowPatchLevel no
#UseDNS yes
##UseDNS是否使用dns反向解析
#PidFile /var/run/sshd.pid
#MaxStartups 10
##MaxStartups 设置同时允许几个尚未登入的联机,当用户连上ssh但并未输入密码即为所谓的联机,
###在这个联机中,为了保护主机,所以需要设置最大值,预设为10个,而已经建立联机的不计算入内,
####所以一般5个即可,这个设置可以防止恶意对服务器进行连接
#MaxAuthTries 6
##MaxAuthTries 用来设置最大失败尝试登陆次数为6,合理设置辞职,可以防止攻击者穷举登录服务器
#PermitTunnel no
############3.7、开放禁止用户设定############
#AllowUsers<用户名1> <用户名2> <用户名3> ...
##指定允许通过远程访问的用户,多个用户以空格隔开
#AllowGroups<组名1> <组名2> <组名3> ...
##指定允许通过远程访问的组,多个组以空格隔开。当多个用户需要通过ssh登录系统时,可将所有用户加入一个组中。
#DenyUsers<用户名1> <用户名2> <用户名3> ...
##指定禁止通过远程访问的用户,多个用户以空格隔开
#DenyGroups<组名1> <组名2> <组名3> ...
##指定禁止通过远程访问的组,多个组以空格隔开。
# no default banner path
#Banner /some/path
# override default of no subsystems
原文出处
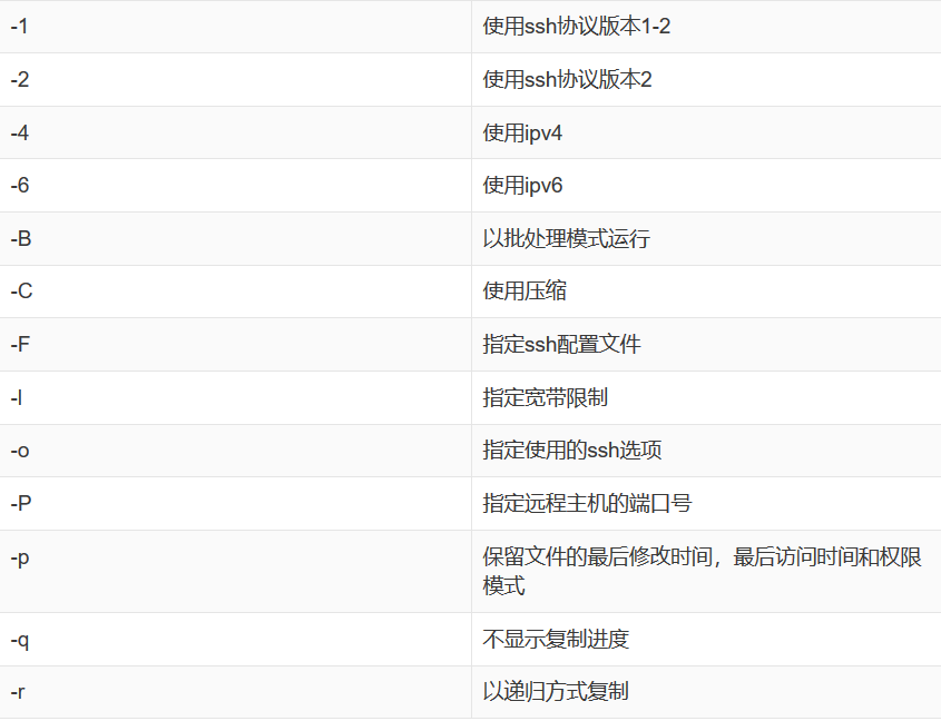
SSH ssh命令是openssh套件中的客户端连接工具,可以给予ssh加密协议实现安全的远程登录服务器,实现对服务器的远程管理。 格式“ ssh [选项] 目的IP ”

scp scp(secure copy)是一个基于SSH协议在网络之间进行安全传输的命令,其格式为“ scp [参数] 本地文件 远程帐户@远程IP地址:远程目录 ”。

使用scp命令把远程主机上的文件下载到本地主机,其命令格式为“ scp [参数] 远程用户@远程IP地址:远程文件 本地目录 ”。
不间断会话
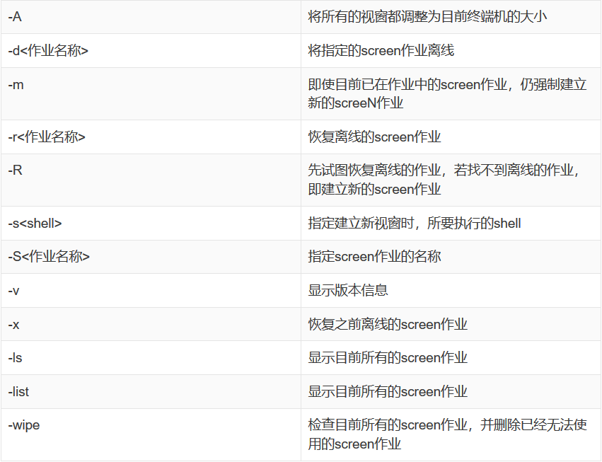
screen screen是一款能够实现多窗口远程控制的开源服务程序, 格式为:“ screen [参数] ”。

书面笔记







本文详细介绍了在Linux环境下配置网络服务、使用SSH进行安全远程登录、scp进行安全文件传输,以及使用screen实现不间断会话的方法。深入探讨了SSH配置文件sshd_config的各项参数,包括端口设置、验证方式、安全登录设定、X11转发等功能,帮助读者掌握高效、安全的远程管理技巧。
319

被折叠的 条评论
为什么被折叠?



