想起来之前搭建个人博客网站的总结还没有写,趁着这几天有时间回头来分享一下。本人的个人博客网站采用的是GitHub+jekyll,GitHub托管代码,jekyll发行生成静态网页。
1、购买域名
域名是在一个新加坡的域名服务器商DoDaddy(https://sso.godaddy.com)上买的,也可以去阿里云上购买。
2、搭建自己的GitHub博客
在网上看到有多种免费的blog生成工具,比如hexo,jekyll,WordPress等等,后面经过比较,我根据自己的需要选择了jekyll。
我们来看下百度百科的描述:jekyll只是一个生成静态网页的工具,不需要数据库支持,但是可以配个第三方的服务使用。最关键的是jekyll可以免费部署在GitHub上,而且可以绑定自己的域名。
我的GitHub
tips1:GitHub创建文件夹:网页上只能通过在创建新文件的时候顺便创建文件夹(文件夹与文件用 / 隔开),例如home/test.md就在该仓库下创建了一个文件夹home,该文件夹下有一个新的文件test.md
tips2:在GitHub静态页面中添加图片:在项目里创建一个 asset 目录,然后把图片都放在里面,写 README 的时候直接可以写 
3、将域名绑定到自己的GitHub pages博客上
3.1、添加CNAME文件
在仓库根目录下添加一个CNAM文件,没有后缀名,里面内容为你的域名(如:test.com),不需要添加http/www等前缀。
ping username.github.io记录下IP地址
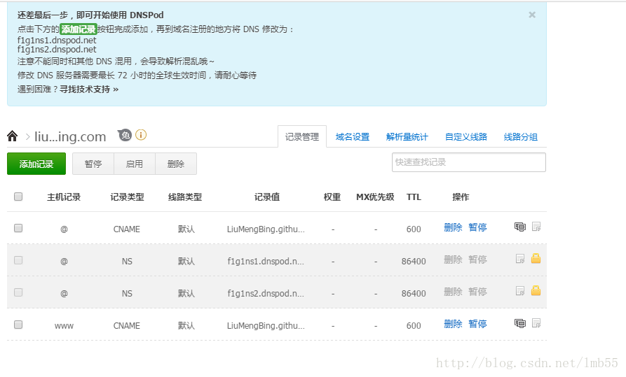
3.2、添加 DNS Service记录
去DNSPod注册个账号,添加域名,设置两个A记录。分别是@和www,ip地址填上个步骤获取的IP地址。
3.3、设置域名的DNS
在相应域名的Csutom DNS里,设置DNS service,添加两条记录f1g1ns1.dnspod.net和f1g1ns2.dnspod.net
3.4、漫长的等待
要全球解析生效,得等上一会了。
最后,可以正常访问的配置:
展示结果(May’s blog):
8万+

被折叠的 条评论
为什么被折叠?



