鹤岗小串
码龄4年
关注
提问 私信
  • 博客:4,688
    4,688
    总访问量
  • 3
    原创
  • 241,296
    排名
  • 43
    粉丝
  • 0
    铁粉
IP属地以运营商信息为准,境内显示到省(区、市),境外显示到国家(地区)
IP 属地:辽宁省
  • 加入CSDN时间: 2020-10-24
博客简介:

m0_51900768的博客

查看详细资料
  • 原力等级
    当前等级
    1
    当前总分
    49
    当月
    3
个人成就
  • 获得82次点赞
  • 内容获得10次评论
  • 获得69次收藏
创作历程
  • 2篇
    2024年
  • 1篇
    2023年
成就勋章
创作活动更多

2024 博客之星年度评选报名已开启

博主的专属年度盛宴,一年仅有一次!MAC mini、大疆无人机、华为手表等精美奖品等你来拿!

去参加
  • 最近
  • 文章
  • 代码仓
  • 资源
  • 问答
  • 帖子
  • 视频
  • 课程
  • 关注/订阅/互动
  • 收藏
搜TA的内容
搜索 取消

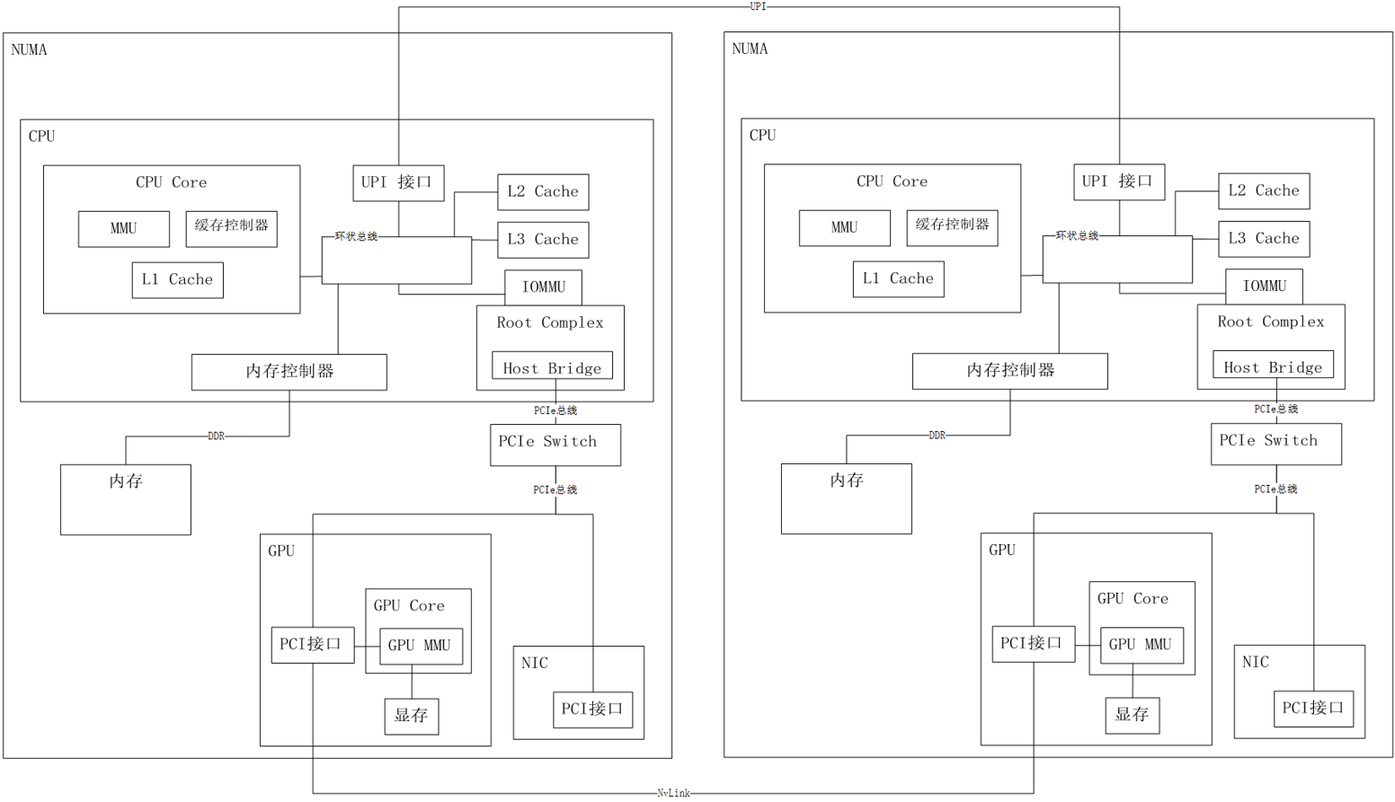
学习笔记——PCIe

上图是一个采用NUMA架构的PCIe计算机硬件系统结构。为了方便理解,CPU的结构是基于Intel的Sky Lake架构抽象得到,主要表达CPU内部各个硬件电路的关系,并非硬件实际电路结构。GPU为PCIe版GPU,并且两个NUMA节点下的GPU使用的是NvLink桥接器进行直接连接。此外,假设操作系统为Linux 64位操作系统在这样一个计算机系统中,总共有三个地址空间:虚拟地址空间,物理地址空间,PCIe总线地址空间
原创
发布博客 2024.05.15 ·
1751 阅读 ·
39 点赞 ·
2 评论 ·
37 收藏

MSCCL:如何运行自定义集合通信算法

使用MSCCL需要输入自定义的集合通信算法,自定义的算法需要以MSCCL规定的表示存在XML文件里,也就是MSCCL_XML_FILES环境变量指定的XML文件。 也就是说,如果想自己设置集合通信算法,并在GPUs上运行,总共分为以下几步: ① 克隆MSCCL到本地,然后按照GitHub上给的指南进行编译 ② 按照MSCCL规定的格式撰写XML文件 ③ 设置MSCCL_XML_FILES环境变量为XML文件所在的路径,并且设置NCCL_
原创
发布博客 2024.04.19 ·
1162 阅读 ·
17 点赞 ·
4 评论 ·
9 收藏

学习笔记——GPU

本文为学习笔记,故只对知识点依据自己的理解作概要总结,方便以后复习激活记忆。内容主要包括:GPU硬件结构和GPU通信方式注:本文中GPU的讲解以A100型号为例,V100跟A100的架构差别不大也可适用,但是其他架构可能会有所出入。
原创
发布博客 2023.10.28 ·
1775 阅读 ·
26 点赞 ·
4 评论 ·
22 收藏