计算机毕设Java基于java的小区物业管理系统867449 (配套有源码 程序 mysql数据库 论文)
本套源码可以在文本联xi,先看具体系统功能演示视频领取,可分享源码参考。
随着城市化进程的加速,小区物业管理的复杂性与日俱增。传统的手工管理模式不仅效率低下,而且容易出现信息丢失、更新不及时等问题。为了满足现代小区对高效、精准管理的需求,开发一套基于Java的小区物业管理系统显得尤为重要。该系统利用Java语言的强大功能和稳定性能,结合MySQL数据库的高效数据处理能力,为小区物业管理提供了一种全新的解决方案。
本系统的核心功能涵盖了小区物业管理的各个方面,具体包括:
-
个人中心管理:用户可以查看和修改个人信息,方便快捷地管理个人资料。
-
用户管理:支持对小区居民信息的添加、删除、修改和查询,实现人员信息的动态管理。
-
租房信息管理:记录房屋出租状态,包括租金、租期、租户信息等,方便物业管理。
-
合同信息管理:管理租赁合同,包括合同条款、生效日期、失效日期等,确保合同管理规范化。
-
车位信息管理:记录车位的基本信息,如车位编号、位置、状态等,方便车位分配。
-
车位租赁管理:处理车位租赁业务,包括租金计算、租赁期限管理等。
-
门禁卡办理管理:支持门禁卡的申请、发放和管理,确保小区安全。
-
门禁卡信息管理:记录门禁卡的使用状态、登记日期等信息。
-
费用信息管理:管理各类费用的缴纳情况,如物业费、水电费等,支持费用查询和审核。
-
系统管理:包括公告发布、系统配置等功能,提升管理效率。
通过这些功能的实现,本系统不仅能够有效提升小区物业管理的效率和准确性,还能为居民提供更加便捷的服务体验。整体而言,该系统为小区物业管理提供了一个全面、高效、易用的信息化平台,是现代小区管理不可或缺的工具。
注:以上是纯课题毕业设计功能介绍,并非实际开发完成,最终开发完成的毕业设计程序以下面的的环境软件、功能图和界面为准。
系统所需要的环境软件:idea、eclipse+mysql5.7、8.0+Navicat+JDK1.8+tomcat7.0
3.1整体分析
系统的分析主要分为两种,一种是需求分析,需求分析的意义在于能更快地把这个系统的架构逻辑都整理分析清楚,另一种是功能分析,功能分析的意义在于分析如何更快地处理整个系统的细节部分。
根据查阅资料分析,小区物业管理系统主要是每个内部使用,为使用者提供可视化的小区物业来支撑服务。该管理系统的设计与实现主要是为了解决当前小区物业管理繁杂的问题,实现高效率的规范化管理。本系统的设计实现不仅要满足当前的需要,还需具备良好的可发展性以满足未来发展的需要。
本系统通过分模块设计,主要实现个人中心、用户管理、租房信息管理、合同信息管理、车位信息管理、车位租赁管理、门禁卡办理管理、门禁卡信息管理、费用信息管理、系统管理等的一体化管理。此外,该系统属于B/S结构,简单易上手,只需体验几次,用户就可以很熟练地使用各种功能。
3.2功能需求分析
小区物业是现如今社会信息交流中一个重要的组成部分,本文将从小区物业管理的需求和现状进行分析,使得本系统的设计实现具有可使用的价。做出一个实用性好的小区物业管理系统,使其能满足用户的需求,并可以让用户更方便快捷地管理小区物业。小区物业管理系统的设计开发,目的主要是为了简化小区物业的管理过程,使管理员更好地完成工作,在工作中实现高效快捷的管理效率。
本文从小区物业管理的实际需要出发,为降低系统的耦合性,采用SPRINGBOOT框架集完成了系统总体架构的设计,以提高系统的重用性、可适用性及可维护性。系统包括管理员和用户两个角色;
管理员用例如下所示:
图3-1 管理员用例图
用户用例如下所示:
图3-2 用户用例图
3.3 系统可行性分析
3.3.1技术可行性
技术可行性研究通过是否,在于对目前技术和硬件设备的剖析。系统软件开发应用的计算机语种是Java。Java语言从问世到现在不断强化,已经十分完善。运用覆盖面广,合乎开发必须。应用MySQL数据库作为数据储存,十分具有安全性,对配备规定低。这是一个经常使用的数据库。前端采用Java技术,就可以进行开发设计,让网页页面看上去又漂亮又大方,还方便维护。最终,开发环境是IDEA,因为其中包含框架和函数等等,可以立即应用。因此在技术方面是可行的。
3.3.2经济可行性
经济发展的可行性分析要从开发商的经济发展能力和用户必须的成本费2个层面来剖析。为了更好地减少项目成本,系统软件应用IDEA做为开源版本。数据库查询是开源MySQL数据库和配置好操作系统的电子计算机。用户通常挑选Tomcat 7.0做为系统软件所处的网络服务器,而电脑浏览器应用出色的IE、火狐和Google更全方位地展现CSS网页页面,进而推动系统升级维护保养,控制成本。如此看来,处于经济层面的考虑,进行开发没有阻碍。
3.3.3操作可行性
本小区物业管理系统选用B/S构造,用户不用安装其他软件就可以轻轻松松掌握和娴熟应用。与此同时,因为系统是基于springboot的,可以实现客户端的请求和服务器的端口组件,解决数据库文件的数据并回到结论。为了更好地组建和储存数据,数据库可以确保数据的一致性。一旦对数据开展操作,工作会越来越更简易,工作量也会降低。全部操作都由系统自身操纵。该系统大大减少了有关工作人员的工作量,也更便捷的让工作人员掌握具体操作全过程。既加速了工作效率,又下降了错误率。在操作上是可行的。
经过总结,该系统在经济、技术和操作方面都符合要求,并且是具有可行性的。
3.4系统流程分析
3.4.1操作流程
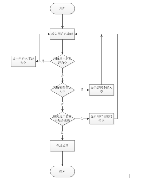
首先为系统登录页面。进入页面后,用户可进行登录和注册的操作。点击登录后,页面就会出现一个登录提示框,向用户传达信息:要进行用户名和密码的输入,完成后才可以进行下一步的操作。用户输入完成后,系统会将输入的信息提交给后台,与数据库中的信息记录进行比较判断。判断比较内容主要分为三个方面:从用户名是否为空、输入的密码是否为空、用户名和密码是否匹配三方面进行判断。只有上述三个条件同时满足,数据库中的信息匹配正确,才视为登陆成功,方可完成后续的操作。若以上三种情况有一条不满足,则会提示该次登录错误,就需要进行重新登录。系统登录流程图如图3-3所示:
图3-3登录流程图
3.4.2添加信息流程
然后是添加信息的页面。进入该页面后,页面会出现一个提示框,示意操作者可以进行信息的添加,从而进行下一步的操作。用户输入想要添加的信息后提交,系统会对输入的内容进行检测。如果检测后输入的信息正确,则会出现“添加成功”的提示框,从而可以进行下一步操作;如果系统检测后检测到想要添加的信息不符合规范要求,则会提示报错,需要进行修改后重新添加。添加信息流程图如图3-4所示:
图3-4添加信息流程图
3.4.3删除信息流程
最后为删除信息页面。进入该页面后,用户可以对所要删除的信息进行选择,选择好删除的内容后,会有一个“是否确认删除”的提示框,操作者可以根据自己的意愿来选择“是”或“否”。完成上述操作,系统会自动的对删除的内容进行判断,如果符合删除要求则会成功删除数据记录,并且更新数据库的内容信息;如果删除的数据记录不符合要求,则会有一个“删除失败”的提示框,操作人员需要根据提示来进行修改,修改完成后重新删除知道删除成功。删除信息流程图如图3-5所示:
图3-5删除信息流程图
4 系统设计
4.1 系统体系结构

图4-1系统结构
登录系统结构图,如图4-2所示:

图4-2登录结构图
4.2 系统总功能结构设计
系统按照用户的实际需求开发而来,贴近生活。从管理员通过正确的账号的密码进入系统,可以使用相关的系统应用。管理员总体负责整体系统的运行维护,统筹协调。
系统整体模块设计:系统分为管理员和用户两大角色,系统管理员有最大的权限,总体功能展示如图4-3所示。

图4-3 系统总体功能图
4.3 数据库设计
数据库设计(Database Design)是针对特定的数据库管理体系,针对特定的数据库进行结构和构建的流程。
在信息系统的开发与推荐中,数据库的设计是实现数据库与应用的关键技术。因为数据库应用系统的复杂性,使得数据库的开发工作非常复杂,所以优化的设计不是一朝一夕就可以完成的,而是一个“循序渐进”的过程,即将数据库中的数据目标和它们的相互关系进行计划和组织。
通过对小区物业管理系统的主要功能信息进行规划并分为若干功能实体信息[14],实体信息将使用E-R图加以表示,本系统的主要功能实体图如下图所示:

图4-4公告信息实体属性图

图4-5门禁卡信息实体属性图

图4-6费用信息实体属性图

图4-7门禁卡办理实体属性图

图4-8车位信息实体属性图
5.1系统功能实现
当人们打开系统的网址后,首先看到的就是首页界面。在这里,人们能够看到系统的导航条,通过导航条导航进入各功能展示页面进行操作。系统首页界面如图5-1所示:

图5-1 系统首页界面
系统注册:在系统注册页面的输入栏中输入用户注册信息进行注册操作,系统注册页面如图5-2所示:

图5-2系统注册页面
房屋信息:在房屋信息页面的输入栏中输入房屋名称、房型结构和所在楼层进行查询,可以查看到房屋详细信息,并根据需要进行租房或查看详情等操作;房屋信息页面如图5-3所示:

图5-3房屋信息详细页面
车位信息:在车位信息页面的输入栏中输入车位编号和选择车位状态进行查询,可以查看到车位详细信息,并根据需要进行租赁或查看详情等操作,车位信息页面如图5-4所示:

图5-4车位信息详细页面
5.2后台模块实现
后台用户登录,在登录页面选择需要登录的角色,再正确输入用户名和密码后,进入操作系统进行操作;如图5-5所示。

图5-5 后台登录界面
5.2.1管理员模块实现
管理员进入主页面,主要功能包括对个人中心、用户管理、租房信息管理、合同信息管理、车位信息管理、车位租赁管理、门禁卡办理管理、门禁卡信息管理、费用信息管理、系统管理等进行操作。管理员主页面如图5-6所示:

图5-6 管理员主界面
管理员点击用户管理。在用户页面输入用户姓名进行查询、新增或删除用户列表,并根据需要对用户详情信息进行详情、修改或删除操作;如图5-7所示:

图5-7用户管理界面
管理员点击房屋信息管理。在房屋信息页面输入房屋名称、户型结构和所在楼层进行查询、新增或删除房屋信息列表,并根据需要对房屋详情信息进行详情、修改或删除操作;如图5-8所示:

图5-8房屋信息管理界面
管理员点击租房信息管理。在租房信息页面输入房屋名称、用户名和选择是否通过进行查询或删除租房信息列表,并根据需要对租房详情信息进行详情、合同、修改或删除操作;如图5-9所示:

图5-9租房信息管理界面
管理员点击合同信息管理。在合同信息页面输入房屋名称、用户名和选择是否通过进行查询或删除合同信息列表,并根据需要对合同详情信息进行详情、修改或删除操作;如图5-10所示:

图5-10合同信息管理界面
管理员点击车位租赁管理。在车位租赁页面输入车位编号、用户名和选择是否通过进行查询或删除车位租赁列表,并根据需要对车位租赁详情信息进行详情、修改或删除操作;如图5-11所示:

图5-11车位租赁管理界面
管理员点击门禁卡办理管理。在门禁卡办理页面输入用户名和选择是否通过进行查询或删除门禁卡办理列表,并根据需要对门禁卡办理详情信息进行详情、门禁卡、修改或删除操作;如图5-12所示:

图5-12门禁卡办理管理界面
管理员点击费用信息管理。在费用信息页面输入缴纳月份、选择费用类型、用户名和是否通过进行查询、新增或删除费用信息列表,并根据需要对费用详情信息进行详情、修改或删除操作;如图5-13所示:

图5-13费用信息管理界面
管理员点击系统管理。在公告信息页面输入标题进行查询、新增或删除公告信息列表,并根据需要对公告详情信息进行详情、修改或删除操作;还可以对轮播图管理进行详细操作;如图5-14所示:

图5-14系统管理界面
5.2.2用户模块实现
用户进入系统后台可以对个人中心、租房信息管理、合同信息管理、车位租赁管理、门禁卡办理管理、门禁卡信息管理、费用信息管理等功能进行操作。用户后台页面如图5-15所示:

图5-15 用户主界面
源码无偿分享,文未领取
4955

被折叠的 条评论
为什么被折叠?



