运行环境:jdk7/8+tomcat7/8+mysql5-7
技术:springboot(spring+springMVC+myibats)+pegehelper+jq+css+bootscrap
用户角色分为:管理员、员工
登录页面(输入工号、密码、选择角色进行登录)下面有登录键、忘记密码键
管理员可以对员工信息管理(录入、删除、修改 、查询(有搜索框输入职工号或者姓名直接找到该员工) ),员工信息包括职工号、姓名、性别、年龄、所属部门
管理员可以对部门管理(增删改查)
管理员可以修改账号及密码
管理员对通知公告信息管理(发布公告(管理员在平台发布公告员工登录自己账号可以看到公告) 修改、删除公告 )
考勤管理:①审核员工申请的请假、出差
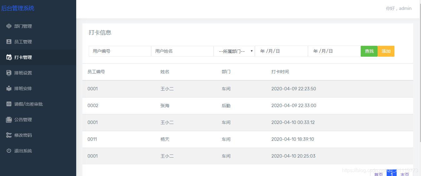
②查询员工的上下班打卡时间(有搜索框输入日期查询到这一天上班员工的上下班打卡时间、还可以输入员工姓名查询该员工的最近上班打卡时间),可以查看某个员工一个月的打卡日历记录,方便统计,也可以按月查询日历,或者查询打卡历史记录
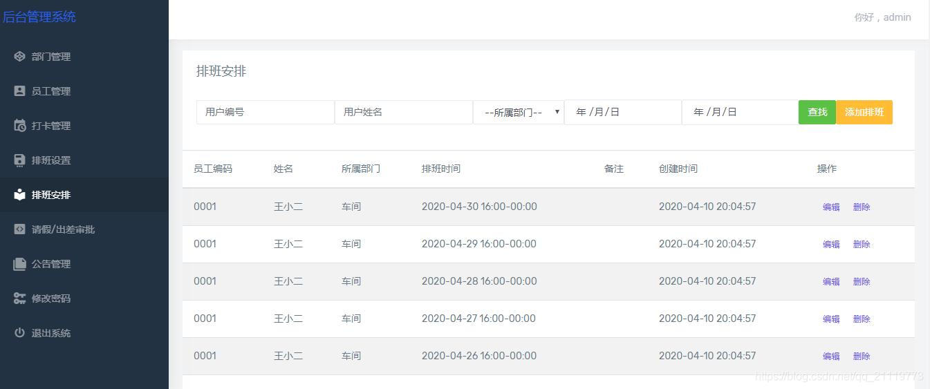
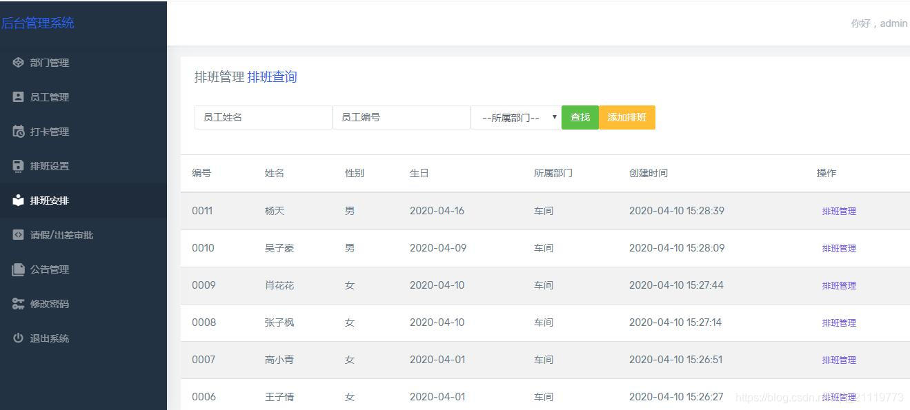
排班管理:添加员工时可以利用搜索,添加时间时弹出日历,排版方式有三种,按月排班,按天排班,按某一天的时间排班,可以选择系统排班参数早班,晚班,午般,也可以自定义排班时间,很灵活。也有增删改查功能,排成功的班表以天为单位分开。排班时用到一种算法,当有冲突时可以提示,(如:该员工今天已请假或者已出差已排班)。可以查看某个员工一个月的排班日历情况,方便统计,也可以按月查询日历,或者查询排班历史记录
员工页面:可以修改我的的密码、查看我的的信息、查看我的排班、申请请假 出差、查看公告、每天上下班可以打卡(打卡时间录入系统自己和管理员都可以查询到)
如有需要请联系我扣扣1913284695
项目演示视频: 【企业排班人脸识别打卡-杰凡IT】 https://www.bilibili.com/video/BV1iU4y1p79j?share_source=copy_web&vd_source=ed0f04fbb713154db5cc611225d92156
部分截图如下:


















463

被折叠的 条评论
为什么被折叠?



