1、SRX340: 1U
1)SRX340业务网关将安全服务、路由、交换和WAN连接性整合到一个1U设备中,能够安全地连接最多100个用户的中型分布式企业。SRX340是一种经济高效的集成化网络和安全平台,最多支持3Gbps防火墙和500Mbps Ipsec VPN
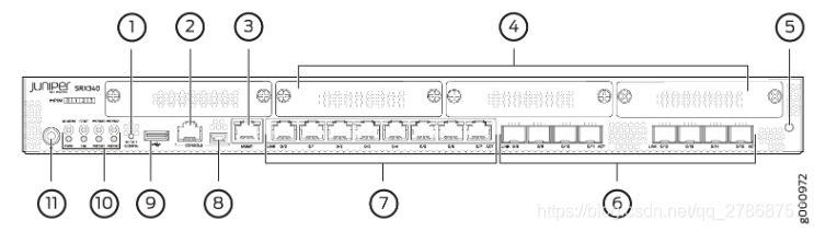
2)设备介绍
前板卡:

1 )重置配置按钮、2 )8): 控制台端口 3)管理接口(MGMT)4)小型PIM插槽:4个Mini-PIM插槽可用于提供LAN和WAN功能以及与各种媒体类型的连接。
5)ESD point :释放静电 6): 1G SFPd端口: 用于网络流量的8个1 G小型可插拔(SFP)端口。 7)1G以太网端口(RJ-45):八个千兆以太网LAN端口(0/0到0/7)
9)USB端口: 10):LEDS:指示灯 11):电源按钮
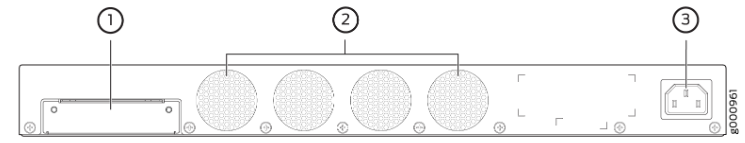
后板卡:

1 SSD插槽: 2)风扇 3)电源接入
3)参数:
SRX340服务网关支持以下小型PIM:(四种)不支持热插拔
1端口串行微型物理接口模块(SRX-MP-1SERIAL-R)
1端口T1 / E1微型物理接口模块(SRX-MP-1T1E1-R)
1端口VDSL2(附录A)迷你物理接口模块(SRX-MP-1VDSL2-R)
LTE迷你物理接口模块(SRX-MP-LTE-AE和SRX-MP-LTE-AA)
注意:SRX340服务网关不支持千兆位背板物理接口模块(GPIM)
2、SRX550: 2U
1)前面板:

10个固定以太网端口(6个10/100/100兆,4个SFP)2个微型PIM插槽,6个GPIM插槽或多个GPIM和XPIM
注意:警告SRX550服务网关不支持GPIM的热插拔功能。在安装双高双宽XPIM之前,请先卸下GPIM适配器。
2)后面板:

1)电源插槽 2)ACE插槽 3)接地点 4)存储插槽 5)静电放电(ESD)插座 6)空气过滤器盖

2)参数:
支持T1/E1,串行,ADSL2/2+, VDSL, G。SHDSL, DS3/E3,千兆以太网端口;支持多达52个以太网端口,包括SFP;40个可选PoE切换端口,包括802.3at, PoE+,向后兼容802.3af (或50个非poe 10/100/1000铜端口),10GbE
内容安全加速器硬件更快的性能IPS和ExpressAV
全utm1;防病毒1,反垃圾邮件1,增强的网络过滤1,和内容过滤
入侵防御系统1,基于用户角色的防火墙,并应用安全
用于保护免受命令和控制(C&C)僵尸网络、Web应用程序威胁、高级恶意软件和基于地理ip数据的策略实施的威胁情报
2 GB DRAM默认,2 GB compact flash默认(SRX550)
4 GB DRAM默认,8 GB compact flash默认(SRX550高内存)
可选配冗余交流电源;标准交流电源,是PoE-ready;PoE可提供250瓦的单电源或500瓦的双电源
SRX650:2U
1)

4个固定端口10/100/1000以太局域网端口,8个GPIM插槽或多个GPIM和XPIM组合
后面板:

1)电源插槽 2)多用途处理槽号SRE 1 3)服务和路由引擎(SRE)插槽号SRE 0 4)风扇盘 5)空气过滤器

注意:GPIM是可热插拔的。GPIM类型与SRX550一样
2)参数
支持T1、E1、DS3/E3、以太网端口;支持多达52个以太网端口,包括SFP;48个可选PoE开关端口,包括802.3at, PoE+,向后兼容802.3af(或52个非PoE 10/100/1000铜端口),10GbE
内容安全加速器硬件更快的性能IPS和ExpressAV.
全utm1;防病毒1,反垃圾邮件1,增强的网络过滤1,和内容过滤
入侵防御系统1,基于用户角色的防火墙,AppSecure 1
用于保护免受命令和控制(C&C)僵尸网络、Web应用程序威胁和高级恶意软件的威胁情报,以及基于地理ip数据的政策执行
模块化服务和路由引擎;未来的内部故障转移和热交换
2 GB DRAM默认,2 GB compact flash默认,用于额外存储的外部compact flash插槽
可选配冗余交流电源;标准交流电源,是PoE-ready;PoE可提供250瓦的单电源或500瓦的双电源
<<面向分支办事处的SRX系列业务网关.pdf>>
3、SRX1500:
看官网
4、SRX4100:
前面板;

1)管理端口 2)usb端口 3)HA端口:两个1千兆以太网/万兆以太网端口,CTL(控制端口)和FAB(结构端口),用于在机箱集群设置中同步数据和维护状态信息。这些端口支持增强型小型可插拔(SFP +)收发器。 4)SFP端口:8个千/万以太网SFP+端口 用于网络流量。 5 指示灯: 6)控制端口 7)复位按钮:恢复出厂默认配置
后面板:

power(功率)/Status(状态)/SSD
1)接地点 2)开关按钮 3)报警关闭按钮 4)ESD点 5)风扇:四个 6)电源:2个
参数:
<<SRX4100.pdf>>
5、SRX5400:
1)前面板:

SCB:控制板:安装路由引擎卡的母卡
SPCs:服务处理卡(SPC)是常见的外形模块(CFM)卡,可提供运行集成服务(如防火墙,IPsec和IDP)的处理能力。遍历服务网关的所有流量都将传递给SPC,以便对其应用服务处理。流量由网络处理卡(NPC)智能地分发到SPC以进行服务处理,包括基于策略的会话设置,与会话匹配的数据包的快速数据包处理,加密和解密以及IKE协商。
服务网关必须至少安装一个SPC。您可以安装其他SPC以提高服务处理吞吐量。
MPC: 一张MPC卡可以安装二张MIC卡。 MPC与MIC卡 母卡与子卡得关系。
RE:路由引擎
2)后面板

3)以下类型的卡可用于SRX5400,SRX5600和SRX5800服务网关:
I / O卡(IOC)为服务网关提供额外的物理网络连接。它们的主要功能是将到达物理端口的数据包传送到服务处理卡(SPC),并在服务处理后将数据包转发出物理端口。
Flex IOC具有两个用于端口模块的插槽,用于向服务网关添加额外的物理网络连接。与IOC一样,它们的主要功能是将到达物理端口的数据包传送到SPC,并在服务处理后将数据包转发出物理端口。
模块化端口集中器(MPC)的前面板上有插槽,可以接受称为模块化接口卡(MIC)的小型卡。每个MIC上都有一个或多个物理接口。具有MIC的MPC安装功能与常规I / O卡(IOC)相同,但允许更灵活地向服务网关添加不同类型的以太网端口。MPC和MIC在形式和功能上与Flex IOC和端口模块类似。但是,两者使用不同的外形因素,因此您无法在MPC中安装端口模块,也无法在Flex IOC中安装MIC。
服务处理卡(SPC)提供运行集成服务(如防火墙,IPsec和IDP)的处理能力。遍历服务网关的所有流量都将传递给SPC,以便对其应用服务处理。
开关控制板(SCB)上电和断电IOC和SPC; 控制时钟和系统复位; 并控制启动,监视和系统功能。每个SCB在前面板中都有一个用于路由引擎的插槽。
4)适用于某些SRX5400,SRX5600和SRX5800服务的以下模块网关卡:
路由引擎适合SCB中的插槽并维护路由表,管理设备上使用的路由协议,控制设备接口和一些机箱组件,并提供用于系统管理和用户访问设备的接口。
端口模块适合Flex IOC中的插槽,并为服务网关添加其他物理网络接口端口。
模块化接口卡(MIC)适合MPC中的插槽,并为服务网关添加额外的物理网络接口端口。MPC和MIC在形式和功能上与Flex IOC和端口模块类似。但是,两者使用不同的外形因素,因此您无法在MPC中安装端口模块,也无法在Flex IOC中安装MIC。
5)具体参数:
<<SRX5000.pdf>>
本文概述了SRX系列网络设备,包括SRX340、SRX550、SRX650、SRX1500、SRX4100和SRX5400的特点和参数。SRX340是一款经济高效的1U设备,适用于中型分布式企业,提供高达3Gbps的防火墙和500Mbps的Ipsec VPN。SRX550和SRX650分别提供2U的解决方案,支持多种网络接口和高速处理。SRX1500和SRX4100进一步增强了网络能力和安全性。SRX5400作为高端平台,具备高度可扩展性和复杂的服务处理能力。
1316

被折叠的 条评论
为什么被折叠?



