1.Set接口简介
- Set接口和List接口一样,同样继承自Collection接口,它与Collection接口中的方法基本一致,并没有对Collection接口进行功能上的扩充,只是比Collection接口更加严格了。
- 与List接口不同的是,Set接口中元素无序,并且都会以某种规则保证存入的元素不出现重复。
- Set接口主要有两个实现类,分别是HashSet和TreeSet。其中,HashSet是根据对象的哈希值来确定元素在集合中的存储位置,具有良好的存取和查找性能。TreeSet则是以二叉树的方式来存储元素,它可以实现对集合中的元素进行排序。
2.Set接口

2.1TreeSet集合
HashSet集合存储的元素是无序的和不可重复的,为了对集合中的元素进行排序,Set接口提供了另一个可以对HashSet集合中元素进行排序的类——TreeSet。

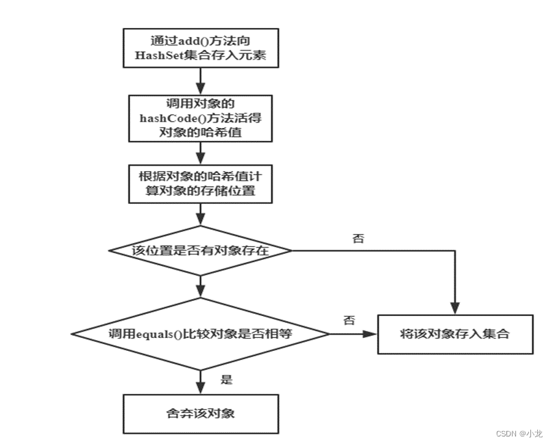
2.2 HashSet接口简介
HashSet存储元素的流程如下图。






被折叠的 条评论
为什么被折叠?



