背景
在老大带领下拿到shell,内网环境。了解可以通过端口转发工具实现内网端口转发到公网。本来打算了解lcx工具,可老大说这工具太老了所以用frp。
下载
这里工具用到GitHub大佬fatedier:https://github.com/fatedier/frp/releases
服务器

客户端

环境配置
服务器:
服务器我用的是腾讯云的linux操作系统,所以将下载的frp_linux上传到服务器。
设置映射端口:
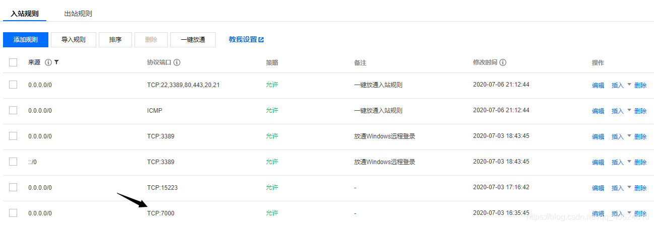
编辑frps.ini:这里的7000端口是用来和客户端连接的,客户端服务端都要设置成一样的

注意:要在腾讯云安全组里设置规则放行7000 端口,否则连接无法建立
注意:关闭服务器防火墙否则无法建立,在服务器运行下列代码。
service firewalld stop

至此配置完成,在frps目录下启动服务端:
./frps -c ./frps.ini
客户端:
配置frp文件:
编辑frpc.ini:
这里的server_addr为公网ip 端口要和服务器的7000保持一致,下面是自己添加的映射规则。

如果要具体设置其他,可以看frp官方文档。设置好后,保存,在该目录,终端执行一下三个命令之一都行。
./frpc -c ./frpc.ini
frpc.exe
./frpc.exe
3389端口没转发成功,尝试了下将内网的80端口转发到公网2222端口。其中custom_domains为我服务器解析的域名。
frpc.ini 配置

frps.ini配置:

这是我们没转发前在虚拟机客户端浏览本地80端口

运行服务端和客户端:


然后我们成功将内网80端口转发到了公网,访问公网的2222端口就可以看到内网80端口的页面。

其实这没啥卵用,后面弄出来实用的再加上吧



8817

被折叠的 条评论
为什么被折叠?



