一、复制传播
复制传播(copy propagation)是一种转换,对于给定的关于变量 x x x和 y y y的赋值 x ← y x\leftarrow y x←y,这种转换用 y y y来代替后面出现的 x x x的引用,只要在这期间没有指令改变 x x x或 y y y的值。
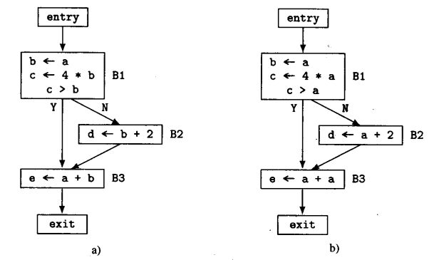
如下图a的CFG所示,基本块B1中的指令
b
←
a
b\leftarrow a
b←a是一个复制赋值。在这条指令,
a
a
a和
b
b
b都没有再被赋值,因此
b
b
b的所有使用都可以用
a
a
a来代替,图b是对图a做复制传播的结果。

正是因为复制传播的优化操作,使得
b
b
b成为无用代码(没有在其他的指令操作数中引用),死代码删除时可以将
b
←
a
b\leftarrow a
b←a删除。并且当
a
a
a是整数值时,这个替换还使得用移位而不是加法来计算赋给
e
e
e的值成为可能(
e
←
a
+
a
e\leftarrow a + a
e←a+a 变成
e
←
a
<
<
1
e\leftarrow a << 1
e←a<<1)。
二、Golang 中的应用
Golang中复制传播优化其实就是消除Copy指令,以下是Go编译器对某个代码段编译生成的SSA IR摘选:
b1:-
...
Plain → b2 (5)
b2: ← b1 b4-
v9 (5) = Phi <int> v8 v16 (i[int])
v22 (8) = Phi <int> v7 v14 (r[int])
v10 (5) = Copy <int> v6 (n[int])
v11 (+5) = Leq64 <bool> v9 v10
If v11 → b3 b5 (likely) (5)
b3: ← b2-
v12 (6) = Copy <int> v22 (r[int])
v13 (6) = Copy <int> v9 (i[int])
v14 (+6) = Add64 <int> v12 v13 (r[int])
Plain → b4 (6)
编译器在中间代码生成和优化阶段,不可避免的会生成一些复制的指令,如上面b3块中的copy v22 to v12,copy v9 to v13。消除Copy指令的操作会遍历所有IR,迭代找到Copy指令的最终引用,将其替换到合适的位置。
下列v14 = Add64 v12 v13,引用参数v12和v13会分别替换为其指令的参数v22和v9。而v12和v13这两条指令如果在其他地方都没有引用,它将变成死代码,会在后续的死代码删除优化(以后会写文章来讲解)中将其消除。
v12 (6) = Copy <int> v22 (r[int])
v13 (6) = Copy <int> v9 (i[int])
v14 (+6) = Add64 <int> v12 v13 (r[int])
Copy 指令消除后 ==>
v12 (6) = Copy <int> v22 (r[int])
v13 (6) = Copy <int> v9 (i[int])
v14 (+6) = Add64 <int> v22 v9 (r[int])
三、具体实现
消除Copy指令的实现逻辑在src/cmd/compile/internal/ssa copyelim.go中,由三个函数来完成。
copySource(v *Value)函数,从Copy指令的参数迭代查找,直至找到第一个非Copy的操作,并将其返回。形如:
for w.Op == OpCopy {
w = w.Args[0]
}
对于下列代码块,copySource(v2)返回v0。
v0 = Def...
v1 = Copy v0
v2 = Copy v1
v3 = Add64 v2 v0
Copy的引用链路可能会形成一个环,比如在一些特殊的情况下,会出现以下情况。这在迭代时就要考虑如何处理这种情况的发生,copySource函数采用了快慢指针来判断是否存在环。如果有环存在,说明这一系列操作是存在歧义的,copySource会将快慢指针的交汇点修改成Unknown,其也将会变成死代码。
v0 = Copy v2 // copy v1也是一个环
v1 = Copy v0
v2 = Copy v1
v3 = Add64 v2 v0
迭代一旦完成,copySource(v *Value)的参数v的指令参数将会被设置成Copy链的第一个非Copy指令值。如下列代码v2的引用参数v1变成了v0,剩下的v1如果在其它地方没有引用,将会变成死代码。
v0 = Def...
v1 = Copy v0
v2 = Copy v1 => v2 = Copy v0
v3 = Add64 v2 v0
copyelimValue(v *Value) 函数,这个函数确保指令v的所有参数都不是Copy指令。它遍历一个指令的所有参数,如果参数a是Copy,则调用copySource(a)找到Copy链第一个非Copy指令,并用其替换参数a。
v0 = Def...
v1 = Copy v0
v2 = Copy v1
v3 = Add64 v2 v0
调用copyelimValue(v3)后 =>
v0 = Def...
v1 = Copy v0
v2 = Copy v0
v3 = Add64 v0 v0
copyelim(f *Func)函数,它遍历函数中的每个基本块,然后遍历每个基本块中的每个值,并调用copyelimValue函数,该函数确保每个值的参数都不是Copy的结果。
本文介绍了复制传播在编程语言优化中的应用,特别是在Golang中的体现,如消除Copy指令以提高效率。通过实例展示了优化过程,包括查找Copy指令的最终引用和处理可能的循环引用,以及具体实现函数如copySource、copyelimValue和copyelim的运作方式。

1153

被折叠的 条评论
为什么被折叠?



