泉水
1 常用半导体器件
1.1 半导体基本知识
1.1.3 PN结
PN结具有单向导电性。
- P中多空穴
- N中多电子
在PN连接处,电子和空穴结合,形成一个耗尽区。
- P失去空穴,显负电
- N失去电子,显正电
此时,耗尽区形成一个N指向P的内电场。

给PN结加正向电压,即正连P,负连N,与内电场方向相反,抵消内电场,耗尽区减小。电流导通。

给PN结加反向电压,即正连N,负连P,与内电场方向相同,助纣为虐,耗尽区扩大。电流不导通。

。
1.2 二极管
1.2.1 钳位二极管
钳位电路,IO的输出保护,防止过压损坏芯片。

○ 将Ub的电压限制在[GND,VDD]中
○ 假设正向导通压降是Ud
○ 当Ub-VDD>Ud时,上二极管导通,Ub=UDD+Ud
○ 当GND-Ub>Ud时,下二极管导通,Ub=GND-Ud
○ 反之,两个二极管同时截止。也就是
当GND-Ud<Ub<UDD+Ud,处于正常工作状态。
1.2.2 续流二极管
续流二极管是一种具有特定结构和工作原理的二极管。与普通二极管相比,续流二极管具有附加的掺杂区域,用于实现正向电流的续流。

续流二极管可以看作是一个普通二极管和一个储能元件(如电容器)的组合。
- 当续流二极管被正向偏置时,储能元件会存储电荷,在反向偏置时释放电荷。
- 这种储能和释放过程使得续流二极管能够延长正向电流的持续时间,从而将交流信号转换为近似于直流的信号。
续流二极管在正向偏置区域添加了一个附加的掺杂区域,即续流区。
- 这个续流区使得续流二极管能够存储电荷并延长正向电流的持续时间。
1.2.3 稳压二极管
稳压电路:用于消除由于电网电压波动或负载改变对其产生影响,使其输出电压平稳。
1.3 晶体三极管
1.3.1 晶体管的结构及类型
晶体管就是在一片硅片上制造出三个掺杂区域,并形参两个PN结。
实物图:

1.3.2 晶体管的电流放大作用
三极管有三个不同电极,如图b(基集)、c(集电极)、e(发射集)
- 基极:用于激活晶体管。(名字的来源,最早的点接触晶体管有两个点接触放置在基材上,而这种基材形成了底座连接。)
- 集电极:三极管的正极。(因为收集电荷载体)
- 发射极:三极管的负极。(因为发射电荷载流子)


不同:
- NPN 是用 B→E 的电流(IB)控制 C→E 的电流(IC),E极电位最低,且正常放大时通常C极电位最高,即 VC > VB > VE
- PNP 是用 E→B 的电流(IB)控制 E→C 的电流(IC),E极电位最高,且正常放大时通常C极电位最低,即 VE > VB > VC
三极管具有三个工作状态/区域:截止区,放大区,饱和区。
- 三极管被用作开关时,需要工作在截止区和饱和区
- 如果工作在放大区,则满足IC=β*IB这个关系,这也是三极管具有放大电流作用的原因
NPN三极管:
- Vb<Ve (截止状态)
- Vc>Vb>Ve(放大状态)
- Vb>Ve Vb>Vc (饱和状态)
PNP三级管:
- Vb>Ve (截止状态)
- Vc<Vb<Ve(放大状态)
- Vb<Ve Vb<Vc(饱和状态)
截止状态:

放大状态:

饱和状态:

1.4 场效应管
场效应管FET是利用输入回路的电场效应来控制输出回路电流的一种半导体器件。
- 电场效应:
场效应管分为结型和绝缘栅型两种不同的结构。
1.4.1结型场效应管
结型场效应管又分为n沟道型和p沟道型。

图1.4.1是一个n沟道型的场效应管。右侧是其符号图。
- G为栅极,也称门gate。
- D为漏极
- S为源极
结构示意图如下图所示。

P和n之间形成了一个耗尽层。而在漏极与源极之间的非耗尽层区域称为导电沟道。
1.4.2绝缘栅型场效应管 MOS管
绝缘栅型场效应管的栅极与源极、栅极与漏极之间均采用二氧化硅绝缘层隔离,因此得名。
- 与结型场效应管相比。 Mos管的栅极与源极之间的电阻大得多,可以达10的10次方欧姆以上。
- 由于MOS管的温度稳定性好,工艺简单,广泛的应用于大规模集成电路中。
MOS管也分为n沟道和p沟道两类,但每一类又分为增强型与耗尽型两种,因此mos管有4种类型。
- N沟道和p沟道最主要的区别就在于衬底的类型不一样,N沟道是p型衬底,p沟道是n型衬底。。
- 在栅极和源极之间的电压为零时的漏极电流为零,管子为增强型管。
- 在栅极和源极之间的电压为零时,漏极电流不为零的管子属于耗尽层管。
一、N沟道增强型mos管

上图中衬底为P形低掺杂的硅片。
栅极和衬底各相当于一个极板,中间是绝缘层形成电容。
当栅极和源极的电压发生变化时,将改变衬底靠近绝缘层处感应电荷的多少,从而控制漏电流的大小。
- 工作原理
- 当栅极和源极不加电压时,漏级和源级之间只是两个背向的pn结,不存在导电沟道。因此即使漏极和源极之间加电压,也不会有漏电流。
- 当
u
G
S
u_{GS}
uGS大于门限值
U
G
S
(
t
h
)
U_{GS(th)}
UGS(th)时,若在ds之间加一个正向电压,则将产生一定的漏电流。
- 当 u d s u_{ds} uds较小,随着它的增大则漏电流线性增大。沟道沿着源极到漏极的方向逐渐变窄。
- 当 u d s u_{ds} uds继续增大,直到 u G D = u G S ( t h ) u_{GD} = u_{GS(th)} uGD=uGS(th),即 u D S = u G S − u G S ( t h ) u_{DS} = u_{GS} - u_{GS(th)} uDS=uGS−uGS(th), 沟道在漏极一侧出现夹断点。
- 当
u
d
s
u_{ds}
uds再继续增大,夹断区随之延长。如图C所示。此时,
i
D
几乎仅取决于
u
G
S
i_D几乎仅取决于u_{GS}
iD几乎仅取决于uGS。

此时,id可以视为电压Ugs控制的电流源。

MOS管有三个工作区域:可变电阻区、恒流区和夹断区。关系式:

Mos管的特性:
- Mosfet具有输入阻抗高、开关速度快热稳定性好、电压控制电流等特性。
- 在电路中可以用作放大、电子开关等。
1.4.3 寄生二极管

- 场效应管是完全对称的
- 体二极管是场效应管中的两个PN结。

- G和s之间的pn结被短路了,任何类型的场效运管被短路的那一端一定是源级,也就是GS。
- 符号中的三个虚点分别代表的就是S、P(衬底)和D。上部分与G相连的大横杠就是栅极。
- 也就是说本身寄生二极管应该是有两个的,但其中一个被短路了。
- 所以我们在控制的时候控制的栅极和源级的 V G S V_{GS} VGS本身应该是栅极和衬底之间的电压 V G P V_{GP} VGP。
- 在施加电压 V G S V_{GS} VGS之后,体二极管先导通,导通之后建立了沟道。然后,就是n沟道与n沟道(或P-P)之间的连通,与寄生二极管没有任何关系,所以它是一个直连(没有结,没有单向导电性,可以双向流动),只依赖于电压存在的有一定电阻的导体,电阻阻值大小取决于外部施加的 V G S V_{GS} VGS电场力大小。
- 由于n沟道和p沟道的衬底类型不一样,n沟道是p型衬底,p沟道是n型衬底,所以在施加电压的时候,在N沟道上施加的是 V G S > 0 V_{GS}>0 VGS>0,在p沟道上施加的是 V G S < 0 V_{GS}<0 VGS<0。
1.5 IGBT 绝缘栅双极型晶体管
绝缘栅双极型晶体管Insulated Gate Bipolar Transistor
○ IGBT的耐受电压很高。电压6500v以上,电流3600A。(晶体管几个安培)
○ IGBT的开关频率可达每秒上万次。
IGBT结合了MOS管和三极管的优势。MOS管低驱动电流,三极管低导通电阻。
电路符号

○ 当我们给G低电平时截止,G高电平时,由C到G到E的路导通。所以CE导通。

IGBT的主要作用
将高压直流电转换为交流电,和变频。
电动汽车急需IGBT,因为电池是直流,但是电动机是交流。

主要特性:
IGBT具有输入阻抗高,电压控制、功耗低、耐高压、承受电流大等特性。

阴影部分表示两者都可选用。问号部分表示两者都达不到。
IGBT的模块
IGBT模块内部可能还会有散热层

有的模块内部可能集成了很多的IGBT甚至还有保护电路。

IGBT主要厂商
英飞凌,东芝,三菱,意法半导体,恩智浦,安森美

1.n 应用相关
1.n.0 Mos管
1.n.1 三极管和Mos管的区别
- Mos管是电压控制的元件,三极管是电流控制的元件。
- Mos管只需要保持G和S之间的电压差就可以保持开关状态,不需要有持续的电流。 三极管打开维持的必要条件就是基极和发射极之间存在持续的电流。从这点来说,三极管更耗电一些。
- 三极管的导通阻抗更大,MOS管的导通阻抗更小。 Igbt在高压时仍有较低的导通电阻。
- 三极管的优点是导通功耗大,然后控制功耗低。而Mos管的优点是导通功耗低,控制功耗大。 IGBT是将两者结合在一起,导通和控制的功耗都比较低。
- Igbt存在关断拖尾时间,且时间长,死区时间也加长,从而影响开关频率。
1.n.2 三极管、MOS管、IGBT




3 多级放大电路
3.3直接耦合放大电路
3.3.1直接耦合放大电路的零点漂移现象
在直接耦合放大电路中,即使将输入端短路,用直流表测量输出端,也会有缓慢的输出电压。即输入电压为零而输出电压的变化不为零的现象称为零点漂移现象。

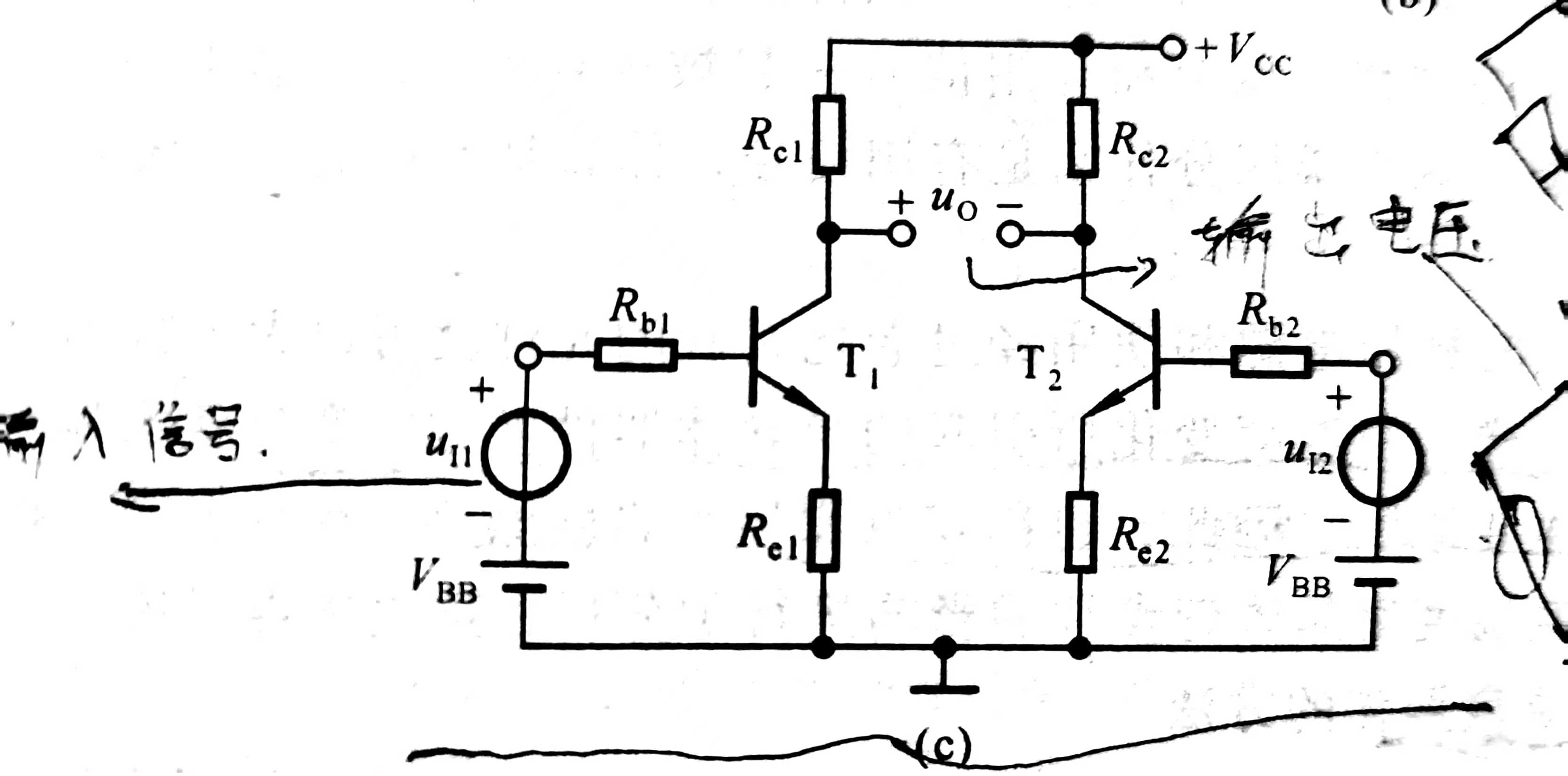
3.3.2 差分放大电路
差分放大电路是构成多级直接耦合放大电路的基本电路单元。
- 共模信号就是两个电压源所加的信号,大小相等,极性相同。
- 差模信号就是两个电压源所加的信号,大小相等,极性相反。
差分放大电路对共模信号具有较强的抑制作用,在理想情况下共模输出为0。
经过一系列的优化,我们得到这个典型差分放大电路:

该电路对差模信号具有较大的放大能力。
6 放大电路中的负反馈
6.1 反馈的基本概念及判断方法
6.4 深度负反馈放大电路放大倍数的分析
6.4.1 深度负反馈的实质
6.4.4 基于理想运放的放大倍数分析
6.4.4.1理想运放的线性工作区
- 理想运放的性能指标
- 理想运放在线性区的特点
-
标准运放,有两个输入端和一个输出端,以及供电正负极。电流永远不会流入或者流出输入端。

-
但是电流可以流入和流出输出端,流入和流出的电流右运放的供电端提供。

输出端的电压等于一个很大的常数×(A-B)

-
该常数是运放放大倍率。是运放的固有参数。一般来说,该常数非常大,可以达到几十万,所以中间才会那么陡峭。
-
当A端电压略低于B端电压的时候,输出端的电压将会是它能产生的最大负电压。这个负电压由供电决定。反之同样。
-
B端电压将会永远跟随到A端电压附近,但理论上并不相等。

- 虚短
虚短指在理想情况下,两个输入端的电位相等,就好像两个输入端短接在一起,但事实上并没有短接,称为“虚短”。虚短的必要条件是运放引入深度负反馈。 - 虚断
虚断指在理想情况下,流入集成运算放大器输入端电流为零。这是由于理想运算放大器的输入电阻无限大,就好像运放两个输入端之间开路。但事实上并没有开路,称为“虚断”。
6.4.4.2 放大倍数的分析
6.4.4.3 运放典型应用
- 比例运算电路

- 方波电路

Un接5V的滑动变阻器。


6.4.4.4 常见运放型号

7 信号的运算和处理
7.1 基本运算电路
7.1.1 概述
7.1.1.1 电路的组成
- 负反馈

运算电路中的集成运放应当工作在线性区,想要用到线性区同时为了稳定输出电压,必须引入负反馈的概念。因此,运算电路中的特征就是从集成运放的输出端到其反相输出端存在反馈通路。

反馈电压

实现运算:

当A端电压一定,电流一定,就可以通过电阻任意拿捏输出端的电压。

1万+

被折叠的 条评论
为什么被折叠?



