自定义博客皮肤VIP专享

*博客头图:

格式为PNG、JPG,宽度*高度大于1920*100像素,不超过2MB,主视觉建议放在右侧,请参照线上博客头图

请上传大于1920*100像素的图片!

博客底图:

图片格式为PNG、JPG,不超过1MB,可上下左右平铺至整个背景

栏目图:

图片格式为PNG、JPG,图片宽度*高度为300*38像素,不超过0.5MB

主标题颜色:

RGB颜色,例如:#AFAFAF

Hover:

RGB颜色,例如:#AFAFAF

副标题颜色:

RGB颜色,例如:#AFAFAF

自定义博客皮肤

-+
  • 博客(36)
  • 收藏
  • 关注

原创 字符串-进制转换模板

【代码】字符串-进制转换模板。

2025-02-26 18:15:53 107

原创 PAT乙级11-20题(C)

1011.A+B 和 C。1014.福尔摩斯的约会。1016.部分A+B。1018.锤子剪刀布。

2025-01-17 19:37:33 221

原创 PAT乙级6-10题(C)

1008.数组元素循环右移问题。1006.换个格式输出整数。1010 一元多项式求导。1007.素数对猜想。

2025-01-17 19:29:20 232

原创 PAT乙级1-5题(C)

1001.害死人不偿命的(3n+1)猜想。1005.继续(3n+1)猜想。1002.写出这个数。

2025-01-06 14:23:23 205

原创 spring使用

spring基本介绍

2023-05-29 20:21:55 469

原创 CSS使用

CSS即层叠样式表,CSS 能够对网页中元素位置的排版进行像素级精确控制, 实现美化页面的效果。

2023-04-20 20:47:01 457

原创 HTML基础使用

以上就是本文的全部内容了。

2023-04-19 20:11:33 161

原创 HTTPS

为了实现安全传输,核心就是加密。

2023-04-17 22:19:05 135

原创 HTTP协议

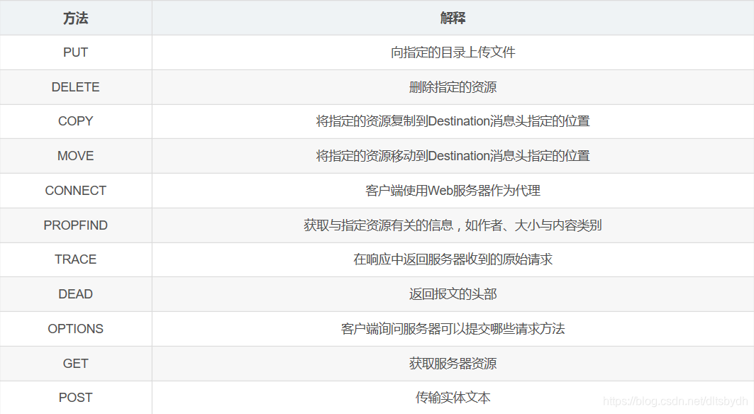
HTTP全称超文本传输协议,是一种应用广泛的应用层协议。HTTP往往是基于传输层TCP协议实现的。。如果是GET请求,没有body,如果是POST请求,一般有body(习惯用法,get也可以有body)。URL(统一资源定位符)就是我们常说的网址,互联网上的每一个文件都有唯一的URL,它包含的信息指出了文件的位置及浏览器如果处理。在HTTP协议中,有许多是程序员自定义的。

2023-04-17 19:11:59 116

原创 以太网协议和DNS

在数据链路层主要是考虑相邻两个节点之间的传输,以太网协议就是该层的一个知名协议,这个协议规定了数据链路层和物理层的内容。

2023-04-10 19:11:50 312

原创 IP-协议

每个路由器都会保存一定的周围设备的信息(路由表),IP数据报经过路由器,就会匹配路由表,如果路由表上有匹配项就按要求走,没有则提供一个默认路径,继续边走边问路。8位生存时间:1个数据报在网络上能传输的最大时间(单位是次数,一个数据报构造出来,会有一个初始的TTL数值,每次经过一个路由器转发,则TTL--,如果TTL减到0还没到达目标,就丢弃)。即使多个同一内网的设备访问外网设备,外网设备所看到的IP都是NAT设备的IP,而NAT则是通过端口号来区分不同的内网设备。,实现一个IP代表多个设备的目的。

2023-04-08 22:18:57 116

原创 TCP报文

TCP

2023-04-05 22:01:28 1416

原创 UDP&TCP

Socket套接字,是由系统提供用于网络通讯的技术,是基于TCP/IP协议的网络通信的基本操作单元,基于Socket套接字的网络程序开发就是网络编程。总结:TCP协议通信,要先通过socket对象建立连接,在客户端new Socket对象时,即会向服务器请求建立连接,而服务器通过socket.accpet接受连接。在UDP中,由于面向数据报来进行传输,所以需要把请求和响应构造成packet对象,再通过socket对象的receive和send方法来进行收发packet,即完成了数据的传输。

2023-03-30 22:00:00 139

原创 UDP报文

一个UDP报文=UDP报头+UDP载荷(即应用层数据包)。报头中的内容是UDP协议的一些重要属性。

2023-03-30 20:30:03 658

原创 抽象类与接口

抽象类与接口

2023-03-14 16:51:57 80

原创 File类

File类

2023-03-12 20:11:21 134

原创 JUC基础组件(Callable,ReentrantLock,semaphore)

JUC相关组件

2023-02-11 23:22:21 421

原创 锁策略及synchronized原理

锁策略及synchronized原理

2023-02-09 16:30:51 378

原创 线 程 池

线程池、工厂模式

2023-02-07 22:00:00 531

原创 阻塞队列+生产者消费者模型

阻塞队列+生产者消费者模型实现

2023-02-07 06:00:00 128

原创 定时器基本介绍

介绍定时器组件的基础知识

2023-02-06 22:03:14 206

原创 设计模式---单例模式

详细介绍了单例模式中的饿汉模式和懒汉模式。

2023-01-13 22:44:42 92

原创 锁的相关知识

本文主要介绍锁的特性,死锁的情况与特点。

2023-01-03 12:09:50 152

原创 线程的状态

多线程中的线程状态

2022-12-25 20:20:11 98

原创 Java - Thread类

Thread的基本使用

2022-12-21 21:50:01 583

原创 进程与线程

线程与进程

2022-11-27 18:25:16 349

原创 Java-进程

本文主要介绍进程的相关知识。

2022-11-27 15:56:53 576

原创 HashMap&HashSet

HashMap与HashSet

2022-10-30 16:17:56 99

原创 Java -- Map与Set

Set与Map介绍

2022-10-26 17:48:34 860

原创 数据结构(JAVA)第三篇-----栈和队列

栈与队列

2022-10-14 20:23:16 1176 2

原创 数据结构(JAVA)第二篇-----链表

链表

2022-10-06 19:22:40 504

原创 数据结构(JAVA)第一篇-----顺序表

本文主要结束顺序表相关知识。

2022-10-05 19:38:46 293

原创 StringBuffer和StringBuilder

StringBuilder和StringBuffer在循环中能更高效地处理字符串,得益于它们可以直接修改字符串对象的值,而对于一些安全和无需修改的变量时,String更加合适,根据适用场景的不同,选用不同的类型是最重要的☺。

2022-09-12 21:03:12 141

原创 String的不可变性

本文主要介绍String类的不可变

2022-09-12 19:25:57 210

原创 static修饰

static修饰字段和方法

2022-08-31 19:05:26 439

原创 学习中遇到的知识点整理

主要介绍this与static的使用细节

2022-08-05 21:30:23 160

空空如也

空空如也

TA创建的收藏夹 TA关注的收藏夹

TA关注的人

提示
确定要删除当前文章?
取消 删除