计算机毕设 java 宁海县鸿明包装材料厂生产管理系统 c68ci(配套有源码 程序 mysql 数据库 论文)本套源码可以先看具体功能演示视频领取,文末有联 xi 可分享
随着包装材料厂规模化生产,传统人工管理存在生产流程脱节、物料管控混乱、质检效率低等问题,难以满足管理员统筹调度、各岗位协同作业的需求。在此背景下,开发一套覆盖 “生产计划 - 物料管理 - 质检跟踪” 的宁海县鸿明包装材料厂生产管理系统,成为提升生产效率、保障产品质量的关键。
该系统以 Java 为开发语言,采用 SSM 框架构建,搭配 MySQL 数据库存储数据,支持管理员、计划员、工艺员、生产组长、质检员、库管员六类角色协同操作,核心功能全面覆盖包装材料生产场景,具体包括:
- 基础功能模块
- 注册登录:各岗位人员账号预设,登录后可操作对应权限功能;管理员账号拥有全系统权限,负责账号分配与权限管控;
- 个人中心:所有角色均可维护个人信息(修改密码、更新头像);各岗位可查看职责内的任务进度与数据记录;
- 信息同步:管理员审核生产计划、物料订单;各岗位实时更新任务状态(如计划员提交生产进度、质检员上传质检报告),确保生产全流程信息透明;
- 核心功能模块
- 生产全流程管理:生产计划管理(计划员制定生产计划,明确产品名称、生产批次、用料清单;管理员审核计划,下达生产指令);工艺管理(工艺员设计生产工艺,上传图纸与技术文档;生产组长参照工艺开展生产,反馈异常情况);进度管理(计划员跟踪生产进度,记录生产技术与异常报告;管理员查看进度,协调解决生产瓶颈);
- 物料与库存管理:物料单据管理(库管员处理生产发料 / 送料 / 领料单,记录物料名称、规格、数量;生产组长提交领料申请,库管员按单发料);库存管理(库管员维护库存信息,记录物料编号、分类、数量;实时更新入库 / 出库数据,避免物料短缺或积压);
- 质检与订单管理:质检管理(质检员对生产产品进行抽检,生成质检报告,判定是否合格;不合格产品反馈生产组长,督促整改);客户订单管理(管理员接收客户订单,录入产品名称、数量、备注;关联生产计划,确保订单按时交付);
- 角色专属功能模块
- 管理员功能:统筹管理(管理全岗位人员、生产计划、物料订单、质检结果,监管生产全流程);数据统计(分析生产效率、物料损耗率、产品合格率,优化生产策略);系统配置(维护岗位权限、生产参数,保障系统稳定运行);
- 计划员功能:计划管理(制定生产计划,跟踪进度,提交异常报告);物料协调(发起生产发料申请,协调库管员保障物料供应);
- 工艺员功能:工艺设计(设计生产工艺,上传技术文档,指导生产操作);
- 生产组长功能:生产执行(组织生产,提交领料 / 送料申请,反馈生产异常);
- 质检员功能:质量管控(开展产品质检,生成质检报告,跟踪不合格产品整改);
- 库管员功能:物料管控(处理物料单据,维护库存,记录入库 / 出库数据)。
这些功能围绕 “生产 - 物料 - 质检” 全周期设计,形成管理员统筹、各岗位协同的闭环,有效解决传统管理中 “流程断、物料乱、质检慢” 的问题,为包装材料厂生产信息化提供有力支撑。
注:以上是纯毕业设计介绍,并非实际开发完成,最终开发完成的毕业设计程序以下面的的环境软件、功能图和界面为准。
系统所需要的环境软件:idea、eclipse+mysql5.7、8.0+Navicat+JDK1.8+tomcat7.0
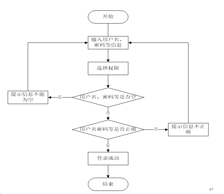
3.3.1 用户登录流程
登录流程实现了管理员和其他用户的登录,在登录页面需要用户填写自己的信息,前端页面会将信息传递给后端接口,然后查询数据库确定该身份有效后登录成功,否则此用户登录失败,需要重新填写信息,进行再次验证,如图3-1所示。

图3-1登录流程图
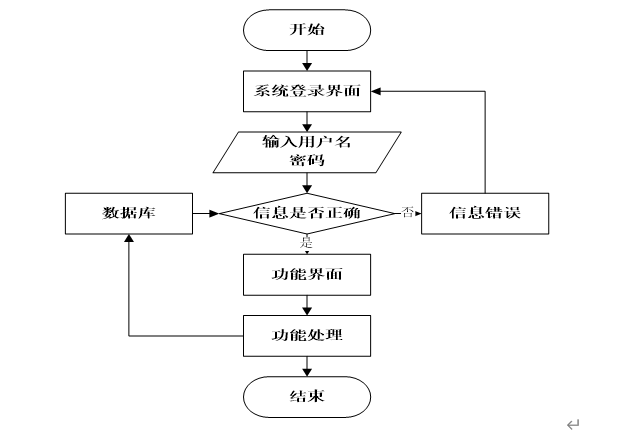
3.3.2 系统操作流程
系统操作流程分析是软件开发过程中的一个关键环节,它是整个系统整体的运行过程,必须保证其中的每一个步骤都是确定的,这样一个规范的流程图可以使开发者易于理解,快速的投入到接口开发中,从而提升系统开发效率。
同时,流程图还能减少开发者对系统操作流程产生歧义和降低沟通的成本,系统操作流程如图3-2所示。

图3-2系统操作流程图
3.4小结
宁海县鸿明包装材料厂生产管理系统旨在让用户能够轻松便捷的管理系统信息,让管理员的工作负担减轻。本章主要对系统的经济、技术、法律、市场可行性进行分析。确认可行后,对宁海县鸿明包装材料厂生产管理系统进行了需求分析和流程分析,从用户和管理员角度思考了可能会有的需求,是后续论文和应用开发的基础指导。
4 系统总体设计
4.1系统功能结构设计图
系统采用了结构化开发的方法。这种开发方法的优点是控制性比较强,开发过程中采用了结构化和模块化的设计思想,自顶向下,从总体到部分,合理划分系统的结构和模块。结构化开发时使用模块式开发,各模块之间互不影响,方便系统的开发与管理。 系统总体功能如下图所示:

图 4-1系统总体功能模块图
4.2 数据库设计与实现
在每一个系统中数据库有着非常重要的作用,数据库的设计得好将会增加系统的效率以及系统各逻辑功能的实现。所以数据库的设计我们要从系统的实际需要出发,才能使其更为完美的符合系统功能的实现。
4.2.1 概念模型设计
概念模型是对现实中的问题出现的事物的进行描述,ER图是由实体及其关系构成的图,通过E-R图可以清楚地描述系统涉及到的实体之间的相互关系。
库存信息实体图如图4-2所示:

图4-2库存信息实体图
客户订单实体图如图4-3所示:

图4-3客户订单实体图
计划进度实体图如图4-4所示:

图4-4计划进度实体图
生产计划实体图如图4-5所示:

图4-5生产计划实体图
出库信息实体图如图4-6所示:

图4-6出库信息实体图
入库信息实体图如图4-7所示:

图4-7入库信息实体图
5.1系统登录实现
系统登录,在登录页面选择需要登录的角色,在正确输入用户名和密码后,进入操作系统进行操作;如图5-1所示。

图5-1 系统登录界面
5.2管理员模块实现
管理员进入主页面,主要功能包括对首页、个人中心、计划员管理、工艺员管理、生产组长管理、质检员管理、库管员管理、客户订单管理、生产计划管理、生产工艺管理、计划进度管理、生产发料单管理、生产送料单管理、生产领料单管理、生产订单管理、质检报告管理、库存信息管理、入库信息管理、出库信息管理等进行操作。管理员主页面如图5-2所示:

图5-2 管理员主界面
管理员点击计划进度管理。进入计划进度页面输入产品名称和选择是否通过可以查询或删除计划进度详细信息,并进行查看详情,修改或删除操作。如图5-3所示:

图5-3计划进度管理界面
管理员点击生产订单管理。进入生产订单页面输入产品名称和选择是否通过可以查询或删除生产订单详细信息,包括对生产订单进行统计报表,并进行查看详情,修改或删除操作。如图5-4所示:

图5-4生产订单管理界面
管理员点击库存信息管理。进入库存信息页面输入名称和分类可以查询或删除库存详细信息,并进行查看详情,修改或删除操作。如图5-5所示:

图5-5库存信息管理界面
管理员点击入库信息管理。进入入库信息页面输入名称可以查询或删除入库详细信息,并进行查看详情,修改或删除操作。如图5-6所示:

图5-6入库信息管理界面
管理员点击出库信息管理。进入出库信息页面输入名称和分类可以查询或删除出库详细信息,并进行查看详情,修改或删除操作。如图5-7所示:

图5-7出库信息管理界面
5.3计划员功能实现
计划员进入系统可以对首页、个人中心、客户订单管理、生产计划管理、生产工艺管理、计划进度管理、生产发料单管理、出库信息管理等功能进行操作。计划员主页面如图5-8所示:

图5-8 计划员主界面
计划员点击生产计划管理。进入生产计划页面输入产品名称和选择是否通过可以查询、新增或删除生产计划详细信息,并进行查看详情、填写报告、修改或删除操作。如图5-9所示:

图5-9生产计划管理界面
计划员点击生产发料单管理。进入生产发料单页面输入名称和选择是否通过可以查询、新增或删除生产发料单详细信息,并进行查看详情,修改或删除操作。如图5-10所示:

图5-10生产发料单管理界面
5.4工艺员功能实现
工艺员进入系统可以对首页、个人中心、生产计划管理、生产工艺管理等功能进行操作。工艺员主页面如图5-11所示:

图5-11 工艺员主界面
5.5生产组长功能实现
生产组长进入系统可以对首页、个人中心、生产计划管理、生产送料单管理、生产领料单管理、生产订单管理等功能进行操作。生产组长主页面如图5-12所示:

图5-12 生产组长主界面
5.6质检员功能实现
质检员进入系统可以对首页、个人中心、生产订单管理、质检报告管理等功能进行操作。质检员主页面如图5-13所示:

图5-13 质检员主界面
5.7库管员功能实现
库管员进入系统可以对首页、个人中心、生产发料单管理、生产送料单管理、库存信息管理、入库信息管理、出库信息管理等功能进行操作。库管员主页面如图5-14所示:

图5-14库管员主界面
源码无偿分享,文末领取
1097

被折叠的 条评论
为什么被折叠?



