计算机毕设Java计算机物流信息管理系统l0dpt9(配套有源码 程序 mysql数据库 论文)
本套源码可以在文本联xi,先看具体系统功能演示视频领取,可分享源码参考。
随着信息技术的飞速发展,物流行业正经历着前所未有的变革。传统的物流管理方式面临着诸多挑战,如信息处理效率低下、数据更新不及时、资源分配不合理等。为了应对这些挑战,提高物流管理的效率和精准度,开发一款高效、智能的物流信息管理系统显得尤为重要。本文将详细介绍一款基于Java技术的物流信息管理系统,该系统旨在通过现代化的技术手段,为物流企业提供全面、便捷的信息管理解决方案。
该系统具备以下功能:
-
用户管理:实现用户信息的添加、删除、查询和修改。
-
配送员管理:管理配送员信息,包括账号、姓名、联系方式等。
-
快递网点管理:对快递网点进行管理,包括网点名称、位置、营业时间等信息。
-
订单信息管理:处理订单信息,包括快递单号、收件人信息、寄件人信息等。
-
配送订单管理:对配送订单进行跟踪和管理。
-
车辆信息管理:记录车辆信息,如车牌号、车辆类型、车辆容量等。
-
仓库信息管理:管理仓库信息,包括仓库编号、名称、位置、面积等。
-
线路信息管理:规划和管理配送线路,包括路线名称、起点、终点、路线规划等。
-
收费信息管理:处理快递费用、其他费用及应付费用等信息。
-
评价查询管理:允许用户对物流服务进行评价,并查询评价信息。
-
系统管理:包括公告信息发布、系统配置等管理功能。
这些功能的实现,不仅提高了物流信息管理的效率,还增强了系统的灵活性和可扩展性。通过用户管理功能,系统能够精准地识别和处理用户信息,确保信息的准确性和安全性。配送员管理功能则有助于优化配送流程,提高配送效率。快递网点管理功能为物流企业提供了一个便捷的网点信息管理平台,方便企业对网点进行统一管理。订单信息管理功能实现了订单的全流程跟踪,从订单创建到订单完成,每一个环节都能清晰地展示出来。配送订单管理功能则进一步细化了配送流程,使得配送任务的分配和执行更加高效。车辆信息管理功能为物流企业提供了车辆信息的集中管理,方便企业对车辆进行调度和维护。仓库信息管理功能则帮助企业更好地管理仓库资源,提高仓库利用率。线路信息管理功能通过优化配送线路,降低了物流成本,提高了配送效率。收费信息管理功能实现了费用的自动计算和管理,减少了人工操作的错误。评价查询管理功能则为企业提供了用户反馈的渠道,有助于企业不断提升服务质量。系统管理功能则为系统的稳定运行提供了保障,确保系统的各项功能都能正常运行。
注:以上是纯课题毕业设计功能介绍,并非实际开发完成,最终开发完成的毕业设计程序以下面的的环境软件、功能图和界面为准。
系统所需要的环境软件:idea、eclipse+mysql5.7、8.0+Navicat+JDK1.8+tomcat7.0
3.1系统可行性分析
计算机物流信息管理系统的可行性分析基于当下的互联网背景,从经济、技术、法律和用户使用上进行了调查,从此验证次系统开发的可行性[6]。下面分别从以下几点进行分析:
- 经济可行性分析:此系统所用的框架技术完全是开源的,其余的软件使用也都是免费的,在开发方面所消耗的成本可以忽略不计。而建立系统信息库所需的费用远远少于其带来的社会收益,从经济上分析系统是完全可行的。
- 技术可行性分析:对系统进行分析,计算机物流信息管理系统的大部分功能都需要管理员完成,系统只需要添加少量代码就可以很好适配管理员功能[7]。可以提高文件的复用率,提高效率。在数据库方面,ORM简化了表的创建和使用,采用了Oracle旗下开源的关系型数据管理系统MySQL,多表存储的特点使数据更加规范化,增删改查更容易[8]。综上所述,技术开发上并无太大的难点。
- 用户使用可行性分析:鉴于系统的使用用户,有统一的账号和密码,且系统无需用户有过多的操作,界面清晰简洁,用户使用可行性上无问题。
- 法律可行性分析:本应用的开发内容均在法律范围内得到支持,并已经通过备案。
3.2系统需求分析
需求分析在系统开发中有着十分重要的作用[9]。软件项目凭借软件工程的思想和步骤可以大大的提高开发效率,缩短软件开发周期,保证了软件项目的质量。需求分析作为软件工程方法中的一步是至关重要的。软件需求工程是一门分析并记录软件需求的学科[10]。需求分析简单的来说就是用户需要什么,系统需要什么,对此进行问题的列举,等级的排列,需要缜密的思分析和大量的调研[11]。
计算机物流信息管理系统在国内有很多值得借鉴的例子,功能也都趋于完善,因此此次计算机物流信息管理系统将轻量化开发,要完成以下功能:
(1)要支持完整的用户注册,登录功能,账号的管理通过管理员来实现。
(2)计算机物流信息管理系统的前端页面简单明了,功能让用户快速上手,一目了然,不需要教程也能直接使用。
(3)为了用户能够方便的搜寻信息。
(4)管理员通过后台系统来完成对计算机物流信息管理系统的编辑,包括添加、删除等操作。
管理员用例如下所示:

图3-1 管理员用例图
用户用例如下所示:

图3-2 用户用例图
配送员用例如下所示:

图3-3 配送员用例图
3.3系统流程设计
3.3.1 用户登录流程
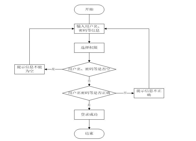
登录流程实现了管理员和其他用户的登录,在登录页面需要用户填写自己的信息,前端页面会将信息传递给后端接口,然后查询数据库确定该身份有效后登录成功,否则此用户登录失败,需要重新填写信息,进行再次验证,如图3-4所示。

图3-4登录流程图
3.3.2 系统操作流程
系统操作流程分析是软件开发过程中的一个关键环节,它是整个系统整体的运行过程,必须保证其中的每一个步骤都是确定的,这样一个规范的流程图可以使开发者易于理解,快速的投入到接口开发中,从而提升系统开发效率。
同时,流程图还能减少开发者对系统操作流程产生歧义和降低沟通的成本,系统操作流程如图3-5所示。

图3-5系统操作流程图
3.4小结
计算机物流信息管理系统旨在让用户能够轻松便捷的管理系统信息,让管理员的工作负担减轻。本章主要对系统的经济、技术、法律、市场可行性进行分析。确认可行后,对计算机物流信息管理系统进行了需求分析和流程分析,从用户和管理员角度思考了可能会有的需求,是后续论文和应用开发的基础指导。
4 系统总体设计
4.1系统功能结构设计图
系统采用了结构化开发的方法。这种开发方法的优点是控制性比较强,开发过程中采用了结构化和模块化的设计思想,自顶向下,从总体到部分,合理划分系统的结构和模块。结构化开发时使用模块式开发,各模块之间互不影响,方便系统的开发与管理。 系统总体功能如下图所示:

图 4-1系统总体功能模块图
4.2 数据库设计与实现
在每一个系统中数据库有着非常重要的作用,数据库的设计得好将会增加系统的效率以及系统各逻辑功能的实现。所以数据库的设计我们要从系统的实际需要出发,才能使其更为完美的符合系统功能的实现。
4.2.1 概念模型设计
概念模型是对现实中的问题出现的事物的进行描述,ER图是由实体及其关系构成的图,通过E-R图可以清楚地描述系统涉及到的实体之间的相互关系。
物品出库实体图如图4-2所示:

图4-2物品出库实体图
车辆信息实体图如图4-3所示:

图4-3车辆信息实体图
仓库信息实体图如图4-4所示:

图4-4仓库信息实体图
用户实体图如图4-5所示:

图4-5用户实体图
配送员实体图如图4-5所示:

图4-5配送员实体图

5.1系统登录实现
系统登录,在登录页面选择需要登录的角色,在正确输入用户名和密码后,进入操作系统进行操作;如图5-1所示。

图5-1 系统登录界面
系统注册:在系统注册页面的输入栏中输入用户注册信息进行注册操作,系统注册页面如图5-2所示:

图5-2系统注册页面
5.2管理员模块实现
管理员进入主页面,主要功能系统首页,个人中心,用户管理,配送员管理,快递网点管理,订单信息管理,配送订单管理, 车辆信息管理,仓库信息管理,线路信息管理,收费信息管理,评价查询管理,系统管理等功能。管理员主页面如图5-3所示:

图5-3 管理员主界面
管理员点击用户管理。进入用户管理页面输入用户账号和用户姓名可以查询、新增或删除用户列表,并根据需要对用户管理进行查看详情,修改或删除操作。如图5-4所示:

图5-4用户管理界面
管理员点击配送员管理。进入配送员管理页面输入配送员账号可以查询、新增或删除配送员列表,并根据需要对配送员管理进行查看详情,修改或删除操作。如图5-5所示:

图5-5配送员管理界面
管理员点击快递网点管理。进入快递网点管理页面输入网点名称、网点位置可以查询、新增或删除快递网点列表,并对快递网点管理进行查看详情,修改或删除操作。如图5-6所示:

图5-6快递网点管理界面
管理员点击仓库信息管理。进入仓库信息管理页面输入仓库编号,仓库名称,仓库位置可以查询、新增或删除仓库信息列表,并根据需要对仓库信息管理进行查看详情,修改或删除操作。如图5-7所示:

图5-7仓库信息管理界面
管理员点击收费信息管理。进入收费信息管理页面输入快递单号和快递名称可以查询或删除收费信息列表,并根据需要对收费信息管理进行查看详情,修改或删除操作。如图5-8所示:

图5-8收费信息管理界面
管理员点击系统管理。进入公告信息管理页面输入标题可以查询、新增或删除公告信息列表,并根据需要对公告信息进行查看详情,修改或删除操作。如图5-9所示:

图5-9系统管理界面
5.3用户功能实现
用户进入系统可以对系统首页,个人中心,快递网点管理,订单信息管理,配送订单管理, 线路信息管理,收费信息管理,评价查询管理,系统管理等功能进行操作。用户主页面如图5-10所示:

图5-10 用户主界面
5.4配送员功能实现
配送员进入系统可以对系统首页,个人中心,配送订单管理,线路信息管理,收费信息管理,评价查询管理,系统管理等功能进行操作。配送员主页面如图5-11所示:

图5-11 配送员主界面
源码无偿分享,文未领取

被折叠的 条评论
为什么被折叠?



