计算机毕设 java 基于的楼盘销售管理系统 Java+SSM 楼盘房源管理与购房合同一体化系统设计与开发 基于 MySQL 的楼盘销售预订、员工协同管理系统实现

计算机毕设java基于的楼盘销售管理系统6n60a9 (配套有源码 程序 mysql数据库 论文)本套源码可以先看具体功能演示视频领取,文末有联xi 可分享

随着房地产行业数字化转型加速,传统楼盘销售依赖线下纸质记录,存在房源信息分散、购房流程不透明、员工与客户协作效率低等问题,既影响客户购房体验,也增加楼盘销售管理成本。为解决这些痛点,开发一套覆盖 “房源管理 - 购房预订 - 合同签署 - 多方协作” 的楼盘销售管理系统,成为优化销售流程、提升管理效率的关键。

该系统以 Java 为开发语言,基于 SSM 框架构建,搭配 MySQL 数据库存储数据,采用 B/S 架构保障跨平台访问,核心功能涵盖多个维度:首页模块提供系统入口与导航,方便用户快速进入各功能页面;个人中心支持用户维护个人信息(用户名、密码、姓名、联系方式等),管理个人相关记录;员工管理模块实现员工信息(工号、姓名、部门、联系方式等)的新增、查询、修改与删除,规范员工信息管理;用户管理模块对客户账号信息进行管控,确保用户信息安全;房源类型管理预设房源类别(如三房两厅、两室一厅等),为房源分类提供标准;房源信息管理录入房源标题、小区名称、地址、周边学校、城市、户型、面积、单价、装修状况、楼层、详情及图片,支持按小区名称、周边学校等条件查询,客户可查看详情后预订;购房预订管理记录客户预订的房源信息、预订时间、个人信息等,跟踪预订进度;购房合同管理存储合同编号、房源信息、房屋面积、单价、总售价、签约人、销售员、合同附件及签约时间,形成购房流程闭环;交流论坛模块支持用户发布帖子(含标题、内容),进行购房经验交流与问题讨论;系统管理包含通知公告发布(编辑标题、简介、内容与图片)、轮播图维护(更新首页展示图片),保障平台信息及时更新。

系统通过整合楼盘销售全流程功能,既解决了传统销售模式中信息分散、流程繁琐的问题,又实现了房源、预订、合同的规范化管理,同时为员工与客户搭建了高效的协作渠道,助力楼盘销售管理向数字化、透明化方向发展。

注:以上是纯毕业设计介绍,并非实际开发完成,最终开发完成的毕业设计程序以下面的的环境软件、功能图和界面为准。
系统所需要的环境软件:idea、eclipse+mysql5.7、8.0+Navicat+JDK1.8+tomcat7.0

3.2.1 系统开发流程 

楼盘销售管理系统的设计和开发,首先要对用户的实际使用需求和具体情况进行细致的分析,分析出系统要完成的全部功能,然后再针对整个系统的工作流程和功能进行设计,力求每个模块都能够达到用户的要求,最后通过测试来解决问题,保证系统的稳定和正常的运转,本系统的开发流程如图3-1所示。

图3-1系统开发流程图

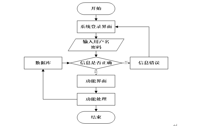
3.2.2 用户登录流程

登录流程实现了管理员和其他用户的登录,在登录页面需要用户填写自己的信息,前端页面会将信息传递给后端接口,然后查询数据库确定该身份有效后登录成功,否则此用户登录失败,需要重新填写信息,进行再次验证,如图3-2所示。

图3-2登录流程图

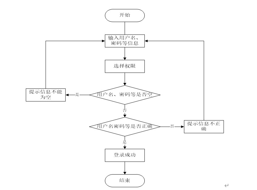
3.2.3 系统操作流程

系统操作流程分析是软件开发过程中的一个关键环节,它是整个系统整体的运行过程,必须保证其中的每一个步骤都是确定的,这样一个规范的流程图可以使开发者易于理解,快速的投入到接口开发中,从而提升系统开发效率。

同时,流程图还能减少开发者对系统操作流程产生歧义和降低沟通的成本,系统操作流程如图3-3所示。

图3-3系统操作流程图

3.2.4 添加信息流程

系统的正常运行离不开数据的支撑,因此,在本系统中添加了数据插入功能,数据库中数据的缺失,会直接影响到数据的查询结果,查询结果错误又会导致逻辑处理出现偏差,最终导致系统性错误或故障,所以在对系统进行数据添加操作时,必须要对数据进行合法性校验,确定此条数据是否有惟一的主关键字和字段是否允许为空等等,若数据库表中不允许某字段为空,而程序没有进行该字段非空逻辑校验,那么就会出现数据存储失败,可能因此造成严重系统后果。添加信息流程如图3-4所示。

图3-4添加信息流程图

3.2.5 修改信息流程

因为使系统的使用者是人,所以难免会有疏忽,从而造成系统输入的信息有误。或者由于其他原因导致数据发生改变,使得必须对系统内的数据进行相应的调整,所以在程序运行中,数据的修改操作是不可缺少的重要环节。

在进行数据更新时,必须要有一个惟一的主关键字,以便数据库能够查询到相应的数据;另外,还必须遵守数据插入过程的操作规范,以确保数据的正确性。修改信息流程图如图3-5所示。

图3-5修改信息流程图

3.2.6 删除信息流程

删除操作在系统中并非是必须的,可根据用户及系统的需要来决定是否添加删除功能,删除操作就是使用delete语句将数据库中的某一匹配数据删除,因为此操作会导致用户数据丢失,所以为了避免使用者误按删除键,应在用户点击删除按钮时添加一个提示确认弹窗,当用户确定要删除时,再进行数据库的操作,并且在删除操作完成后要对用户进行反馈。删除信息流程图如图3-6所示。

图3-6 删除信息流程图

3.3系统用例分析

3.3.1 管理员用例图

楼盘销售管理系统的最大权限用户是管理员,通过管理员菜单中的首页,个人中心,员工管理,用户管理,房源类型管理,房源信息管理,购房预订管理,购房合同管理,交流论坛,系统管理等选项来对系统后台信息进行管理。管理员用例如图3-7所示。

图3-7管理员用例图

3.3.2 员工用例图

员工进入系统可以对首页,个人中心,购房预订管理,购房合同管理进行管理。员工用例如图3-8所示。

图3-8员工用例图

3.3.3 用户用例图

用户进入系统可以对首页,个人中心,购房预订管理,购房合同管理进行管理。用户用例如图3-9所示。

图3-9用户用例图

4 系统设计

4.1 系统概述

楼盘销售管理系统的设计与开发是指对该系统的各个功能模块进行详细设计,力求每个模块都能够满足用户的要求,系统开发完成后还需对系统进行单元测试和系统测试,发现系统中存在的问题并解决,确保系统正常稳定的运行。楼盘销售管理系统工作原理图如图4-1所示:

图4-1 系统工作原理图

4.2 系统结构设计

系统结构设计必须要满足用户的业务需求,系统结构设计完成后要形成系统结构设计文档,开发人员就可根据模块接口说明进行接口开发,接口开发完需进行功能测试,目的是发现并解决系统漏洞,同时还得保证系统的可扩展性和稳定性,满足用户对系统的要求。系统设计需满足以下要求:

  1. 安全性
  2. 易用性
  3. 柔软性
  4. 柔软性
  5. 扩展性

楼盘销售管理系统的整体结构设计主要分为三大部分:管理员,员工和用户。管理员的职责是管理用户信息及设置用户权限,发布公告等其他基础功能的管理;员工和用户负责购房预订管理和购房合同管理。整体结构设计如图4-2所示。

图4-2 整体结构设计图

4.3 数据库设计

本系统依赖于MySQL数据库来储存信息,系统完成后,所有需要的数据都要从数据库中读取,这也意味着无论是插入、更新还是删除操作,只要对数据有改动的操作都需要与数据库交互,因此,系统的全部数据都要储存在数据库,必须保证数据库在未经授权情况下不得进行删除表结构等危险操作,而且要保证表中字段的准确性。

4.3.1 数据库设计原则

  1. 从上而下
  2. 从下至上
  3. 逐渐扩大
  4. 结合方法

4.3.2 数据库实体

E-R图,即实体-联系图,它是一种通过对实例进行抽象,以可视化的方式来描述现实世界的概念模型。根据需求分析绘制出数据库的E-R图,能够直观地映射出各个表之间的关系。

本系统的实体属性图如下图所示:

1、关于我们实体图如图4-3所示:

图4-3关于我们实体图

2、交流论坛实体图如图4-4所示:

图4-4交流论坛实体图

3、通知公告实体图如图4-5所示:

图4-5通知公告实体图

4、员工实体图如图4-6所示:

图4-6员工实体图

5、购房合同实体图如图4-7所示:

图4-7购房合同实体图

5界面设计与功能实现

5.1系统功能实现

当人们打开系统的网址后,首先看到的就是首页界面。在这里,人们能够看到系统的导航条,通过导航条导航进入各功能展示页面进行操作。系统首页界面如图5-1所示:

图5-1 系统首页界面

系统注册:在系统注册页面的输入栏中输入用户注册信息进行注册操作,系统注册页面如图5-2所示:

图5-2系统注册页面

房源信息:在房源信息页面的输入栏中输入小区名称,周边学校,城市和装修状况进行查询,可以查看到房源详细信息,并进行预订,评论和收藏操作;房源信息页面如图5-3所示:

图5-3房源信息详细页面

个人中心:在个人中心页面通过填写个人详细信息进行更新操作,还可以对我的发布和我的收藏进行详细操作;如图5-4所示:

图5-4个人中心界面

5.2后台模块实现

后台用户登录,在登录页面选择需要登录的角色,在正确输入用户名和密码后,进入操作系统进行操作;如图5-5所示。                               

图5-5 后台登录界面

5.2.1管理员模块实现

管理员进入主页面,主要功能包括对首页,个人中心,员工管理,用户管理,房源类型管理,房源信息管理,购房预订管理,购房合同管理,交流论坛,系统管理等进行操作。管理员主页面如图5-6所示:

图5-6 管理员主界面

管理员点击员工管理。在员工页面输入员工工号、员工姓名和部门进行查询、新增或删除员工列表,并根据需要对员工详情信息进行详情、修改或删除操作;如图5-7所示:

图5-7员工管理界面

管理员点击房源类型管理。进入房源类型页面输入房源类型进行查询、新增或删除房源类型列表,并根据需要对房源类型详细信息进行详情、修改或删除操作。如图5-8所示:

图5-8房源类型管理界面

管理员点击房源信息管理。在房源信息页面输入小区名称、周边学校、城市和装修状况进行查询、新增或删除房源信息列表,并根据需要对房源信息详细信息进行详情、修改、查看评论或删除操作。如图5-9所示:

图5-9房源信息管理界面

管理员点击购房合同管理。在购房合同页面输入小区名称进行查询或删除购房合同列表,并根据需要对购房合同详细信息进行详情、修改或删除操作。如图5-10所示:

图5-10购房合同管理界面

管理员点击交流论坛管理。在交流论坛页面输入帖子标题进行查询、新增或删除交流论坛列表,并根据需要对交流论坛详细信息进行详情、修改、查看评论或删除操作。如图5-11所示:

图5-11交流论坛管理界面

5.2.2员工模块实现

员工进入系统可以对首页,个人中心,购房预订管理,购房合同管理等功能进行操作。员工主页面如图5-12所示:

图5-12员工主界面

5.2.3用户模块实现

用户进入系统可以对首页,个人中心,购房预订管理,购房合同管理等功能进行操作。用户主页面如图5-13所示:

图5-13用户主界面

用户点击购房预订管理。在购房预订页面输入小区名称、周边学校、城市和装修状况进行查询购房预订列表,并根据需要对购房预订详细信息进行详情操作。如图5-14所示:

图5-14购房预订管理界面

用户点击购房合同管理。在购房合同页面输入小区名称进行查询购房合同列表,并根据需要对购房合同详细信息进行详情操作。如图5-15所示:

图5-15购房合同管理界面

源码无偿分享,文未领取

评论
添加红包

请填写红包祝福语或标题

红包个数最小为10个

红包金额最低5元

当前余额3.43前往充值 >
需支付:10.00
成就一亿技术人!
领取后你会自动成为博主和红包主的粉丝 规则
hope_wisdom
发出的红包
实付
使用余额支付
点击重新获取
扫码支付
钱包余额 0

抵扣说明:

1.余额是钱包充值的虚拟货币,按照1:1的比例进行支付金额的抵扣。
2.余额无法直接购买下载,可以购买VIP、付费专栏及课程。

余额充值