1、面试题
现在有一个未分库分表的系统,未来要分库分表,如何设计才可以让系统从未分库分表动态切换到分库分表上?
可以采用停服清洗数据和双写。我们采用的双写,用户新增修改操作往两份数据库上都写,老用户走老接口从老数据库中查询,新用户走新接口从新数据库查,注意需要核对新老版本数据是否全一样(可以写程序跑),一般新版本发布几天后,90%用户会更新到最新版,慢慢基本都走新接口了,待某次版本强升之后,老版本数据可以去掉了。
2、面试官心里分析
你看看,你现在已经明白为啥要分库分表了,你也知道常用的分库分表中间件了,你也设计好你们如何分库分表的方案了(水平拆分、垂直拆分、分表),那问题来了,你接下来该怎么把你那个单库单表的系统给迁移到分库分表上去?
所以这都是一环扣一环的,就是看你有没有全流程经历过这个过程
友情提示
假设,你现有有一个单库单表的系统,在线上在跑,假设单表有600万数据
3个库,每个库里分了4个表,每个表要放50万的数据量
假设你已经选择了一个分库分表的数据库中间件,sharding-jdbc,mycat,都可以
你怎么把线上系统平滑地迁移到分库分表上面去
sharding-jdbc:自己上官网,找一个官网最基本的例子,自己写一下,试一下,跑跑看,是非常简单的
mycat:自己上官网,找一个官网最基本的例子,自己写一下,试一下看看
1个小时以内就可以搞定了
3、面试题剖析
这个其实从low到高大上有好几种方案,我们都玩儿过,我都给你说一下
(1)停机迁移方案

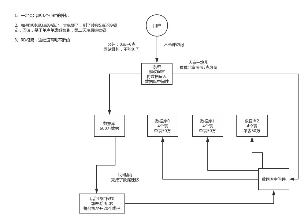
我先给你说一个最low的方案,就是很简单,大家伙儿凌晨12点开始运维,网站或者app挂个公告,说0点到早上6点进行运维,无法访问。。。。。。
接着到0点,停机,系统挺掉,没有流量写入了,此时老的单库单表数据库静止了。然后你之前得写好一个导数的一次性工具,此时直接跑起来,然后将单库单表的数据哗哗哗读出来,写到分库分表里面去。
导数完了之后,就ok了,修改系统的数据库连接配置啥的,包括可能代码和SQL也许有修改,那你就用最新的代码,然后直接启动连到新的分库分表上去。
验证一下,ok了,完美,大家伸个懒腰,看看看凌晨4点钟的北京夜景,打个滴滴回家吧
但是这个方案比较low,谁都能干,我们来看看高大上一点的方案
(2)双写迁移方案

这个是我们常用的一种迁移方案,比较靠谱一些,不用停机,不用看北京凌晨4点的风景
简单来说,就是在线上系统里面,之前所有写库的地方,增删改操作,都除了对老库增删改,都加上对新库的增删改,这就是所谓双写,同时写俩库,老库和新库。
然后系统部署之后,新库数据差太远,用之前说的导数工具,跑起来读老库数据写新库,写的时候要根据gmt_modified这类字段判断这条数据最后修改的时间,除非是读出来的数据在新库里没有,或者是比新库的数据新才会写。
接着导万一轮之后,有可能数据还是存在不一致,那么就程序自动做一轮校验,比对新老库每个表的每条数据,接着如果有不一样的,就针对那些不一样的,从老库读数据再次写。反复循环,直到两个库每个表的数据都完全一致为止。
接着当数据完全一致了,就ok了,基于仅仅使用分库分表的最新代码,重新部署一次,不就仅仅基于分库分表在操作了么,还没有几个小时的停机时间,很稳。所以现在基本玩儿数据迁移之类的,都是这么干了。

273

被折叠的 条评论
为什么被折叠?



