摘 要
随着社会的发展,社会的各行各业都在利用信息化时代的优势。计算机的优势和普及使得各种信息系统的开发成为必需。
社区疫苗管理网站系统,主要的模块包括查看首页、网站管理(轮播图、公告信息)人员管理(管理员、仓库管理者、普通用户)内容管理(社区资讯、资讯分类)模块管理(场次管理、疫苗信息、预约信息、取消预约、库存管理、出库信息、进货信息、退货信息、销毁信息、疫苗申请)个人管理等功能。系统中管理员主要是为了安全有效地存储和管理各类信息,还可以对系统进行管理与更新维护等操作,并且对后台有相应的操作权限。
要想实现社区疫苗管理网站系统的各项功能,需要后台数据库的大力支持。管理员验证注册信息,收集的用户信息,并由此分析得出的关联信息等大量的数据都由数据库管理系统管理。本文中数据库服务器端采用了Mysql作为后台数据库,使Web与数据库紧密联系起来。在设计过程中,充分保证了系统代码的良好可读性、实用性、易扩展性、通用性、便于后期维护、操作方便以及页面简洁等特点。
本系统的开发使获取社区疫苗管理网站系统信息能够更加方便快捷,同时也使社区疫苗管理网站系统管理信息变的更加系统化、有序化。系统界面较友好,易于操作。
关键词:社区疫苗管理网站系统;springboot;Mysql
Spring boot community vaccine management website systemAbstract
With the development of society, all walks of life are taking advantage of the advantages of the information age. The advantages and popularity of computers make the development of various information systems necessary.
The main modules of the community vaccine management website system include viewing the home page Website management (rotation chart, announcement information) Personnel management (administrator, warehouse manager, ordinary user) Content management (community information, information classification) Module management (session management, vaccine information, reservation information, cancellation of reservation, inventory management, outbound information, purchase information, return information, destruction information, vaccine application) Personal management and other functions. The administrator in the system is mainly to store and manage all kinds of information safely and effectively, and can also manage, update and maintain the system, and have corresponding operation permissions for the background.
To realize the functions of the community vaccine management website system, it needs the strong support of the background database. The administrator verifies the registration information, collects user information, and analyzes the associated information and other large amounts of data, which are managed by the database management system. In this paper, the database server uses MySQL as the background database, which makes the Web and database closely linked. In the design process, the system code is fully guaranteed to be readable, practical, extensible, universal, easy to maintain, easy to operate and concise.
The development of this system makes it easier and faster to obtain the information of the community vaccine management website system, and also makes the management information of the community vaccine management website system more systematic and orderly. The system interface is friendly and easy to operate.
Key words: community vaccine management website system; springboot; Mysql
目 录
1 系统概述
1.1 概述
随着社会的快速发展,计算机的影响是全面且深入的。人们生活水平的不断提高,日常生活中人们对疫情防控信息管理方面的要求也在不断提高,需要疫情防控信息的人数更是不断增加,使得社区疫苗管理网站系统的开发成为必需而且紧迫的事情。社区疫苗管理网站系统主要是借助计算机,通过对社区疫苗管理网站系统所需的信息管理,增加用户选择,同时也方便对广大用户信息的及时查询、修改以及对用户信息的及时了解。社区疫苗管理网站系统对用户带来了更多的便利, 该系统通过和数据库管理系统软件协作来满足用户的需求。
1.2课题意义
随着全球信息化的发展,人们的生活节奏越来越快,对信息的时效性越来越重视。以传统的宣传方式为载体的传统媒介早已不能满足人们对获取信息的方式、便捷性的需求。所以社区疫苗管理网站系统渐渐成为人们关注的焦点。首先,社区疫苗管理网站系统,网上获取信息的实时性、便捷性要远远高于传统媒介。系统一经上线,无论用户在世界的哪个角落,只要能够连接互联网,就能在第一时间获得想要的信息。
计算机技术在现代管理中的应用,使计算机成为人们应用现代技术的重要工具。能够有效的解决获取信息便捷化、全面化的问题,提高效率。
1.3 主要内容
社区疫苗管理网站系统从功能、数据流程、可行性、运行环境等方面进行需求分析。对社区疫苗管理网站系统的数据库、功能进行了详细设计。分析了主要界面设计和相关组件设计,对社区疫苗管理网站系统的具体实现进行了介绍。
采用Java技术,从数据库中获取数据、向数据库中写入数据,实现系统直接对数据库进行各种操作,在网页中加入动态内容,从而实现社区疫苗管理网站系统所需要的各种基本功能。
2 系统开发环境
本系统前端框架采用了比较流行的渐进式JavaScript框架Vue.js。使用Vue-Router和Vuex实现动态路由和全局状态管理,Ajax实现前后端通信,Element UI组件库使页面快速成型。后端部分:采用springboot作为开发框架,同时集成MyBatis、Redis等相关技术。
2.1 Spring Boot框架
Spring框架是Java平台上的一种开源应用框架,提供具有控制反转特性的容器。尽管Spring框架自身对编程模型没有限制,但其在Java应用中的频繁使用让它备受青睐,以至于后来让它作为EJB(EnterpriseJavaBeans)模型的补充,甚至是替补。Spring框架为开发提供了一系列的解决方案,比如利用控制反转的核心特性,并通过依赖注入实现控制反转来实现管理对象生命周期容器化,利用面向切面编程进行声明式的事务管理,整合多种持久化技术管理数据访问,提供大量优秀的Web框架方便开发等等。Spring框架具有控制反转(IOC)特性,IOC旨在方便项目维护和测试,它提供了一种通过Java的反射机制对Java对象进行统一的配置和管理的方法。Spring框架利用容器管理对象的生命周期,容器可以通过扫描XML文件或类上特定Java注解来配置对象,开发者可以通过依赖查找或依赖注入来获得对象。Spring框架具有面向切面编程(AOP)框架,SpringAOP框架基于代理模式,同时运行时可配置;AOP框架主要针对模块之间的交叉关注点进行模块化。Spring框架的AOP框架仅提供基本的AOP特性,虽无法与AspectJ框架相比,但通过与AspectJ的集成,也可以满足基本需求。Spring框架下的事务管理、远程访问等功能均可以通过使用SpringAOP技术实现。Spring的事务管理框架为Java平台带来了一种抽象机制,使本地和全局事务以及嵌套事务能够与保存点一起工作,并且几乎可以在Java平台的任何环境中工作。
2.2 JAVA简介
Java主要采用CORBA技术和安全模型,可以在互联网应用的数据保护。它还提供了对EJB(Enterprise JavaBeans)的全面支持,java servlet API,SPRINGBOOT(java server pages),和XML技术。Java是一种计算机编程语言,具有封装、继承和多态性三个主要特性,广泛应用于企业Web应用程序开发和移动应用程序开发。Java语言和一般编译器以及直译的区别在于,Java首先将源代码转换为字节码,然后将其转换为JVM的可执行文件,JVM可以在各种不同的JVM上运行。因此,实现了它的跨平台特性。虽然这使得Java在早期非常缓慢,但是随着Java的开发,它已经得到了改进。
2.3访问数据库实现方法
(1)首先介绍一下web数据库搜索网络上的基本步骤:
第一步:检查消费者的数据,
第二步:你必须建立与数据库的连接;
第三步:搜索数据库;
第四步:数据的结构;
第五步:该用户的结果被示出。
(2)系统,直到我MYSQL5.0 PHP集成开发环境,如使用WAMP服务器处于开机状态,并且更容易访问数据库的报告开发环境:
一个连接到MySQL数据库服务器Mysql_connect-;
语法:资源的mysql_connect(主机,用户名,密码);
请选择数据库:mysql_select_db(数据库链接标识的名称);
关闭数据库:则mysql_close();
2.4系统对MySQL数据库的两种连接方式
活动的MySQL/ MySQL库,或使用ODBC接口,MySQL数据库是一个双向链接。永久及非永久连接。
(1)永久连接:一个更永久的连接请求的最大优点是可以非常有效的客户站在密切的联系,当连接到MySQL服务器,就更好了。在起草该页面每一个孩子在这个过程中,而不是仅仅在任何时候,只有在到MySQL服务器请求连接的生命周期,一旦连接。此子过程是建立到服务器的单独连接可以是永久性的。
(2)非永久连接:他是短路。提交顺路到Web服务器,服务器处理请求并请求的页面,你要发送的浏览器客户端,然后连接断开。对于大多数网站,它经常通过有效高效率有关,但在大多数情况下,所使用的连接,但它是一个完整的时间,以避免出现任何问题,并可以增加的容量服务器承载。
2.5 MySql数据库
Mysql的语言是非结构化的,用户可以在数据上进行工作。因为Mysql的语言和结构比较简单,但是功能和存储信息量很强大,其速度、可靠性和适应性而备受关注并得到了普遍的应用。Mysql数据库在编程过程中的作用是很广泛的,为用户进行数据查询带来了方便。Mysql数据库的应用特点:灵活性强,功能强大,语言相对要简洁很多。
数据流程分析主要就是数据存储的储藏室,它是在计算机上进行的,而不是现实中的储藏室。数据库管理主要是数据存储、修改和增加以及数据表的建立。数据表的建立,可以对数据表中的数据进行调整,数据的重新组合及重新构造,保证数据的安全性。介于数据库的功能强大等特点,本系统的开发主要应用了Mysql进行对数据的管理。
2.6 Vue.js 主要功能
Vue.js是一套构建用户界面的渐进式框架。与其他重量级框架不同的是,Vue采用自底向上增量开发的设计。Vue 的核心库只关注视图层,并且非常容易学习,非常容易与其它库或已有项目整合。另一方面,Vue 完全有能力驱动采用单文件组件和Vue生态系统支持的库开发的复杂单页应用。
Vue.js 的目标是通过尽可能简单的 API 实现响应的数据绑定和组合的视图组件。
Vue.js 自身不是一个全能框架——它只聚焦于视图层。因此它非常容易学习,非常容易与其它库或已有项目整合。另一方面,在与相关工具和支持库一起使用时,Vue.js 也能驱动复杂的单页应用。
3 需求分析
3.1技术可行性:技术背景
社区疫苗管理网站系统是在Windows操作系统中进行开发运用的,而且目前PC机的各项性能已经可以胜任普通网站的web服务器。系统开发所使用的技术也都是自身所具有的,也是当下广泛应用的技术之一。
系统的开发环境和配置都是可以自行安装的,系统使用Java开发工具,使用比较成熟的Mysql数据库进行对系统前台及后台的数据交互,根据技术语言对数据库,结合需求进行修改维护,可以使得网站运行更具有稳定性和安全性,从而完成实现网站的开发。
(1)硬件可行性分析
系统管理及信息分析的设计对于所使用的计算机没有什么硬性的要求,计算机只要可以正常的使用进行代码的编写及页面设计就可行,主要是对于服务器有些要求,对于平台搭建完成要上传的服务器是有一定的要求的,服务器必须选择安全性比较高的,然后就是在打开网站必须顺畅,不能停顿太长时间;性价比高;安全性高。
(2)软件可行性分析
开发整个系统使用的是云计算,流量的可扩展性和基于流量的智能调整云计算的优点就是流量的可扩展性和基于流量的智能调整,保障了数据信息能够得到及时的备份,整个系统可以安全有效的运行。
因此,我们从两个方面进行了可行性研究,可以看出系统的开发没有问题。
3.2经济可行性
在社区疫苗管理网站系统开发之前所做的市场调研及与其相关的其他管理系统,都是没有任何费用的。所有的调查研究都是通过开发者自己的努力,所有的工作也都是自己亲力亲为的。在碰到自己比较难以解决的问题时,大多数是通过指导老师和同学的帮助进行相关问题的解决。所以对于社区疫苗管理网站系统的开发在经济上是完全可行的,没有任何费用支出的。
使用比较成熟的技术,系统是基于Java的开发,采用Mysql数据库。所以系统在开发人力、财力方面的要求不高,具有经济可行性。
3.3操作可行性:
可操作性主要是对在社区疫苗管理网站系统设计完成后,用户的使用体验度,以及管理员可以通过系统随时管理相关的数据信息,并且对于管理员、用户两个角色,都可以简单明了的进入到自己的系统界面,通过界面导航菜单可以简单明了地操作功能模块,方便用户信息的操作需求和管理员管理数据信息。对于系统的操作,不需要专业人员都可以直接进行功能模块的操作管理,所以社区疫苗管理网站系统的可操作性是完全可以的。本系统的操作使用的也是界面窗口进行登录,所以操作人员只要会简单的电脑操作就完全可以的。
3.4系统设计规则
本社区疫苗管理网站系统采用Java技术,Mysql数据库开发,充分保证了系统稳定性、完整性。
社区疫苗管理网站系统的设计与实现的设计思想如下:
操作简单方便、系统界面安全良好:简单明了的页面布局,方便查询社区疫苗管理网站系统管理的相关信息。
2、即时可见:对社区疫苗管理网站系统信息的处理将立马在对应地点可以查询到,从而实现“即时发布、即时见效”的系统功能。
3、功能的完善性:可以管理首页、网站管理(轮播图、公告信息)人员管理(管理员、仓库管理者、普通用户)内容管理(社区资讯、资讯分类)模块管理(场次管理、疫苗信息、预约信息、取消预约、库存管理、出库信息、进货信息、退货信息、销毁信息、疫苗申请)个人管理模块的修改和维护操作。
3.5系统流程和逻辑
系统业务流程图,如图所示:

图3-1登录流程图

图3-2添加信息流程图

图3-3注册信息流程图
4系统概要设计
4.1 概述
社区疫苗管理网站系统基于Web服务模式,是一个适用于Internet环境下的模型结构。只要用户能连上Internet,便可以在不受时间、地点的限制来使用这个系统。社区疫苗管理网站系统工作原理图,如图4-1所示:

图4-1 系统工作原理图
4.2 系统结构
本系统架构网站系统,本系统的具体功能如下:

图4-2系统功能结构图
整个系统是由多个功能模块组合而成的,要将所有的功能模块都一一列举出来,然后进行逐个的功能设计,使得每一个模块都有相对应的功能设计,然后进行系统整体的设计。
系统功能结构图,如图4-3所示:

图4-3 管理员功能结构图
4.3. 数据库设计
管理员信息结构图,如图4-5所示:

图4-5 管理员信息实体结构图
用户信息实体属性图,如图4-6所示:

图4-6用户信息实体属性图
疫苗信息管理实体属性图如图4-7所示。

图4-7疫苗信息实体属性图
预约信息管理实体属性图如图4-8所示。

4.4 数据表
将数据库概念设计的E-R图转换为关系数据库。在关系数据库中,数据关系由数据表组成,但是表的结构表现在表的字段上。
表access_token (登陆访问时长)
| 编号 | 名称 | 数据类型 | 长度 | 小数位 | 允许空值 | 主键 | 默认值 | 说明 |
| 1 | token_id | int | 10 | 0 | N | Y | 临时访问牌ID | |
| 2 | token | varchar | 64 | 0 | Y | N | 临时访问牌 | |
| 3 | info | text | 65535 | 0 | Y | N | ||
| 4 | maxage | int | 10 | 0 | N | N | 2 | 最大寿命:默认2小时 |
| 5 | create_time | timestamp | 19 | 0 | N | N | CURRENT_TIMESTAMP | 创建时间: |
| 6 | update_time | timestamp | 19 | 0 | N | N | CURRENT_TIMESTAMP | 更新时间: |
| 7 | user_id | int | 10 | 0 | N | N | 0 | 用户编号: |
表appointment_information (预约信息)
| 编号 | 名称 | 数据类型 | 长度 | 小数位 | 允许空值 | 主键 | 默认值 | 说明 |
| 1 | appointment_information_id | int | 10 | 0 | N | Y | 预约信息ID | |
| 2 | inoculation_no | varchar | 64 | 0 | Y | N | 接种序号 | |
| 3 | vaccine_name | varchar | 64 | 0 | Y | N | 疫苗名称 | |
| 4 | vaccine_price | varchar | 64 | 0 | Y | N | 疫苗价格 | |
| 5 | user_account | int | 10 | 0 | Y | N | 0 | 用户账号 |
| 6 | appointment_date | date | 10 | 0 | Y | N | 预约日期 | |
| 7 | inoculation_times | varchar | 64 | 0 | Y | N | 接种场次 | |
| 8 | appointment_crowd | varchar | 64 | 0 | Y | N | 预约人群 | |
| 9 | personnel_information | text | 65535 | 0 | Y | N | 人员信息 | |
| 10 | examine_state | varchar | 16 | 0 | N | N | 未审核 | 审核状态 |
| 11 | examine_reply | varchar | 16 | 0 | Y | N | 审核回复 | |
| 12 | recommend | int | 10 | 0 | N | N | 0 | 智能推荐 |
| 13 | create_time | datetime | 19 | 0 | N | N | CURRENT_TIMESTAMP | 创建时间 |
| 14 | update_time | timestamp | 19 | 0 | N | N | CURRENT_TIMESTAMP | 更新时间 |
| 编号 | 名称 | 数据类型 | 长度 | 小数位 | 允许空值 | 主键 | 默认值 | 说明 |
| 1 | article_id | mediumint | 8 | 0 | N | Y | 文章id:[0,8388607] | |
| 2 | title | varchar | 125 | 0 | N | Y | 标题:[0,125]用于文章和html的title标签中 | |
| 3 | type | varchar | 64 | 0 | N | N | 0 | 文章分类:[0,1000]用来搜索指定类型的文章 |
| 4 | hits | int | 10 | 0 | N | N | 0 | 点击数:[0,1000000000]访问这篇文章的人次 |
| 5 | praise_len | int | 10 | 0 | N | N | 0 | 点赞数 |
| 6 | create_time | timestamp | 19 | 0 | N | N | CURRENT_TIMESTAMP | 创建时间: |
| 7 | update_time | timestamp | 19 | 0 | N | N | CURRENT_TIMESTAMP | 更新时间: |
| 8 | source | varchar | 255 | 0 | Y | N | 来源:[0,255]文章的出处 | |
| 9 | url | varchar | 255 | 0 | Y | N | 来源地址:[0,255]用于跳转到发布该文章的网站 | |
| 10 | tag | varchar | 255 | 0 | Y | N | 标签:[0,255]用于标注文章所属相关内容,多个标签用空格隔开 | |
| 11 | content | longtext | 2147483647 | 0 | Y | N | 正文:文章的主体内容 | |
| 12 | img | varchar | 255 | 0 | Y | N | 封面图 | |
| 13 | description | text | 65535 | 0 | Y | N | 文章描述 |
| 编号 | 名称 | 数据类型 | 长度 | 小数位 | 允许空值 | 主键 | 默认值 | 说明 |
| 1 | type_id | smallint | 5 | 0 | N | Y | 分类ID:[0,10000] | |
| 2 | display | smallint | 5 | 0 | N | N | 100 | 显示顺序:[0,1000]决定分类显示的先后顺序 |
| 3 | name | varchar | 16 | 0 | N | N | 分类名称:[2,16] | |
| 4 | father_id | smallint | 5 | 0 | N | N | 0 | 上级分类ID:[0,32767] |
| 5 | description | varchar | 255 | 0 | Y | N | 描述:[0,255]描述该分类的作用 | |
| 6 | icon | text | 65535 | 0 | Y | N | 分类图标: | |
| 7 | url | varchar | 255 | 0 | Y | N | 外链地址:[0,255]如果该分类是跳转到其他网站的情况下,就在该URL上设置 | |
| 8 | create_time | timestamp | 19 | 0 | N | N | CURRENT_TIMESTAMP | 创建时间: |
| 9 | update_time | timestamp | 19 | 0 | N | N | CURRENT_TIMESTAMP | 更新时间: |
| 编号 | 名称 | 数据类型 | 长度 | 小数位 | 允许空值 | 主键 | 默认值 | 说明 |
| 1 | auth_id | int | 10 | 0 | N | Y | 授权ID: | |
| 2 | user_group | varchar | 64 | 0 | Y | N | 用户组: | |
| 3 | mod_name | varchar | 64 | 0 | Y | N | 模块名: | |
| 4 | table_name | varchar | 64 | 0 | Y | N | 表名: | |
| 5 | page_title | varchar | 255 | 0 | Y | N | 页面标题: | |
| 6 | path | varchar | 255 | 0 | Y | N | 路由路径: | |
| 7 | position | varchar | 32 | 0 | Y | N | 位置: | |
| 8 | mode | varchar | 32 | 0 | N | N | _blank | 跳转方式: |
| 9 | add | tinyint | 3 | 0 | N | N | 1 | 是否可增加: |
| 10 | del | tinyint | 3 | 0 | N | N | 1 | 是否可删除: |
| 11 | set | tinyint | 3 | 0 | N | N | 1 | 是否可修改: |
| 12 | get | tinyint | 3 | 0 | N | N | 1 | 是否可查看: |
| 13 | field_add | text | 65535 | 0 | Y | N | 添加字段: | |
| 14 | field_set | text | 65535 | 0 | Y | N | 修改字段: | |
| 15 | field_get | text | 65535 | 0 | Y | N | 查询字段: | |
| 16 | table_nav_name | varchar | 500 | 0 | Y | N | 跨表导航名称: | |
| 17 | table_nav | varchar | 500 | 0 | Y | N | 跨表导航: | |
| 18 | option | text | 65535 | 0 | Y | N | 配置: | |
| 19 | create_time | timestamp | 19 | 0 | N | N | CURRENT_TIMESTAMP | 创建时间: |
| 20 | update_time | timestamp | 19 | 0 | N | N | CURRENT_TIMESTAMP | 更新时间: |
| 编号 | 名称 | 数据类型 | 长度 | 小数位 | 允许空值 | 主键 | 默认值 | 说明 |
| 1 | cancel_reservation_id | int | 10 | 0 | N | Y | 取消预约ID | |
| 2 | inoculation_no | varchar | 64 | 0 | N | N | 接种序号 | |
| 3 | vaccine_name | varchar | 64 | 0 | Y | N | 疫苗名称 | |
| 4 | user_account | int | 10 | 0 | Y | N | 0 | 用户账号 |
| 5 | inoculation_times | varchar | 64 | 0 | Y | N | 接种场次 | |
| 6 | appointment_crowd | varchar | 64 | 0 | Y | N | 预约人群 | |
| 7 | reason_for_cancellation | text | 65535 | 0 | Y | N | 取消原因 | |
| 8 | findings_of_audit | varchar | 64 | 0 | Y | N | 审核结果 | |
| 9 | reply_message | text | 65535 | 0 | Y | N | 回复信息 | |
| 10 | recommend | int | 10 | 0 | N | N | 0 | 智能推荐 |
| 11 | create_time | datetime | 19 | 0 | N | N | CURRENT_TIMESTAMP | 创建时间 |
| 12 | update_time | timestamp | 19 | 0 | N | N | CURRENT_TIMESTAMP | 更新时间 |
| 编号 | 名称 | 数据类型 | 长度 | 小数位 | 允许空值 | 主键 | 默认值 | 说明 |
| 1 | collect_id | int | 10 | 0 | N | Y | 收藏ID: | |
| 2 | user_id | int | 10 | 0 | N | N | 0 | 收藏人ID: |
| 3 | source_table | varchar | 255 | 0 | Y | N | 来源表: | |
| 4 | source_field | varchar | 255 | 0 | Y | N | 来源字段: | |
| 5 | source_id | int | 10 | 0 | N | N | 0 | 来源ID: |
| 6 | title | varchar | 255 | 0 | Y | N | 标题: | |
| 7 | img | varchar | 255 | 0 | Y | N | 封面: | |
| 8 | create_time | timestamp | 19 | 0 | N | N | CURRENT_TIMESTAMP | 创建时间: |
| 9 | update_time | timestamp | 19 | 0 | N | N | CURRENT_TIMESTAMP | 更新时间: |
| 编号 | 名称 | 数据类型 | 长度 | 小数位 | 允许空值 | 主键 | 默认值 | 说明 |
| 1 | comment_id | int | 10 | 0 | N | Y | 评论ID: | |
| 2 | user_id | int | 10 | 0 | N | N | 0 | 评论人ID: |
| 3 | reply_to_id | int | 10 | 0 | N | N | 0 | 回复评论ID:空为0 |
| 4 | content | longtext | 2147483647 | 0 | Y | N | 内容: | |
| 5 | nickname | varchar | 255 | 0 | Y | N | 昵称: | |
| 6 | avatar | varchar | 255 | 0 | Y | N | 头像地址:[0,255] | |
| 7 | create_time | timestamp | 19 | 0 | N | N | CURRENT_TIMESTAMP | 创建时间: |
| 8 | update_time | timestamp | 19 | 0 | N | N | CURRENT_TIMESTAMP | 更新时间: |
| 9 | source_table | varchar | 255 | 0 | Y | N | 来源表: | |
| 10 | source_field | varchar | 255 | 0 | Y | N | 来源字段: | |
| 11 | source_id | int | 10 | 0 | N | N | 0 | 来源ID: |
| 编号 | 名称 | 数据类型 | 长度 | 小数位 | 允许空值 | 主键 | 默认值 | 说明 |
| 1 | destroy_information_id | int | 10 | 0 | N | Y | 销毁信息ID | |
| 2 | vaccine_no | varchar | 64 | 0 | Y | N | 疫苗编号 | |
| 3 | vaccine_name | varchar | 64 | 0 | Y | N | 疫苗名称 | |
| 4 | destruction_time | date | 10 | 0 | Y | N | 销毁时间 | |
| 5 | quantity_destroyed | int | 10 | 0 | Y | N | 0 | 销毁数量 |
| 6 | remarks | text | 65535 | 0 | Y | N | 备注信息 | |
| 7 | recommend | int | 10 | 0 | N | N | 0 | 智能推荐 |
| 8 | create_time | datetime | 19 | 0 | N | N | CURRENT_TIMESTAMP | 创建时间 |
| 9 | update_time | timestamp | 19 | 0 | N | N | CURRENT_TIMESTAMP | 更新时间 |
| 编号 | 名称 | 数据类型 | 长度 | 小数位 | 允许空值 | 主键 | 默认值 | 说明 |
| 1 | hits_id | int | 10 | 0 | N | Y | 点赞ID: | |
| 2 | user_id | int | 10 | 0 | N | N | 0 | 点赞人: |
| 3 | create_time | timestamp | 19 | 0 | N | N | CURRENT_TIMESTAMP | 创建时间: |
| 4 | update_time | timestamp | 19 | 0 | N | N | CURRENT_TIMESTAMP | 更新时间: |
| 5 | source_table | varchar | 255 | 0 | Y | N | 来源表: | |
| 6 | source_field | varchar | 255 | 0 | Y | N | 来源字段: | |
| 7 | source_id | int | 10 | 0 | N | N | 0 | 来源ID: |
| 编号 | 名称 | 数据类型 | 长度 | 小数位 | 允许空值 | 主键 | 默认值 | 说明 |
| 1 | inventory_management_id | int | 10 | 0 | N | Y | 库存管理ID | |
| 2 | vaccine_no | varchar | 64 | 0 | Y | N | 疫苗编号 | |
| 3 | vaccine_name | varchar | 64 | 0 | Y | N | 疫苗名称 | |
| 4 | vaccine_origin | varchar | 64 | 0 | Y | N | 疫苗产地 | |
| 5 | inventory_quantity | int | 10 | 0 | Y | N | 0 | 库存数量 |
| 6 | imported_or_not | varchar | 64 | 0 | Y | N | 是否进口 | |
| 7 | usage | varchar | 64 | 0 | Y | N | 使用方式 | |
| 8 | recommend | int | 10 | 0 | N | N | 0 | 智能推荐 |
| 9 | create_time | datetime | 19 | 0 | N | N | CURRENT_TIMESTAMP | 创建时间 |
| 10 | update_time | timestamp | 19 | 0 | N | N | CURRENT_TIMESTAMP | 更新时间 |
| 编号 | 名称 | 数据类型 | 长度 | 小数位 | 允许空值 | 主键 | 默认值 | 说明 |
| 1 | notice_id | mediumint | 8 | 0 | N | Y | 公告id: | |
| 2 | title | varchar | 125 | 0 | N | N | 标题: | |
| 3 | content | longtext | 2147483647 | 0 | Y | N | 正文: | |
| 4 | create_time | timestamp | 19 | 0 | N | N | CURRENT_TIMESTAMP | 创建时间: |
| 5 | update_time | timestamp | 19 | 0 | N | N | CURRENT_TIMESTAMP | 更新时间: |
| 编号 | 名称 | 数据类型 | 长度 | 小数位 | 允许空值 | 主键 | 默认值 | 说明 |
| 1 | ordinary_users_id | int | 10 | 0 | N | Y | 普通用户ID | |
| 2 | user_name | varchar | 64 | 0 | Y | N | 用户姓名 | |
| 3 | user_gender | varchar | 64 | 0 | Y | N | 用户性别 | |
| 4 | id_number | varchar | 255 | 0 | Y | N | 身份证号 | |
| 5 | personal_profile | text | 65535 | 0 | Y | N | 个人简介 | |
| 6 | examine_state | varchar | 16 | 0 | N | N | 已通过 | 审核状态 |
| 7 | recommend | int | 10 | 0 | N | N | 0 | 智能推荐 |
| 8 | user_id | int | 10 | 0 | N | N | 0 | 用户ID |
| 9 | create_time | datetime | 19 | 0 | N | N | CURRENT_TIMESTAMP | 创建时间 |
| 10 | update_time | timestamp | 19 | 0 | N | N | CURRENT_TIMESTAMP | 更新时间 |
| 编号 | 名称 | 数据类型 | 长度 | 小数位 | 允许空值 | 主键 | 默认值 | 说明 |
| 1 | outbound_information_id | int | 10 | 0 | N | Y | 出库信息ID | |
| 2 | vaccine_no | varchar | 64 | 0 | Y | N | 疫苗编号 | |
| 3 | vaccine_name | varchar | 64 | 0 | Y | N | 疫苗名称 | |
| 4 | delivery_date | date | 10 | 0 | Y | N | 出库日期 | |
| 5 | delivery_quantity | int | 10 | 0 | Y | N | 0 | 出库数量 |
| 6 | remarks | text | 65535 | 0 | Y | N | 备注信息 | |
| 7 | recommend | int | 10 | 0 | N | N | 0 | 智能推荐 |
| 8 | create_time | datetime | 19 | 0 | N | N | CURRENT_TIMESTAMP | 创建时间 |
| 9 | update_time | timestamp | 19 | 0 | N | N | CURRENT_TIMESTAMP | 更新时间 |
| 编号 | 名称 | 数据类型 | 长度 | 小数位 | 允许空值 | 主键 | 默认值 | 说明 |
| 1 | praise_id | int | 10 | 0 | N | Y | 点赞ID: | |
| 2 | user_id | int | 10 | 0 | N | N | 0 | 点赞人: |
| 3 | create_time | timestamp | 19 | 0 | N | N | CURRENT_TIMESTAMP | 创建时间: |
| 4 | update_time | timestamp | 19 | 0 | N | N | CURRENT_TIMESTAMP | 更新时间: |
| 5 | source_table | varchar | 255 | 0 | Y | N | 来源表: | |
| 6 | source_field | varchar | 255 | 0 | Y | N | 来源字段: | |
| 7 | source_id | int | 10 | 0 | N | N | 0 | 来源ID: |
| 8 | status | bit | 1 | 0 | N | N | 1 | 点赞状态:1为点赞,0已取消 |
| 编号 | 名称 | 数据类型 | 长度 | 小数位 | 允许空值 | 主键 | 默认值 | 说明 |
| 1 | purchase_information_id | int | 10 | 0 | N | Y | 进货信息ID | |
| 2 | vaccine_no | varchar | 64 | 0 | Y | N | 疫苗编号 | |
| 3 | vaccine_name | varchar | 64 | 0 | Y | N | 疫苗名称 | |
| 4 | warehousing_date | date | 10 | 0 | Y | N | 入库日期 | |
| 5 | receipt_quantity | int | 10 | 0 | Y | N | 0 | 入库数量 |
| 6 | supplier | varchar | 64 | 0 | Y | N | 供应商家 | |
| 7 | recommend | int | 10 | 0 | N | N | 0 | 智能推荐 |
| 8 | create_time | datetime | 19 | 0 | N | N | CURRENT_TIMESTAMP | 创建时间 |
| 9 | update_time | timestamp | 19 | 0 | N | N | CURRENT_TIMESTAMP | 更新时间 |
| 编号 | 名称 | 数据类型 | 长度 | 小数位 | 允许空值 | 主键 | 默认值 | 说明 |
| 1 | return_information_id | int | 10 | 0 | N | Y | 退货信息ID | |
| 2 | vaccine_no | varchar | 64 | 0 | Y | N | 疫苗编号 | |
| 3 | vaccine_name | varchar | 64 | 0 | Y | N | 疫苗名称 | |
| 4 | return_time | date | 10 | 0 | Y | N | 退货时间 | |
| 5 | return_quantity | int | 10 | 0 | Y | N | 0 | 退货数量 |
| 6 | return_reason | text | 65535 | 0 | Y | N | 退货原因 | |
| 7 | recommend | int | 10 | 0 | N | N | 0 | 智能推荐 |
| 8 | create_time | datetime | 19 | 0 | N | N | CURRENT_TIMESTAMP | 创建时间 |
| 9 | update_time | timestamp | 19 | 0 | N | N | CURRENT_TIMESTAMP | 更新时间 |
| 编号 | 名称 | 数据类型 | 长度 | 小数位 | 允许空值 | 主键 | 默认值 | 说明 |
| 1 | session_management_id | int | 10 | 0 | N | Y | 场次管理ID | |
| 2 | inoculation_times | varchar | 64 | 0 | Y | N | 接种场次 | |
| 3 | recommend | int | 10 | 0 | N | N | 0 | 智能推荐 |
| 4 | create_time | datetime | 19 | 0 | N | N | CURRENT_TIMESTAMP | 创建时间 |
| 5 | update_time | timestamp | 19 | 0 | N | N | CURRENT_TIMESTAMP | 更新时间 |
| 编号 | 名称 | 数据类型 | 长度 | 小数位 | 允许空值 | 主键 | 默认值 | 说明 |
| 1 | slides_id | int | 10 | 0 | N | Y | 轮播图ID: | |
| 2 | title | varchar | 64 | 0 | Y | N | 标题: | |
| 3 | content | varchar | 255 | 0 | Y | N | 内容: | |
| 4 | url | varchar | 255 | 0 | Y | N | 链接: | |
| 5 | img | varchar | 255 | 0 | Y | N | 轮播图: | |
| 6 | hits | int | 10 | 0 | N | N | 0 | 点击量: |
| 7 | create_time | timestamp | 19 | 0 | N | N | CURRENT_TIMESTAMP | 创建时间: |
| 8 | update_time | timestamp | 19 | 0 | N | N | CURRENT_TIMESTAMP | 更新时间: |
| 编号 | 名称 | 数据类型 | 长度 | 小数位 | 允许空值 | 主键 | 默认值 | 说明 |
| 1 | upload_id | int | 10 | 0 | N | Y | 上传ID | |
| 2 | name | varchar | 64 | 0 | Y | N | 文件名 | |
| 3 | path | varchar | 255 | 0 | Y | N | 访问路径 | |
| 4 | file | varchar | 255 | 0 | Y | N | 文件路径 | |
| 5 | display | varchar | 255 | 0 | Y | N | 显示顺序 | |
| 6 | father_id | int | 10 | 0 | Y | N | 0 | 父级ID |
| 7 | dir | varchar | 255 | 0 | Y | N | 文件夹 | |
| 8 | type | varchar | 32 | 0 | Y | N | 文件类型 |
| 编号 | 名称 | 数据类型 | 长度 | 小数位 | 允许空值 | 主键 | 默认值 | 说明 |
| 1 | user_id | mediumint | 8 | 0 | N | Y | 用户ID:[0,8388607]用户获取其他与用户相关的数据 | |
| 2 | state | smallint | 5 | 0 | N | N | 1 | 账户状态:[0,10](1可用|2异常|3已冻结|4已注销) |
| 3 | user_group | varchar | 32 | 0 | Y | N | 所在用户组:[0,32767]决定用户身份和权限 | |
| 4 | login_time | timestamp | 19 | 0 | N | N | CURRENT_TIMESTAMP | 上次登录时间: |
| 5 | phone | varchar | 11 | 0 | Y | N | 手机号码:[0,11]用户的手机号码,用于找回密码时或登录时 | |
| 6 | phone_state | smallint | 5 | 0 | N | N | 0 | 手机认证:[0,1](0未认证|1审核中|2已认证) |
| 7 | username | varchar | 16 | 0 | N | N | 用户名:[0,16]用户登录时所用的账户名称 | |
| 8 | nickname | varchar | 16 | 0 | Y | N | 昵称:[0,16] | |
| 9 | password | varchar | 64 | 0 | N | N | 密码:[0,32]用户登录所需的密码,由6-16位数字或英文组成 | |
| 10 | | varchar | 64 | 0 | Y | N | 邮箱:[0,64]用户的邮箱,用于找回密码时或登录时 | |
| 11 | email_state | smallint | 5 | 0 | N | N | 0 | 邮箱认证:[0,1](0未认证|1审核中|2已认证) |
| 12 | avatar | varchar | 255 | 0 | Y | N | 头像地址:[0,255] | |
| 13 | create_time | timestamp | 19 | 0 | N | N | CURRENT_TIMESTAMP | 创建时间: |
| 编号 | 名称 | 数据类型 | 长度 | 小数位 | 允许空值 | 主键 | 默认值 | 说明 |
| 1 | group_id | mediumint | 8 | 0 | N | Y | 用户组ID:[0,8388607] | |
| 2 | display | smallint | 5 | 0 | N | N | 100 | 显示顺序:[0,1000] |
| 3 | name | varchar | 16 | 0 | N | N | 名称:[0,16] | |
| 4 | description | varchar | 255 | 0 | Y | N | 描述:[0,255]描述该用户组的特点或权限范围 | |
| 5 | source_table | varchar | 255 | 0 | Y | N | 来源表: | |
| 6 | source_field | varchar | 255 | 0 | Y | N | 来源字段: | |
| 7 | source_id | int | 10 | 0 | N | N | 0 | 来源ID: |
| 8 | register | smallint | 5 | 0 | Y | N | 0 | 注册位置: |
| 9 | create_time | timestamp | 19 | 0 | N | N | CURRENT_TIMESTAMP | 创建时间: |
| 10 | update_time | timestamp | 19 | 0 | N | N | CURRENT_TIMESTAMP | 更新时间: |
| 编号 | 名称 | 数据类型 | 长度 | 小数位 | 允许空值 | 主键 | 默认值 | 说明 |
| 1 | vaccine_application_id | int | 10 | 0 | N | Y | 疫苗申请ID | |
| 2 | vaccine_no | varchar | 64 | 0 | Y | N | 疫苗编号 | |
| 3 | vaccine_name | varchar | 64 | 0 | Y | N | 疫苗名称 | |
| 4 | application_date | date | 10 | 0 | Y | N | 申请日期 | |
| 5 | number_of_applications | int | 10 | 0 | Y | N | 0 | 申请数量 |
| 6 | remarks | text | 65535 | 0 | Y | N | 备注信息 | |
| 7 | recommend | int | 10 | 0 | N | N | 0 | 智能推荐 |
| 8 | create_time | datetime | 19 | 0 | N | N | CURRENT_TIMESTAMP | 创建时间 |
| 9 | update_time | timestamp | 19 | 0 | N | N | CURRENT_TIMESTAMP | 更新时间 |
| 编号 | 名称 | 数据类型 | 长度 | 小数位 | 允许空值 | 主键 | 默认值 | 说明 |
| 1 | vaccine_information_id | int | 10 | 0 | N | Y | 疫苗信息ID | |
| 2 | vaccine_name | varchar | 64 | 0 | Y | N | 疫苗名称 | |
| 3 | usage | varchar | 64 | 0 | Y | N | 使用方式 | |
| 4 | imported_or_not | varchar | 64 | 0 | Y | N | 是否进口 | |
| 5 | inoculation_times | varchar | 64 | 0 | Y | N | 接种场次 | |
| 6 | vaccine_type | varchar | 64 | 0 | Y | N | 疫苗种类 | |
| 7 | vaccine_price | int | 10 | 0 | Y | N | 0 | 疫苗价格 |
| 8 | inoculation_site | varchar | 64 | 0 | Y | N | 接种地点 | |
| 9 | cover_photo | varchar | 255 | 0 | Y | N | 封面图片 | |
| 10 | reservation_instructions | text | 65535 | 0 | Y | N | 预约须知 | |
| 11 | adverse_reactions | text | 65535 | 0 | Y | N | 不良反应 | |
| 12 | vaccine_details | longtext | 2147483647 | 0 | Y | N | 疫苗详情 | |
| 13 | hits | int | 10 | 0 | N | N | 0 | 点击数 |
| 14 | praise_len | int | 10 | 0 | N | N | 0 | 点赞数 |
| 15 | recommend | int | 10 | 0 | N | N | 0 | 智能推荐 |
| 16 | create_time | datetime | 19 | 0 | N | N | CURRENT_TIMESTAMP | 创建时间 |
| 17 | update_time | timestamp | 19 | 0 | N | N | CURRENT_TIMESTAMP | 更新时间 |
| 编号 | 名称 | 数据类型 | 长度 | 小数位 | 允许空值 | 主键 | 默认值 | 说明 |
| 1 | warehouse_manager_id | int | 10 | 0 | N | Y | 仓库管理者ID | |
| 2 | warehouse_keeper_no | varchar | 64 | 0 | N | N | 仓管工号 | |
| 3 | name_of_warehouse_keeper | varchar | 64 | 0 | Y | N | 仓管姓名 | |
| 4 | user_gender | varchar | 64 | 0 | Y | N | 用户性别 | |
| 5 | examine_state | varchar | 16 | 0 | N | N | 已通过 | 审核状态 |
| 6 | recommend | int | 10 | 0 | N | N | 0 | 智能推荐 |
| 7 | user_id | int | 10 | 0 | N | N | 0 | 用户ID |
| 8 | create_time | datetime | 19 | 0 | N | N | CURRENT_TIMESTAMP | 创建时间 |
| 9 | update_time | timestamp | 19 | 0 | N | N | CURRENT_TIMESTAMP | 更新时间 |
5 系统详细设计
5.1管理员功能模块
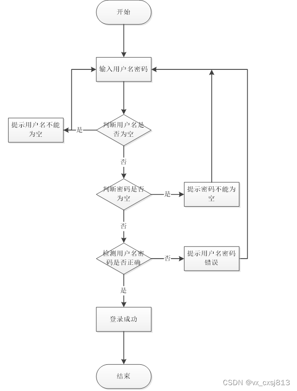
管理员登录,管理员通过输入用户,密码,角色等信息进行系统登录,如图5-1所示。

图5-1管理员登录界面图
管理员登录进入社区疫苗管理网站系统可以查看管理员:首页、网站管理(轮播图、公告信息)人员管理(管理员、仓库管理者、普通用户)内容管理(社区资讯、资讯分类)模块管理(场次管理、疫苗信息、预约信息、取消预约、库存管理、出库信息、进货信息、退货信息、销毁信息、疫苗申请)个人管理等内容,如图5-2所示。

图5-2管理员功能界面图
用户管理,在用户管理页面可以查看等索引、用户账号、密码、用户姓名、性别、年龄、联系电话、个人照片等信息,并可根据需要进行修改或删除等操作,如图5-3所示。

图5-3用户管理界面图
疫苗信息,在疫苗信息页面可以查看索引、疫苗名称、使用方式、是否进口、接种场次、疫苗种类、疫苗价格、接种地点、封面图片等信息,并可根据需要进行修改或删除等操作,如图5-4所示。

图5-4疫苗信息界面图
预约信息,在预约信息页面可以查看索引、用户名、姓名、联系方式、疫苗名称、预约时间、接种场次、人员信息等,并可根据需要进行修改或删除等操作,如图5-5所示。

图5-5预约信息界面图
取消预约,在取消预约页面可以查看索引、疫苗名称、用户账号、接种场次、预约人群、取消原因、审核结果、回复等信息,并可根据需要进行修改或删除等操作,如图5-6所示。

图5-6取消预约界面图
疫苗申请,在疫苗申请页面可以查看索引、疫苗编号、申请数量、疫苗名称、备注信息、申请日期等信息,并可根据需要进行修改或删除等操作,如图5-6所示。

图5-7疫苗申请界面图
5.2用户后台功能模块
用户注册,在用户注册页面通过填写用户账号、密码、用户姓名、年龄、联系电话、电子邮箱、身份证号、家庭地址等信息完成用户注册,如图5-8所示。

图5-8用户注册界面图
用户登录进入后台可以查看首页、预约信息、取消预约、个人管理等内容,如图5-9所示。

图5-9用户功能界面图
个人中心,在个人中心页面通过填写用户账号、用户姓名、性别、年龄、联系电话、电子邮箱、身份证号、个人照片等信息进行修改,如图5-10所示。

图5-10个人中心界面图
接种预约管理,在接种预约管理页面可以查看接种序号、疫苗名称、疫苗价格、用户账号、预约日期、接种场次、预约人群、人员信息等信息,如图5-12所示。

图5-12接种预约界面图
6 系统测试
6.1系统测试的目的
程序设计不能保证没有错误,这是一个开发过程,在错误或错误的过程中都是难以避免的。虽然这是不可避免的,但我们不能使这些错误始终存在于系统中,错误可能会造成无法估量的后果,如系统崩溃,安全信息泄露,系统无法正常启动等,为了避免这些问题我们需要测试程序,在测试过程中发现问题并纠正它们,从而使系统更长时间稳定成熟。
本章的作用是发现这些问题,并对其进行修改,虽然耗时费力,但对于长期使用而言是非常重要和必要系统的开发。
软件在设计后必须进行测试,调试过程中使用的方法是软件测试方法。在开发新软件时,系统测试是检查软件是否合格的关键步骤,以及是否符合设计目标的参考。测试主要是查看软件中数据的准确性,正确的操作与否,以及操作的结果,还有哪些方面需要改进。
社区疫苗管理网站系统的实现,对于系统中功能模块的实现及操作都必须通过测试进行来评判系统是否可以准确的实现。在社区疫苗管理网站系统正式上传使用之前必须做的一步就是系统测试,对于测试发现的错误及时修改处理,保证系统准确无误的供给用户使用。
6.2系统测试方法
在对社区疫苗管理网站系统进行测试的时候在找到问题的情况下必须在第一时间找到解决问题的办法,不要存在侥幸的心理,这样才能让疫情防控信息管理开发的质量可以过关,并且开发的周期会大大缩短,还有就是在测试时,不要出现重复性的错误,遇到一个错误问题,要将整个社区疫苗管理网站系统开发所牵扯的该问题都必须一一解决,提高疫情防控信息管理平台的安全性、稳定性。
白盒测试与黑盒测试是测试中比较常用的两种方法。
①结构测试俗称白盒测试:这种测试是在对程序的处理过程与结构都有详尽谅解的前提下,顺从程序内部的逻辑而完成的系统测试,以确定系统中所有的通路都能够遵照设计要求正常工作,不出现任何偏差。
②功能测试又成黑盒测试:主要是针对程序功能能够按照设计正常实现的一种检测,在程序接口处进行,检测程序手法数据是否正常,与外部信息的交换是否完整。
6.3测试过程
在软件的测试过程中,通常测试人员需要针对不同的功能模块设计多种测试用例。通过测试用例能够及时发现代码业务逻辑上是否与真实的业务逻辑相对应,及时发现代码上或逻辑上的缺陷,以此来来完善系统,提高软件产品的质量,使软件具有良好的用户体验。
注册测试用例表如下所示。
表6-1注册测试用例
| 测试性能 | 新用户注册 | ||
| 用例目的 | 测试系统新用户个人信息注册功能的功能和安全性 | ||
| 前提条件 | 进入注册页面填写个人信息 | ||
| 输入条件 | 预期输出 | 实际情况 | |
| 各项基本信息输入不完整 | 不允许注册,无法点击注册按钮 | 一致 | |
| 填写已存在的用户名 | 系统显示出提示信息,要求重新填写 | 一致 | |
| 两次密码输入不一致 | 系统显示出提示信息,要求重新填写 | 一致 | |
| 填写的各项信息没有符合提示的长度和字符要求 | 系统显示出提示信息,要求重新填写 | 一致 | |
| 胡乱填写电话号码 | 收不到验证码 | 一致 | |
| 填写验证码与收到的不一致 | 系统显示提示信息告知用户验证码错误,不予注册 | 一致 | |
登录测试用例表如下所示。
表6-2登录测试用例
| 测试性能 | 用户或操作员登录系统 | ||
| 用例目的 | 测试用户或操作员登录系统时功能是否正常 | ||
| 前提条件 | 进入用户登录页面或操作员登录页面 | ||
| 输入条件 | 预期输出 | 实际情况 | |
| 各项信息不予填写,直接点击登陆按钮 | 不允许登录,提示填写账号相关信息 | 一致 | |
| 填写错误的登录名或密码后点击登录系统 | 提示用户名或密码错误,要求重新填写进行登录 | 一致 | |
| 填写与验证码信息不一致的信息 | 系统显示出提示信息,表明验证码错误,要求重新填写 | 一致 | |
6.4 测试结果
经过对一系列测试结果的有效分析,本平台开发系统符合用户的要求和需求。所有的基本功能相对齐全,操作起来简单方便,测试系统性能良好,作为大众化系统使用是比较值得推广宣传的。
本系统通过对java和Mysql数据库的简介,从硬件和软件两反面说明了社区疫苗管理网站系统的可行性,本文结论及研究成果如下:实现了java与Mysql相结合构建的社区疫苗管理网站系统,网站可以响应式展示。通过本次社区疫苗管理网站系统的研究与实现,我感到学海无涯,学习是没有终点的,而且实践出真知,只有多动手才能尽快掌握它,经验对系统的开发非常重要,经验不足,就难免会有许多考虑不周之处。比如要有美观的界面,更完善的功能,才能吸引更多的用户。
由于在此之前对于java知识没有深入了解,所以从一开始就碰到许多困难,例如一开始的页面显示不规范、数据库连接有问题已经无法实现参数的传递等等,不过通过在网上寻找有关资料以及同学的帮助下最后都得到了解决,在此过程中,我不仅学到了很多知识,也提高了自己解决问题的能力,尤其是学会如何从大量的信息中筛选出所需有用的信息,同时我更加深刻的体会到了,虽然书本上的大部分知识都是有价值,正确的,但实际上每个人编程的思路和对数据处理的方法、思想都是不同的,这就要求我们一定要通过实践才能找到解决问题的方案。在此次毕业设计活动中,我不断的提高了自己,也得到了宝贵的经验,我相信这些对我以后的发展都会有很大帮助。
通过这次社区疫苗管理网站系统的开发,我参考了很多相关系统的例子,取长补短,吸取了其他系统的长处,逐步对该系统进行了完善,但是该系统还是有很多的不足之处,有待以后进一步学习。
实践证明,社区疫苗管理网站系统有着非常好的发展前景,经过测试运行,系统各项功能都十分完善,界面漂亮,使用方便,操作容易,在技术理论上已经成熟。
致 谢
毕业设计结束的同时也意味着四年的大学生活就要结束了。社区疫苗管理网站系统的完成以及如何在系统运行过程中实现的更好,这其中付出了很大的努力,这段时光将会终身难忘。
在毕业设计的这一段时间里,离不开导师的细心指导,还有同学们的热情帮助,有时候几个同学在一起讨论系统中的某个功能模块如何实现,如何实现的更好,或是问题没得到有效的解决,就会没有心思做其他的事情,让我们对学习充满了动力。
在毕业设计即将结束之时,首先要感谢我的指导老师,谢谢您在毕业设计和毕业论文中对我的指导。在您的细心指导下我才能快速的掌握系统的相关功能,在您的大力帮助下我才能将课本上的知识与自己的项目结合,真正的做到学以致用。感谢您经常牺牲自己的休息时间,利用其丰富的教学和项目经验对我进行指导。课堂上,您教会我们如何学习、教会我们新的知识,在课下,您又像朋友一样亲切,教会了我很多道理,让我意识到先做人、后做事。感谢所有教过我的老师,为我倾注了大量的心血,正是你们的谆谆教诲、严谨教学才使我能顺利的完成学业,再此向你们表示深深的感谢。感谢大学里教过我的每一位老师,真心祝福您们。
在这里还得感谢我的战友们,也就是同学们对我的大力支持及帮助。正是因为有你们的不断帮助、鼓励,熬夜通宵,不停的调试、测试程序,给我带来了极大的动力,才能最终完成网站的运行。我们在一起交流、谈论的时光,都将是我们在通往未来道路上的宝贵财富。我要深深地感谢你们!
毕业在即,在今后的工作和生活中,我会铭记师长们的教诲、同学们的帮助,继续不懈努力和追求,来报答所有支持和帮助过我的人!
最后,我要向牺牲了休息时间来对本文进行审阅,评议和参与论文答辩的各位老师表示深深的感谢。在此,衷心的谢谢您们!
[1]徐佩.新时期计算机软件开发技术的应用及发展趋势[J].农家参谋,2019(08):167.
[2]张帅,崔婀娜,魏立波.互联网+健康在线服务平台的设计与实现[J].科技创新与应用,2019(10):91-92.
[3]谷利国,陈存田,张甲瑞.基于B/S模式的人事教育信息管理系统的分析与设计[J].电脑知识与技术,2019,15(10):58-59.
[4]胥新政,强毅.基于JSP的常用金属材料标准检索平台开发设计[J].制造业自动化,2019,41(03):41-43+69.
[5]王祖维,南淮耀,张英.“互联网+”视域下的高校学生公寓管理系统设计与实现——以沈阳师范大学为例[J].现代商贸工业,2019,40(08):187-188.
[6]廖明华,齐攀.学生职业能力测评管理系统的设计与实现[J].广东交通职业技术学院学报,2019,18(01):48-52.
[7]李冬冬,刘华明,毕学慧,王秀友.旧衣申领系统的设计与实现[J].电脑知识与技术,2019,15(08):47-50.
[8]李庆年.“互联网+”视域下的人才招聘管理系统设计与实现[J].国际公关,2019(03):164-165.
[9]刘婷,彭焕峰,邵淑婷.基于云平台的高校监考管理系统[J].电脑知识与技术,2019,15(07):91-92.
[10]赵丙秀.基于百度AI平台的Web人脸注册和登录系统的实现[J].电脑知识与技术,2019,15(07):114-115.
[11]戴昭颖,尹涛.钢铁行业成本预算系统开发应用实践[J].电子技术与软件工程,2019(04):29-30.
[12]曹灿,刘志刚.基于SSH和Layui的工程科学前沿与实践系统[J].工业控制计算机,2019,32(02):91-92+96.
[13]谢路.基于Web的考务管理系统设计与实现[J].福建电脑,2019,35(01):136-137.
[14]张继东.MySQL数据库基于JSP的访问技术[J/OL].电子技术与软件工程,2017,(15):169(2017-08-03).
[15]韩思凡.Web开发中的JSP与HTML的基础应用[J].科学技术创新,2020(14):71-72.
[16]NastitiAndini,DaehaKim,JongAhnChun.Operationalsoilmoisturemodelingusingamulti-stageapproachbasedonthegeneralizedcomplementaryprinciple[J].AgriculturalWaterManagement,2020,231.
[17]A.D.Titisari,D.Phillips,I.W.Warmada,Hartono,A.Idrus.40Ar/39ArgeochronologyofthePongkorlowsulfidationepithermalgoldmineralisation,WestJava,Indonesia[J].OreGeologyReviews,2020,119.
[18]FranciscoOrtin,OscarRodriguez-Prieto,NicolasPascual,MiguelGarcia.HeterogeneoustreestructureclassificationtolabelJavaprogrammersaccordingtotheirexpertiselevel[J].FutureGenerationComputerSystems,2020,105.
[19]SatyaKrismatama,IndahRiyantini,IwangGumilar,LantunParadhitaDewanti.SelectivityofFishingGearforScomberomorusguttatus(Bloch&Schneider,1801)CommoditiesinPangandaranFishingGround,WestJava[J].AsianJournalofFisheriesandAquaticResearch,2020.
[20]ZhongXiangfu,PlaAlbert,RaynerSimon.Jasmine:aJavapipelineforisomiRcharacterizationinmiRNA-Seqdata[J].Bioinformatics,2020
免费领取项目源码,请关注❤点赞收藏并私信博主,谢谢-
本文围绕社区疫苗管理网站系统展开,前端采用Vue.js框架,后端用Spring Boot框架,数据库选用MySQL。介绍了系统开发环境、需求分析、概要设计、详细设计等内容,还进行了系统测试,结果表明系统符合用户需求,功能完善、操作简便。

被折叠的 条评论
为什么被折叠?



