摘 要
随着医疗资源的日益紧张,医疗预约与诊断系统的出现成为解决这一问题的关键。该系统旨在提高医疗服务效率,减少患者等待时间,使医疗资源得到更合理的分配。系统利用先进的信息技术,实现了患者在线预约、医生诊断、检查结果的实时更新等功能。通过这一系统,患者能够方便快捷地预约就诊,医生能够更有效地进行诊断,从而提升了整个医疗服务的品质。
本论文将医疗预约与诊断系统分析需求,再从不同角度分析具体功能需求,运用python相关技术,采用MySQL数据库,讨论如何设计并实现一个医疗预约与诊断系统。分析和设计主要从管理员、医生和用户三个角色上展开研究,介绍了各个功能模块的实现,并通过系统测试对医疗预约与诊断系统进行调试,将各个功能的测试结果与期望设计进行逐一比对,找出BUG和欠缺之处,从而进一步优化改进系统。
本套医疗预约与诊断系统的设计与实现,希望能让用户通过互联网得到方便而快捷的系统管理体验,在此基础的同时提高工作效益。
关键词:python;医疗预约;MySQL;
Abstract
With the increasing scarcity of medical resources, the emergence of medical appointment and diagnosis systems has become the key to solving this problem. The system aims to improve the efficiency of medical services, reduce patient waiting time, and enable more reasonable allocation of medical resources. The system utilizes advanced information technology to achieve functions such as online patient appointments, doctor diagnosis, and real-time updates of examination results. Through this system, patients can conveniently and quickly make appointments for medical treatment, and doctors can diagnose more effectively, thereby improving the quality of the entire medical service.
This paper will analyze the requirements of the medical appointment and diagnosis system, and then analyze the specific functional requirements from different perspectives. Using Python related technologies and MySQL database, it will discuss how to design and implement an accurate analysis and management system for academic achievements. The analysis and design mainly focus on three roles: administrator, doctor, and user. The implementation of each functional module is introduced, and the medical appointment and diagnosis system is debugged through system testing. The test results of each function are compared with the expected design one by one, identifying bugs and shortcomings, and further optimizing and improving the system.
The design and implementation of this set of medical appointment and diagnosis system hope that users can get a convenient and fast system management experience through the Internet, and improve work efficiency on this basis.
Keywords: Python; Medical appointments; MySQL
目录
第1章 绪论
1.1课题背景与意义
医疗预约与诊断系统,是现代医疗领域中不可或缺的一部分。在当今社会,随着医疗需求的日益增长,医疗资源相对紧张,导致了看病难、等待时间长等一系列问题。在这样的背景下,医疗预约与诊断系统的出现显得尤为重要。它不仅可以有效管理医疗资源,提高诊疗效率,更能为患者带来更为便捷、高效的医疗服务。系统可以缓解医疗资源紧张的问题,优化资源配置。通过预约功能,患者可以提前安排就诊时间,避免了长时间等待和无谓的奔波。医生也能更合理地分配工作时间,提高了诊疗效率。该系统有助于提高医疗服务的规范性和准确性。在诊断过程中,系统支持电子化病历管理,医生可以更全面地了解患者病史,减少误诊、漏诊的风险。系统还能对医生诊断过程进行监督和规范,确保医疗服务的质量。
医疗预约与诊断系统还能改善医患关系,提升患者就医体验。通过预约,患者可以提前了解就诊流程和注意事项,减少了就诊时的困惑和焦虑。系统的智能化和人性化设计也能让患者感受到更为贴心和专业的服务。
1.2国内外研究现状
医疗预约与诊断系统在国内正经历快速发展。技术方面,国内在人工智能、大数据和云计算等先进技术的应用上取得显著成果,为系统提供了强大的技术支持。在用户体验上,国内也在不断优化系统界面、操作流程和信息呈现方式,以提升患者的预约与诊断体验。数据安全问题始终是医疗系统的重大挑战,需要投入更多资源进行保护。政策对医疗预约与诊断系统的发展影响深远,国内政府出台了一系列相关政策,为系统发展提供了有力保障。随着技术进步和政策支持,医疗预约与诊断系统将在国内发挥更大作用,为医疗健康事业的发展作出贡献。
在国外,医疗预约与诊断系统的研究现状呈现出多元化和创新的趋势。技术创新方面,人工智能、大数据和云计算等先进技术在医疗领域的应用取得了显著突破,大大提高了诊断的准确性和效率。用户便利性方面,预约流程得到持续优化,为患者提供了更为便捷、高效的预约体验。远程诊断得到了广泛的应用,使得患者可以在家门口接受专业医生的诊断。患者信息保护也受到了高度重视,确保了个人隐私的安全。在医疗资源分配方面,许多国家正在探索更合理的模式,以应对日益增长的医疗需求。患者的满意度普遍较高,系统应用的反馈良好。国际合作在这一领域也日益增多,有助于分享经验和优化系统。医疗法规与政策也
在不断更新和完善,以适应医疗技术的快速发展。随着技术的不断创新和法规政策的不断完善,医疗预约与诊断系统将在国际上发挥更大的作用,为全球健康事业的发展作出贡献。
1.3论文结构
本论文主要通过六个章节来展开研究,并在论文的最后会做出我的给个人总结。
第一章绪论主要介绍了本课题的研究背景与意义,以及国内外的研究现状并给出了本篇论文的结构。
第二章主要介绍了系统的相关技术和系统环境,主要涉及python相关技术、MySQL数据库技术等。
第三章主要进行了下,先进行了总体分析,再分别从前台系统需求分析和后台系统需求分析两个方面展开分析。
第四章主要介绍了系统的功能模块的设计,包括数据库设计、E-R模型设计和数据库逻辑设计。
第五章主要介绍了系统各种功能的实现,通过展示相关功能截图,展示了医疗预约与诊断系统的具体实现细节。
第六章主要介绍了系统测试,分析了软件测试的意义并讲述了测试方法。
最后,进行了论文的个人总结。
第2章 相关技术和系统环境
2.1开发工具
系统是用Python语言编写的,系统使用的环境变量为jdk1.8。编译器用的是IDEA,系统采用django框架技术,采用Maven管理jar包,后台数据来自数据库MySQL。
2.2 Python语言简介
Python语言是荷兰guido van rossum在1991年推出的一种免费开源语言,其开发的程序可读性非常强,非常适合初学者学习,功能强大并且易于开发,可扩展性很强,代码库也很丰富,它的应用范围也非常广,例如web应用开发、科学计算、人工智能等多个领域。自2005年开始,Python上涨的势头就非常明显,如今已经进入到3.0时代,近来在tiobe公布的2022年1月排行榜中,Python取得了第一的成绩,这说明Python语言在蓬勃发展并且其发展前景非常好。对于物联网专业的中职学生来说,学习Python语言不仅可以提高他们的专业水平和逻辑性,还可以提高他们的就业竞争力。
2.3 Django框架介绍
Django是一个开放源代码的Web应用框架,由Python写成。采用了MVT的框架模式,即模型M,视图V和模板T。它最初是被开发来用于管理劳伦斯出版集团旗下的一些以新闻内容为主的网站的,即是CMS(内容管理系统)软件。并于2005年7月在BSD许可证下发布。这套框架是以比利时的吉普赛爵士吉他手Django Reinhardt来命名的。
2.4 Vue.js框架
Vue.js是一款渐进式的JavaScript框架,它基于HTML、CSS和JavaScript构建,同时提供了声明Vue.js是一款渐进式的JavaScript框架,它基于HTML、CSS和JavaScript构建,同时提供了声明式的、组件化的编程模型。这款框架的主要优势在于其易学易用,具有出色的性能,以及灵活的生态系统。Vue.js拥有容易上手的API和一流的文档,使得开发者可以快速上手并投入开发。此外,它也经过了编译器优化和完全响应式的渲染系统,因此在大多数情况下,开发者无需手动进行性能优化。值得一提的是,Vue.js提供了一个渐进增强的功能,这意味着开发者可以使用Vue来增强现有的HTML。这一特性使Vue可以作为jQuery等库的直接替代品使用,同时也支持编写完整的单页应用程序(SPA)。在处理复杂应用程序时,由Vue管理的标记可以提高开发人员的体验和性能。
2.5 MySQL数据库
MySQL是一种用于数据存储的关系数据库管理系统,MySQL是最好的 RDBMS (Relational Database Management System,关系数据库管理系统) 应用软件之一。由于计算机是一个巨大的数据处理工具,所以数据库管理系统在计算机中占有重要地位。数据的管理不仅仅只是数据的存储,而是已经转变成用户需要的许多的数据的管理。其也有很多不同的类型,能够做到有简单的数据管理到大量的数据的管理能力。
这种数据库是比较灵活的方式,优势就在于更加的切合开发者的思考逻辑,所以理解起来也会比较的方便,还能够和其他的语言一起使用,在连接起来就是比较的易懂,同时对于一些基本的查询以及添加的操作也是必须能够掌握的功能。
2.6 B/S结构
B/S结构就是指系统客户端与服务器分离,客户端通过浏览器访问服务端进行操作。
B/S结构目前广泛应用于绝大部分系统搭建中,这种结构摒弃C/S结构客户端服务端不分离的缺点,具有更多的优势:
(1)跨系统性:B/S的标准由标准化组织确立,适用于绝大多数的系统搭建,通用于应用之间。
(2)低维护成本:客户端和服务器端分离,减轻了两端的压力,尤其是客户端,对客户端设备,硬件、软件要求都比较低,并且系统需要升级或维护时,只需要在服务器端升级或维护就可以,使相应的费用减少。
第3章 系统需求分析
本章节的主要内容是对开发的医疗预约与诊断系统进行需求分析,包括总体上的需求分析、从管理员、医生和用户三个角色进行功能上的需求分析。总体分析主要分析了当前开发的医疗预约与诊断系统的优势,为了进一步扩大开发的医疗预约与诊断系统的优势,进而进行管理员、医生和用户三个功能需求分析。
3.1总体分析
需求分析是开发的医疗预约与诊断系统的一项重要的步骤,需求分析是面向用户的,不论是开发Web系统还是软件APP,都需要在正式操刀之前仔细分析用户需求和业务。在进行分析后,了解系统在整个环境中应该做什么,需要达成哪些条件,需要实现哪些功能,如何才能让满足用户的使用需求,因为需求分析说到底是面向用户,站在用户的角度进行分析是需求分析的关键环节,也只有这样才能真正确定医疗预约与诊断系统需要具体实现的功能。
3.2功能需求分析
医疗预约与诊断系统将从需求和现状中进行分析,使得本系统的设计实现具有可使用的价。做出一个实用性好的医疗预约与诊断系统,使其能满足用户的需求,并可以让用户更方便快捷地管理开发医疗预约与诊断系统信息。医疗预约与诊断系统的设计开发,目的主要是为了简化医疗诊断信息的管理过程,使管理员更好地完成工作,在工作中实现高效快捷的管理效率。
本文从医疗诊断管理的实际需要出发,为降低系统的耦合性,完成了系统总体架构的设计,以提高系统的重用性、可适用性及可维护性。系统包括管理员、医生和用户三个角色;
管理员负责对整个系统进行管理和监控,而其他用户则负责执行具体的管理工作。管理员、医生和用户用例分别如下:
管理员用例如下所示:

图3-1 管理员用例图
医生用例如下所示:
图3-2 医生用例图
用户用例如下所示:
图3-3 用户用例图
3.3 系统可行性分析
3.3.1技术可行性
在本次毕业设计中,我们选择了MySQL数据库、PyCharm开发工具和python作为主要的技术手段。这三种技术的配合使用能够有效地提高开发效率和代码质量,满足系统的需求。MySQL数据库是一款功能强大、性能稳定的关系型数据库管理系统,可以满足大量数据的存储和管理需求。
3.3.2经济可行性
本系统的设计基于当前流行的python技术进行实现。数据存储方面使用了MySQL数据库。这些工具和项目框架都是在校期间所需掌握的专业知识,因此可以将所学的技术应用到该项目的开发中,从而不会占用大量的时间和资金。如果在实现过程中遇到困难,还可以与老师和同学进行技术上的交流。从经济角度来看,这是一个非常有意义的课题。由于开发成本不高且适用面广,该系统非常适合未来信息化社会中企业的发展,能够减少人力计算的成本。
3.3.3操作可行性
医疗预约与诊断系统采用B/S架构,用户无需安装其他软件即可轻松掌握和熟练应用。为了确保数据的一致性,数据库可以提供相应的支持。一旦对数据进行操作,工作将变得更加简单,工作量也会降低。所有操作都由系统自行完成。该系统大大减少了工作人员的工作量,并使工作人员能够更便捷地掌握具体操作过程。这不仅提高了工作效率,还降低了错误率。在实际操作中是可行的。
经过总结,该系统在经济、技术和操作方面都符合要求,并且是具有可行性的。
3.4系统流程分析
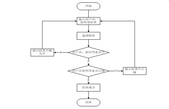
3.4.1 用户登录流程
登录流程实现了管理员和其他用户的登录,在登录页面需要用户填写自己的信息,前端页面会将信息传递给后端接口,然后查询数据库确定该身份有效后登录成功,否则此用户登录失败,需要重新填写信息,进行再次验证,如图3-4所示。
图3-4登录流程图
3.4.2 系统操作流程
系统操作流程分析是软件开发过程中的一个关键环节,它是整个系统整体的运行过程,必须保证其中的每一个步骤都是确定的,这样一个规范的流程图可以使开发者易于理解,快速的投入到接口开发中,从而提升系统开发效率。
同时,流程图还能减少开发者对系统操作流程产生歧义和降低沟通的成本,系统操作流程如图3-5所示。
图3-5系统操作流程图
3.4.3修改信息流程
管理人员或者其他用户找到需要修改的信息后,然后将要修改的数据对应的输入到修改框里面。当数据合法的时候,则提示信息为添加成功。这时候这条数据就会被添加到了数据对应的数据库表中。如果不合法,则提示信息为添加失败,这就要重新把数据在输入一次来验证。修改信息流程图如图3-6所示。
图3-6修改信息流程图
3.4.4输入信息流程
管理人员或者其他的用户选择自己想要输入一条信息后,点击后面的“添加”按钮,系统就会给管理人员或者其他的用户一个提示表明信息添加成功了,与此同时系统会从数据库中将管理人员或者其他的用户想要添加的这条信息给注册好。添加信息流程图如图3-7所示。
图3-7添加信息流程图
第4章 系统设计
4.1 功能模块设计
系统整体模块分为管理员、医生和用户三大用户角色,整体功能设计图如下所示:
图4-1 系统整体功能图
4.2 数据库设计
4.2.1 E-R模型结构设计
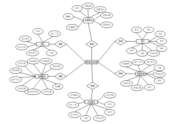
进行数据库概念设计就是设计数据库的概念结构,是把系统的需求抽象为信息结构的过程。实体、属性和联系是构成E-R图的三个基本要素,E-R图不仅非常直观,并且可以准确地反映各信息之间的联系,下面是医疗预约与诊断系统中相关的E-R图。
将“管理员信息”作为实体,它的E-R图,如图4-2所示:
图4-2管理员信息的E-R图
将“充值信息、医生、在线咨询、疾病信息、用户、评价信息”等作为实体,它们的局部E-R图,如图4-3所示:
图4-3局部E-R图
4.2.2 数据库逻辑设计
数据库表是设计与实现医疗预约与诊断系统的基础,下面将对各个重要的数据库表进行逐一讲解。下面是系统中重要数据库表的设计。数据表的详细情况如下表所示。
| 字段名称 | 类型 | 长度 | 字段说明 | 主键 | 默认值 |
| id | bigint | 主键 | 主键 | ||
| addtime | timestamp | 创建时间 | CURRENT_TIMESTAMP | ||
| title | varchar | 200 | 标题 | ||
| subtitle | varchar | 200 | 副标题 | ||
| content | longtext | 4294967295 | 内容 | ||
| picture1 | longtext | 4294967295 | 图片1 | ||
| picture2 | longtext | 4294967295 | 图片2 | ||
| picture3 | longtext | 4294967295 | 图片3 |
表4-2:地址
| 字段名称 | 类型 | 长度 | 字段说明 | 主键 | 默认值 |
| id | bigint | 主键 | 主键 | ||
| addtime | timestamp | 创建时间 | CURRENT_TIMESTAMP | ||
| userid | bigint | 用户id | |||
| address | varchar | 200 | 地址 | ||
| name | varchar | 200 | 收货人 | ||
| phone | varchar | 200 | 电话 | ||
| isdefault | varchar | 200 | 是否默认地址[是/否] |
表4-3:新闻资讯分类
| 字段名称 | 类型 | 长度 | 字段说明 | 主键 | 默认值 |
| id | bigint | 主键 | 主键 | ||
| addtime | timestamp | 创建时间 | CURRENT_TIMESTAMP | ||
| typename | varchar | 200 | 分类名称 |
表4-4:关于我们
| 字段名称 | 类型 | 长度 | 字段说明 | 主键 | 默认值 |
| id | bigint | 主键 | 主键 | ||
| addtime | timestamp | 创建时间 | CURRENT_TIMESTAMP | ||
| title | varchar | 200 | 标题 | ||
| subtitle | varchar | 200 | 副标题 | ||
| content | longtext | 4294967295 | 内容 | ||
| picture1 | longtext | 4294967295 | 图片1 | ||
| picture2 | longtext | 4294967295 | 图片2 | ||
| picture3 | longtext | 4294967295 | 图片3 |
表4-5:新闻资讯
| 字段名称 | 类型 | 长度 | 字段说明 | 主键 | 默认值 |
| id | bigint | 主键 | 主键 | ||
| addtime | timestamp | 创建时间 | CURRENT_TIMESTAMP | ||
| title | varchar | 200 | 标题 | ||
| introduction | longtext | 4294967295 | 简介 | ||
| typename | varchar | 200 | 分类名称 | ||
| name | varchar | 200 | 发布人 | ||
| headportrait | longtext | 4294967295 | 头像 | ||
| clicknum | int | 点击次数 | 0 | ||
| clicktime | datetime | 最近点击时间 | |||
| thumbsupnum | int | 赞 | 0 | ||
| crazilynum | int | 踩 | 0 | ||
| storeupnum | int | 收藏数 | 0 | ||
| picture | longtext | 4294967295 | 图片 | ||
| content | longtext | 4294967295 | 内容 |
表4-6:友情链接
| 字段名称 | 类型 | 长度 | 字段说明 | 主键 | 默认值 |
| id | bigint | 主键 | 主键 | ||
| addtime | timestamp | 创建时间 | CURRENT_TIMESTAMP | ||
| name | varchar | 200 | 名称 | ||
| picture | longtext | 4294967295 | 图片 | ||
| url | longtext | 4294967295 | 链接 |
表4-7:配置文件
| 字段名称 | 类型 | 长度 | 字段说明 | 主键 | 默认值 |
| id | bigint | 主键 | 主键 | ||
| name | varchar | 100 | 配置参数名称 | ||
| value | varchar | 100 | 配置参数值 | ||
| url | varchar | 500 | url |
表4-8:用户表
| 字段名称 | 类型 | 长度 | 字段说明 | 主键 | 默认值 |
| id | bigint | 主键 | 主键 | ||
| username | varchar | 100 | 用户名 | ||
| password | varchar | 100 | 密码 | ||
| image | varchar | 200 | 头像 | ||
| role | varchar | 100 | 角色 | 管理员 | |
| addtime | timestamp | 新增时间 | CURRENT_TIMESTAMP |
表4-9:收藏表
| 字段名称 | 类型 | 长度 | 字段说明 | 主键 | 默认值 |
| id | bigint | 主键 | 主键 | ||
| addtime | timestamp | 创建时间 | CURRENT_TIMESTAMP | ||
| userid | bigint | 用户id | |||
| refid | bigint | 商品id | |||
| tablename | varchar | 200 | 表名 | ||
| name | varchar | 200 | 名称 | ||
| picture | longtext | 4294967295 | 图片 | ||
| type | varchar | 200 | 类型 | 1 | |
| inteltype | varchar | 200 | 推荐类型 | ||
| remark | varchar | 200 | 备注 |
表4-10:系统公告
| 字段名称 | 类型 | 长度 | 字段说明 | 主键 | 默认值 |
| id | bigint | 主键 | 主键 | ||
| addtime | timestamp | 创建时间 | CURRENT_TIMESTAMP | ||
| content | longtext | 4294967295 | 内容 |
表4-11:评价信息
| 字段名称 | 类型 | 长度 | 字段说明 | 主键 | 默认值 |
| id | bigint | 主键 | 主键 | ||
| addtime | timestamp | 创建时间 | CURRENT_TIMESTAMP | ||
| pingjiabianhao | varchar | 200 | 评价编号 | ||
| yishenggonghao | varchar | 200 | 医生工号 | ||
| yishengxingming | varchar | 200 | 医生姓名 | ||
| touxiang | longtext | 4294967295 | 头像 | ||
| pingjiashijian | datetime | 评价时间 | |||
| zhanghao | varchar | 200 | 账号 | ||
| xingming | varchar | 200 | 姓名 | ||
| pingjianeirong | longtext | 4294967295 | 评价内容 |
表4-12:症状类型
| 字段名称 | 类型 | 长度 | 字段说明 | 主键 | 默认值 |
| id | bigint | 主键 | 主键 | ||
| addtime | timestamp | 创建时间 | CURRENT_TIMESTAMP | ||
| zhengzhuangleixing | varchar | 200 | 症状类型 | ||
| image | longtext | 4294967295 | image |
表4-13:诊断病历
| 字段名称 | 类型 | 长度 | 字段说明 | 主键 | 默认值 |
| id | bigint | 主键 | 主键 | ||
| addtime | timestamp | 创建时间 | CURRENT_TIMESTAMP | ||
| yishenggonghao | varchar | 200 | 医生工号 | ||
| yishengxingming | varchar | 200 | 医生姓名 | ||
| zhiwei | varchar | 200 | 职位 | ||
| keshimingcheng | varchar | 200 | 科室名称 | ||
| jiuzhenshijian | varchar | 200 | 就诊时间 | ||
| zhenduanshijian | datetime | 诊断时间 | |||
| xueya | double | 血压/pa | |||
| tiwen | double | 体温/° | |||
| binglitupian | longtext | 4294967295 | 病历图片 | ||
| bingqingdengji | longtext | 4294967295 | 病情登记 | ||
| zhenduanbaogao | longtext | 4294967295 | 诊断报告 | ||
| zhenduanjieguo | varchar | 200 | 诊断结果 | ||
| zhanghao | varchar | 200 | 账号 | ||
| xingming | varchar | 200 | 姓名 | ||
| nianling | varchar | 200 | 年龄 | ||
| shoujihaoma | varchar | 200 | 手机号码 |
表4-14:科室信息
| 字段名称 | 类型 | 长度 | 字段说明 | 主键 | 默认值 |
| id | bigint | 主键 | 主键 | ||
| addtime | timestamp | 创建时间 | CURRENT_TIMESTAMP | ||
| keshimingcheng | varchar | 200 | 科室名称 | ||
| keshidizhi | varchar | 200 | 科室地址 |
表4-15:在线咨询
| 字段名称 | 类型 | 长度 | 字段说明 | 主键 | 默认值 |
| id | bigint | 主键 | 主键 | ||
| addtime | timestamp | 创建时间 | CURRENT_TIMESTAMP | ||
| zixunbianhao | varchar | 200 | 咨询编号 | ||
| yishenggonghao | varchar | 200 | 医生工号 | ||
| yishengxingming | varchar | 200 | 医生姓名 | ||
| touxiang | longtext | 4294967295 | 头像 | ||
| zixunneirong | varchar | 200 | 咨询内容 | ||
| zhanghao | varchar | 200 | 账号 | ||
| xingming | varchar | 200 | 姓名 | ||
| zixunriqi | date | 咨询日期 | |||
| shhf | longtext | 4294967295 | 回复内容 |
表4-16:就诊信息
| 字段名称 | 类型 | 长度 | 字段说明 | 主键 | 默认值 |
| id | bigint | 主键 | 主键 | ||
| addtime | timestamp | 创建时间 | CURRENT_TIMESTAMP | ||
| yishenggonghao | varchar | 200 | 医生工号 | ||
| yishengxingming | varchar | 200 | 医生姓名 | ||
| yishengxingbie | varchar | 200 | 医生性别 | ||
| lianxishouji | varchar | 200 | 联系手机 | ||
| touxiang | longtext | 4294967295 | 头像 | ||
| zhiwei | varchar | 200 | 职位 | ||
| guahaofei | double | 挂号费 | |||
| yuhao | int | 余号 | |||
| keshimingcheng | varchar | 200 | 科室名称 | ||
| shanzhangleixing | varchar | 200 | 擅长类型 | ||
| jiuzhenshijian | varchar | 200 | 就诊时间 | ||
| yishengjianjie | longtext | 4294967295 | 医生简介 | ||
| rongyuxinxi | longtext | 4294967295 | 荣誉信息 | ||
| clicktime | datetime | 最近点击时间 | |||
| storeupnum | int | 收藏数 | 0 |
表4-17:预约取消
| 字段名称 | 类型 | 长度 | 字段说明 | 主键 | 默认值 |
| id | bigint | 主键 | 主键 | ||
| addtime | timestamp | 创建时间 | CURRENT_TIMESTAMP | ||
| yuyuebianhao | varchar | 200 | 预约编号 | ||
| yishenggonghao | varchar | 200 | 医生工号 | ||
| yishengxingming | varchar | 200 | 医生姓名 | ||
| touxiang | longtext | 4294967295 | 头像 | ||
| zhiwei | varchar | 200 | 职位 | ||
| guahaofei | double | 挂号费 | |||
| yue | double | 余额 | |||
| keshimingcheng | varchar | 200 | 科室名称 | ||
| jiuzhenshijian | varchar | 200 | 就诊时间 | ||
| yuyueshijian | varchar | 200 | 预约时间 | ||
| beizhu | varchar | 200 | 备注 | ||
| zhanghao | varchar | 200 | 账号 | ||
| xingming | varchar | 200 | 姓名 | ||
| shoujihaoma | varchar | 200 | 手机号码 | ||
| quxiaoshijian | datetime | 取消时间 | |||
| quxiaoyuanyin | longtext | 4294967295 | 取消原因 | ||
| crossuserid | bigint | 跨表用户id | |||
| crossrefid | bigint | 跨表主键id | |||
| sfsh | varchar | 200 | 是否审核 | 待审核 | |
| shhf | longtext | 4294967295 | 审核回复 |
表4-18:疾病信息
| 字段名称 | 类型 | 长度 | 字段说明 | 主键 | 默认值 |
| id | bigint | 主键 | 主键 | ||
| addtime | timestamp | 创建时间 | CURRENT_TIMESTAMP | ||
| jibingmingcheng | varchar | 200 | 疾病名称 | ||
| zhengzhuangleixing | varchar | 200 | 症状类型 | ||
| jibingfengmian | longtext | 4294967295 | 疾病封面 | ||
| mubiaorenqun | varchar | 200 | 目标人群 | ||
| zhengzhuangmiaoshu | longtext | 4294967295 | 症状描述 | ||
| zhiliaofangshi | longtext | 4294967295 | 治疗方式 | ||
| faburiqi | date | 发布日期 | |||
| clicktime | datetime | 最近点击时间 | |||
| clicknum | int | 点击次数 | 0 | ||
| storeupnum | int | 收藏数 | 0 |
表4-19:预约挂号
| 字段名称 | 类型 | 长度 | 字段说明 | 主键 | 默认值 |
| id | bigint | 主键 | 主键 | ||
| addtime | timestamp | 创建时间 | CURRENT_TIMESTAMP | ||
| yuyuebianhao | varchar | 200 | 预约编号 | ||
| yishenggonghao | varchar | 200 | 医生工号 | ||
| yishengxingming | varchar | 200 | 医生姓名 | ||
| touxiang | longtext | 4294967295 | 头像 | ||
| zhiwei | varchar | 200 | 职位 | ||
| guahaofei | double | 挂号费 | |||
| yuhao | int | 挂号数 | |||
| yue | double | 应付金额 | |||
| keshimingcheng | varchar | 200 | 科室名称 | ||
| jiuzhenshijian | varchar | 200 | 就诊时间 | ||
| yuyueshijian | datetime | 预约时间 | |||
| beizhu | varchar | 200 | 备注 | ||
| zhanghao | varchar | 200 | 账号 | ||
| xingming | varchar | 200 | 姓名 | ||
| nianling | varchar | 200 | 年龄 | ||
| xingbie | varchar | 200 | 性别 | ||
| shoujihaoma | varchar | 200 | 手机号码 | ||
| yonghuyue | double | 用户余额 | |||
| sfsh | varchar | 200 | 是否审核 | 待审核 | |
| shhf | longtext | 4294967295 | 审核回复 |
表4-20:用户
| 字段名称 | 类型 | 长度 | 字段说明 | 主键 | 默认值 |
| id | bigint | 主键 | 主键 | ||
| addtime | timestamp | 创建时间 | CURRENT_TIMESTAMP | ||
| zhanghao | varchar | 200 | 账号 | ||
| mima | varchar | 200 | 密码 | ||
| xingbie | varchar | 200 | 性别 | ||
| xingming | varchar | 200 | 姓名 | ||
| nianling | int | 年龄 | |||
| shoujihaoma | varchar | 200 | 手机号码 | ||
| touxiang | longtext | 4294967295 | 头像 | ||
| yue | double | 余额 |
表4-21:医生
| 字段名称 | 类型 | 长度 | 字段说明 | 主键 | 默认值 |
| id | bigint | 主键 | 主键 | ||
| addtime | timestamp | 创建时间 | CURRENT_TIMESTAMP | ||
| yishenggonghao | varchar | 200 | 医生工号 | ||
| mima | varchar | 200 | 密码 | ||
| yishengxingming | varchar | 200 | 医生姓名 | ||
| yishengxingbie | varchar | 200 | 医生性别 | ||
| lianxishouji | varchar | 200 | 联系手机 | ||
| touxiang | longtext | 4294967295 | 头像 |
表4-22:充值信息
| 字段名称 | 类型 | 长度 | 字段说明 | 主键 | 默认值 |
| id | bigint | 主键 | 主键 | ||
| addtime | timestamp | 创建时间 | CURRENT_TIMESTAMP | ||
| chongzhibianhao | varchar | 200 | 充值编号 | ||
| zhanghao | varchar | 200 | 账号 | ||
| xingming | varchar | 200 | 姓名 | ||
| yue | double | 充值金额 | |||
| chongzhipingzheng | longtext | 4294967295 | 充值凭证 | ||
| chongzhiriqi | date | 充值日期 | |||
| chongzhibeizhu | varchar | 200 | 充值备注 |
表4-23:聊天助手表
| 字段名称 | 类型 | 长度 | 字段说明 | 主键 | 默认值 |
| id | bigint | 主键 | 主键 | ||
| addtime | timestamp | 创建时间 | CURRENT_TIMESTAMP | ||
| ask | varchar | 200 | 提问 | ||
| reply | longtext | 4294967295 | 回复 |
表4-24:智能客服
| 字段名称 | 类型 | 长度 | 字段说明 | 主键 | 默认值 |
| id | bigint | 主键 | 主键 | ||
| addtime | timestamp | 创建时间 | CURRENT_TIMESTAMP | ||
| userid | bigint | 用户id | |||
| adminid | bigint | 管理员id | |||
| ask | longtext | 4294967295 | 提问 | ||
| reply | longtext | 4294967295 | 回复 | ||
| isreply | int | 是否回复 |
第5章 系统功能实现
5.1前台功能实现
5.1.1系统首页页面
当人们打开系统的网址后,首先看到的就是首页界面。在这里,人们能够看到系统的导航条,通过导航条导航进入各功能展示页面进行操作。系统首页界面如图5-1所示:
图5-1 系统首页界面
在注册流程中,用户在Vue前端填写必要信息(如用户名、密码等)并提交。前端将这些信息通过HTTP请求发送到Python后端。后端处理这些信息,检查用户名是否唯一,并将新用户数据存入MySQL数据库。完成后,后端向前端发送注册成功的确认,前端随后通知用户完成注册。这个过程实现了新用户的数据收集、验证和存储。系统注册界面如图5-2所示:
图5-2 系统注册界面
疾病信息:点击疾病信息页面,可以查看到疾病详细信息,并根据需要进行操作;疾病信息页面如图5-3所示:
图5-3疾病信息详细页面
就诊信息:点击就诊信息页面,可以查看到就诊详细信息,并根据需要进行挂号、咨询或收藏操作;就诊信息页面如图5-4所示:
图5-4就诊信息详细页面
5.1.2个人中心
个人中心:在个人中心页面可以对个人中心、预约挂号、诊断病历、评价信息、预约取消、在线咨询、充值信息、我的收藏进行详细操作;如图5-5所示:
图5-5个人中心界面
5.2后台模块实现
在登录流程中,用户首先在Vue前端界面输入用户名和密码。这些信息通过HTTP请求发送到Python后端。后端接收请求,通过与MySQL数据库交互验证用户凭证。如果认证成功,后端会返回给前端,允许用户访问系统。这个过程涵盖了从用户输入到系统验证和响应的全过程。如图5-6所示。
图5-6管理员登录界面
5.2.1管理员功能实现
管理员进入主页面,主要功能包括对用户管理、医生管理、科室信息管理、症状类型管理、疾病信息管理、就诊信息管理、预约挂号管理、诊断病历管理、评价信息管理、预约取消管理、在线咨询管理、充值信息管理、系统管理、我的信息等进行操作。管理员主页面如图5-7所示:
图5-7 管理员主界面
用户管理功能实现是在Django后端部分,您需要创建一个新的应用,然后在该应用下创建一个模型(models.py)来定义用户的数据结构,使用Django的ORM来处理与MySQL数据库的交互,包括用户信息的搜索、增加或删除等操作。接着,在views.py中编写视图逻辑来处理前端请求,使用Django的URL路由(urls.py)将请求映射到相应的视图函数。对于数据的验证和序列化,可以使用Django的表单或序列化器来实现。在前端Vue.js部分,将创建相应的Vue组件,在这些组件中使用axios或其他HTTP库与Django后端的API进行交互,实现用户详情的展示、更新用户和删除用户等功能。状态管理可以通过Vuex来维护,比如在store目录下定义用户模块的状态、突变、动作和获取器。用户管理界面如图5-8所示
图5-8用户界面
医生管理功能实现是在Django后端部分,您需要创建一个新的应用,然后在该应用下创建一个模型(models.py)来定义医生的数据结构,使用Django的ORM来处理与MySQL数据库的交互,包括医生信息的搜索、增加或删除等操作。接着,在views.py中编写视图逻辑来处理前端请求,使用Django的URL路由(urls.py)将请求映射到相应的视图函数。对于数据的验证和序列化,可以使用Django的表单或序列化器来实现。在前端Vue.js部分,将创建相应的Vue组件,在这些组件中使用axios或其他HTTP库与Django后端的API进行交互,实现医生详情的展示、更新医生和删除医生等功能。状态管理可以通过Vuex来维护,比如在store目录下定义医生模块的状态、突变、动作和获取器。医生管理界面如图5-9所示
图5-9医生管理界面
科室信息管理功能实现是在Django后端部分,您需要创建一个新的应用,然后在该应用下创建一个模型(models.py)来定义科室信息的数据结构,使用Django的ORM来处理与MySQL数据库的交互,包括科室信息的搜索、增加或删除等操作。接着,在views.py中编写视图逻辑来处理前端请求,使用Django的URL路由(urls.py)将请求映射到相应的视图函数。对于数据的验证和序列化,可以使用Django的表单或序列化器来实现。在前端Vue.js部分,将创建相应的Vue组件,在这些组件中使用axios或其他HTTP库与Django后端的API进行交互,实现科室信息详情的展示、更新科室信息和删除科室信息等功能。状态管理可以通过Vuex来维护,比如在store目录下定义科室信息模块的状态、突变、动作和获取器。科室信息管理界面如图5-10所示
图5-10科室信息管理界面
5.2.2医生功能实现
医生进入主页面,主要功能包括对就诊信息管理、预约挂号管理、诊断病历管理、评价信息管理、预约取消管理、在线咨询管理、我的信息等进行操作。医生主页面如图5-11所示:
图5-11医生主页面
第6章 系统测试
6.1 软件测试的意义
不论是什么类型的Web项目,在设计和开发完成后都少不了测试工作。对于医疗预约与诊断系统来说,在开发完成后,BUG的产生无法避免,如果不进行系统的软件测试,BUG可能会影响系统的稳定性和安全性,有些BUG甚至会导致正常功能无法使用,无论如何都将大大影响用户的体验,对于软件开发来说,测试贯穿了整个开发过程,是医疗预约与诊断系统开发不可缺少的一部分。
系统测试,就是验证系统实际功能的实现与设计的功能相比是否正确和完整,以及系统性能是否达到预期,其实,就是将实际输出与预期输出进行对比,观察结果是否相符。
进行系统测试,能够及时地发现、直接地找出在实际运行中的问题,排除基本功能的问题,提前解决影响用户基本使用的大问题,大大减少了用户遇到的各种问题,降低了二次开发的成本,不论是对用户的使用体验和日后的维护工作都有积极作用,在系统测试这一道保护伞之下,系统会得到越来越好的优化,变得越来越完善。
6.2 测试方法
测试方法主要有人工测试和机器测试两种测试方法。
(1)人工测试
人工测试又称代码复审,包括个人复查、走查、会审三种方法。
(2)机器测试
计算机检测有两种方式:黑盒测试和白盒测试。黑盒测试:从外观上找出它的缺点和错误。黑盒测试是在编程接口上进行的,它仅仅是为了检验样品的执行情况,而不是根据要求规范的要求进行;白盒测试:对软件的内在构造进行了剖析,即在编程接口上进行了试验,其目的仅仅在于检验样品的执行情况,而不能满足要求规范的要求,检测来寻找问题。
在最终的检测中,本研究采取了将后黑盒子检测与白盒子检测相融合的方式。黑箱试验是为了对系统的输入、输出性能进行测试,以发现其性能上的误差和潜在的不足。白箱试验的目的是为了检测程序和程序的运行路线,从而找出运行中的问题。该系统有两种方式:单位试验和综合试验。
为了保证用户的体验,医疗预约与诊断系统主要使用功能测试的方法,模拟用户的可能进行的各种基本操作,确保系统各项功能的正常实现,表6-1为医疗预约与诊断系统用户登录、注册和个人信息修改进行测试。
表6-1
| 序号 | 测试名称 | 测试步骤 | 期望结果 | 期望结果 |
| 1 | 注册 | 进入系统页面,完成注册 | 可以成功注册 | PASS |
| 2 | 登陆 | 在登陆界面用新注册的账号登陆 | 可以成功登陆 | PASS |
| 3 | 修改个人信息 | 在个人信息界面编辑个人信息 | 可以成功修改 | PASS |
总 结
本次毕业论文加上系统项目对一年前的我来说难如登天,在大三的下半学期,我进行了数月的实训。对我来说,从那时开始,我才真正地上手学习了python和数据库相关技术,在实训基地近距离接触项目后,我开始切身实际地融入到了python语言的学习中,开始从一个“小白”逐步向“码农”进行转变。
决定本次课题的原因是,纵观大三的实训和大四大半年的实习经历,接触到的项目总的来说仍然不算多,基于python医疗预约与诊断系统相较于其他项目算是我比较熟悉的一类项目,开始上手时感觉十分困难,对我来说,这样一个综合性已经比较高的动态Web项目,其中涉及的技术也非常多;python,MySQL等等,独立地完成这一个项目考验的综合水平对我来说是一个不小的挑战。本次基于python医疗预约与诊断系统的设计与开发,以python作为开发基础,采用MySQL数据库,意在探索开发医疗预约与诊断系统的道路上贡献一份小小的力量。
在实训期间,我请教实训老师的次数不多,于是在实习工作期间,每每遇到问题,我不断请教同事和师傅,不停地在论坛上寻找解决方法,在学习python开发的崎岖道路上,我尽量通过多多学习去少走弯路,巩固自己的基础,我期望本次毕业论文能够作为自己一年来的实训实习生活的一份美好的答卷。
参考文献
[1] 汪洋,姜新通.MVC框架在Python与Django下的设计研究[J]. 电脑与信息技术,2021,29(1):55-57,63.
[2]韦立梅,苏兵.Django框架下Python网站开发过程综述[J].电 脑与电信,2019(10):54-56.
[3]童乐. 基于 Django 开发框架的在线教育系统 设计与实现[D]. 武汉: 华中师范大学,2020.
[4]齐伟. 跟老齐学 Python: Django 实战[M]. 北京: 电子工业出版社,2019.
[5] 余斌.基于Django的用户信息管理系统[J].电脑知识与技术, 2021,17(5):89-90.
[6]韦平安.基于Django的网络学习平台的开发与应用[J].山西电子技术,2023(02):71-73.
[7]李双远,李其昌.基于Django大学生网络空间安全攻防实践教学平台的设计与研究[J].吉林化工学院学报,2022,39(07):67-71.
[8]刘汉伟. Vue.js从入门到项目实战[M]. 北京: 清华大学出版社, 2019.88-16.
[9]罗永梅.基于Vue的响应式数据可视化平台的设计与实现[J]. 信息技术与信息化,2020, (09): 20-22
[10]ZHOU D,WANG F,YE H, et al.PyCIL: a Python toolbox for class-incremental learning[J].Science China(Information Sciences),2023,66(09):291-292.
[11]Zhang Xiao, Yu Ali, Wang Xin, Zhang Xue. Sports Work Strategy of College Counselors Based on MySQL Database Big Data Analysis[J]. International Journal of Information Technology and Web Engineering (IJITWE), 2023, 18 (1): 1-14.
致 谢
时间过的很快,大学四年转眼已经快要走到尽头,仿佛觉得自己才刚刚踏入常熟理工的校园,刚刚参加完新生培训,当年的画面真的历历在目。但是,我感觉这四年,过的虽快,但过的不虚。尤其是大三大四这两年,我不仅感受到校园时光的温暖,更体会到了学习知识和技能的充实。大学生涯的最后一份作业——毕业论文,也是我付出最多时间,完成最认真的一次作业了。
在此,我衷心感谢我的母校,是它为我提供了优良的学习环境和丰富的知识体系,让我在求学的道路上不断成长和进步。回顾这几年的求学历程,我深知自己能取得今天的成绩离不开母校的培养和关怀。
首先,我要感谢母校的领导和老师们。他们辛勤耕耘在教育的岗位上,用自己的智慧和爱心为我们筑起了一座座知识的桥梁。在课堂上,他们传授给我们专业知识和技能;在实践中,他们教会我们如何运用所学去解决实际问题。他们的教诲和指导让我受益匪浅,也让我明白了作为一名学生应有的担当和责任。
其次,我要感谢同学们。在这里,我结识了来自五湖四海的朋友,我们共同学习、共同进步,度过了许多难忘的时光。感谢他们在我遇到困难时给予的鼓励和支持,让我勇往直前;感谢他们在我失落时给予的安慰和关爱,让我重新找回自信。正是有了他们的陪伴,我的大学生活才如此丰富多彩。
最后,我要感谢我的家人。他们一直是我最坚实的后盾,为我提供了良好的家庭环境,让我能够全身心地投入到学业中。在我遇到挫折时,他们给予我关爱和鼓励;在我取得成绩时,他们为我感到骄傲和欣慰。正是有了他们的支持,我才能一路走来,勇敢地追求自己的梦想。
在未来的日子里,我将不忘初心,继续努力,为母校争光,回报母校的培养。再次感谢我的母校,愿我们的母校越来越好!
免费领取项目源码,请点赞❤️关注收藏并私信博主,谢谢!
免费领取项目源码,请点赞❤️关注收藏并私信博主,谢谢!
免费领取项目源码,请点赞❤️关注收藏并私信博主,谢谢!
1671

被折叠的 条评论
为什么被折叠?



