题目7-2 整数152的各位数字
1.实验代码
#include<stdio.h> int main() { printf("152 = 2 + 5*10 + 1*100"); return 0; }
2 设计思路
(1)
第一步:定义主函数;
第二步:使用printf函数,打印想要的内容;
第三步:输入return 0返回;
(2)流程图

3.本题调试过程碰到问题及解决办法
没有问题
题目7-6 计算个人所得税
1.实验代码
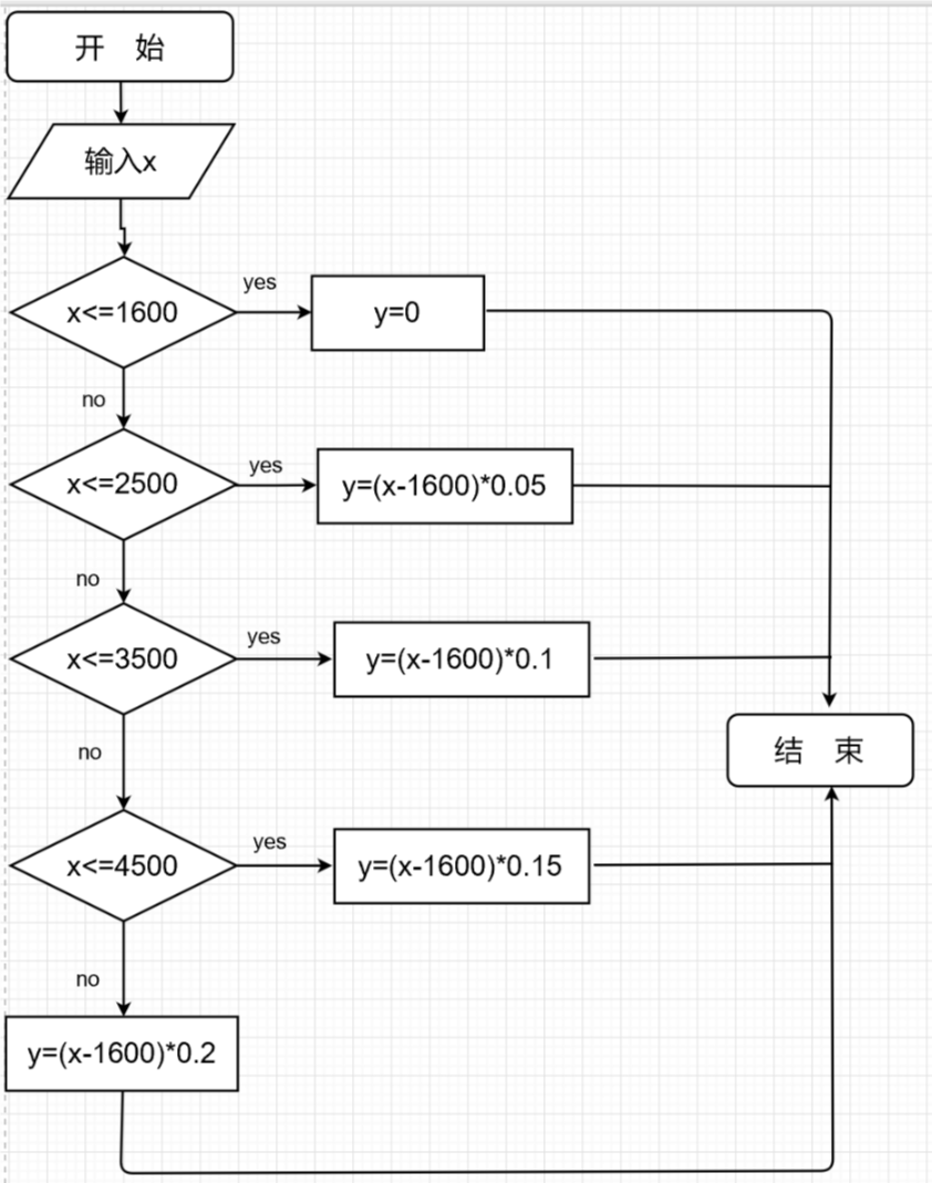
#include <stdio.h> int main(void) { int x; double y; scanf("%d",&x); if(x<=1600){ y=0; } else if(x<=2500){ y=(x-1600)*0.05; } else if(x<=3500){ y=(x-1600)*0.1; } else if(x<=4500){ y=(x-1600)*0.15; } else{ y=(x-1600)*0.2; } printf("%.2f",y); return 0; }
2 设计思路
(1)
第一步:定义主函数
第二步:定义变量x y
第三步:用scanf输入
第四步:使用if else判断
第五步:输出结果
(2)流程图

3.本题调试过程碰到问题及解决办法
忘记浮点数类型输出需要用.f输出,把%d换成%.2f。
二、总结和学习进度条
1、总结这几周所学内容、遇到的问题以及解决方法。
我在最近几周学习了各种语句与函数,学会了如何输入输出,已及条件结构与循环结构
我在学习中也出现了一些问题,比如在编写程序时出现一些编译错误,在double浮点类型输入时将%lf写成%f等,主要是由于平时操作较少,课下编程较少导致的,在经过一些编程练习之后有所改善
2、点评3个同学的本周作业(在作业中给出被点评同学博客的超链接!超链接!),并邀请3名同学点评你的作业,无点评作业倒扣该题分数。
https://www.cnblogs.com/hhh-98/p/10991759.html
https://www.cnblogs.com/kilakila/p/11011714.html
https://www.cnblogs.com/rinko/p/11021348.html
本文分享了C语言编程的两个实例,一是分解整数152的各位数字,二是计算个人所得税的程序。通过实例,作者详细介绍了代码实现、设计思路及调试过程中遇到的问题与解决方法。

被折叠的 条评论
为什么被折叠?



