概述
checkpoint 的机制保证了需要访问重复数据的应用 Spark 的DAG执行图可能很庞大,task 中计算链可能会很长,这时如果 task 中途运行出错,那么 task 的整个需要重算非常耗时,因此,有必要将计算代价较大的 RDD checkpoint 一下,当下游 RDD 计算出错时,可以直接从 checkpoint 过的 RDD 那里读取数据继续算。
我们先来看一个例子,checkpoint的使用:
import org.apache.spark.SparkContext
import org.apache.spark.SparkContext._
import org.apache.spark.SparkConf
object CheckPointTest {
def main(args: Array[String]) {
val sc: SparkContext = SparkContext.getOrCreate(new SparkConf().setAppName("ck").setMaster("local[2]"))
sc.setCheckpointDir("/Users/kinge/ck")
val rdd: RDD[(String, Int)] = sc.textFile("").map{x=>(x,1) }.reduceByKey(_+_)
rdd.checkpoint()
rdd.count()
rdd.groupBy(x=>x._2).collect().foreach(println)
}
}
checkpoint流程分析
checkpoint初始化
我们可以看到最先调用了SparkContext的setCheckpointDir 设置了一个checkpoint 目录
我们跟进这个方法看一下
/**
* Set the directory under which RDDs are going to be checkpointed. The directory must
* be a HDFS path if running on a cluster.
*/
def setCheckpointDir(directory: String) {
// If we are running on a cluster, log a warning if the directory is local.
// Otherwise, the driver may attempt to reconstruct the checkpointed RDD from
// its own local file system, which is incorrect because the checkpoint files
// are actually on the executor machines.
if (!isLocal && Utils.nonLocalPaths(directory).isEmpty) {
logWarning("Checkpoint directory must be non-local " +
"if Spark is running on a cluster: " + directory)
}
//利用hadoop的api创建了一个hdfs目录
checkpointDir = Option(directory).map { dir =>
val path = new Path(dir, UUID.randomUUID().toString)
val fs = path.getFileSystem(hadoopConfiguration)
fs.mkdirs(path)
fs.getFileStatus(path).getPath.toString
}
}
这个方法挺简单的,就创建了一个目录,接下来我们看RDD核心的checkpoint 方法,跟进去
def checkpoint(): Unit = RDDCheckpointData.synchronized {
if (context.checkpointDir.isEmpty) {
throw new SparkException("Checkpoint directory has not been set in the SparkContext")
} else if (checkpointData.isEmpty) {
checkpointData = Some(new ReliableRDDCheckpointData(this))
}
}
这个方法没有返回值,逻辑只有一个判断,checkpointDir刚才设置过了,不为空,然后创建了一个ReliableRDDCheckpointData,我们来看ReliableRDDCheckpointData
/**
* An implementation of checkpointing that writes the RDD data to reliable storage.
* This allows drivers to be restarted on failure with previously computed state.
*/
private[spark] class ReliableRDDCheckpointData[T: ClassTag](@transient rdd: RDD[T])
extends RDDCheckpointData[T](rdd) with Logging {
。。。。。
}
这个ReliableRDDCheckpointData的父类RDDCheckpointData我们再继续看它的父类
/**
* RDD 需要经过
* [ Initialized --> CheckpointingInProgress--> Checkpointed ]
* 这几个阶段才能被 checkpoint。
*/
private[spark] object CheckpointState extends Enumeration {
type CheckpointState = Value
val Initialized, CheckpointingInProgress, Checkpointed = Value
}
private[spark] abstract class RDDCheckpointData[T: ClassTag](@transient rdd: RDD[T])
extends Serializable {
import CheckpointState._
// The checkpoint state of the associated RDD.
protected var cpState = Initialized
。。。。。。
}
RDD 需要经过
[ Initialized --> CheckpointingInProgress--> Checkpointed ]
这几个阶段才能被 checkpoint。
这类里面有一个枚举来标识CheckPoint的状态,第一次初始化时是Initialized。
checkpoint这个一步已经完成了,回到我们的RDD成员变量里checkpointData这个变量指向的RDDCheckpointData的实例。
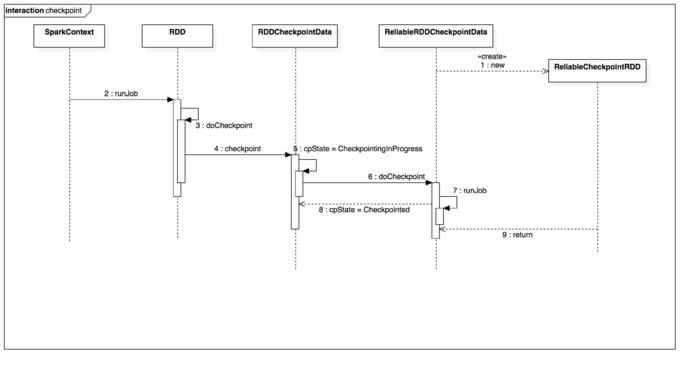
Checkpoint初始化时序图:

checkpoint什么时候写入数据
我们知道一个spark job运行最终会调用SparkContext的runJob方法将任务提交给Executor去执行,我们来看runJob
def runJob[T, U: ClassTag](
rdd: RDD[T],
func: (TaskContext, Iterator[T]) => U,
partitions: Seq[Int],
resultHandler: (Int, U) => Unit): Unit = {
if (stopped.get()) {
throw new IllegalStateException("SparkContext has been shutdown")
}
val callSite = getCallSite
val cleanedFunc = clean(func)
logInfo("Starting job: " + callSite.shortForm)
if (conf.getBoolean("spark.logLineage", false)) {
logInfo("RDD's recursive dependencies:\n" + rdd.toDebugString)
}
dagScheduler.runJob(rdd, cleanedFunc, partitions, callSite, resultHandler, localProperties.get)
progressBar.foreach(_.finishAll())
rdd.doCheckpoint()
}
最后一行代码调用了doCheckpoint,在dagScheduler将任务提交给集群运行之后,我来看这个doCheckpoint方法
private[spark] def doCheckpoint(): Unit = {
RDDOperationScope.withScope(sc, "checkpoint", allowNesting = false, ignoreParent = true) {
if (!doCheckpointCalled) {
doCheckpointCalled = true
if (checkpointData.isDefined) {
checkpointData.get.checkpoint()
} else {
//遍历依赖的rdd,调用每个rdd的doCheckpoint方法
dependencies.foreach(_.rdd.doCheckpoint())
}
}
}
}
这个是一个递归,遍历RDD依赖链条,当rdd是checkpointData不为空时,调用checkpointData的checkpoint()方法。还记得checkpointData类型是什么吗?就是RDDCheckpointData ,我们来看它的checkpoint方法,以下
final def checkpoint(): Unit = {
// Guard against multiple threads checkpointing the same RDD by
// atomically flipping the state of this RDDCheckpointData
RDDCheckpointData.synchronized {
if (cpState == Initialized) {
//1、标记当前状态为正在checkpoint中
cpState = CheckpointingInProgress
} else {
return
}
}
//2 这里调用的是子类的doCheckpoint()
val newRDD = doCheckpoint()
// 3 标记checkpoint已完成,清空RDD依赖
RDDCheckpointData.synchronized {
cpRDD = Some(newRDD)
cpState = Checkpointed
rdd.markCheckpointed()
}
}
这个方法开始做checkpoint操作了,将doCheckpoint交给子类去实现checkpoint的逻辑,我们去看子类怎么实现doCheckpoint
protected override def doCheckpoint(): CheckpointRDD[T] = {
// Create the output path for the checkpoint
val path = new Path(cpDir)
val fs = path.getFileSystem(rdd.context.hadoopConfiguration)
if (!fs.mkdirs(path)) {
throw new SparkException(s"Failed to create checkpoint path $cpDir")
}
//需要的配置文件(如 core-site.xml 等)broadcast 到其他 worker 节点的 blockManager。
val broadcastedConf = rdd.context.broadcast(
new SerializableConfiguration(rdd.context.hadoopConfiguration))
//向集群提交一个Job去执行checkpoint操作,将RDD序列化到HDFS目录上
rdd.context.runJob(rdd, ReliableCheckpointRDD.writeCheckpointFile[T](cpDir, broadcastedConf) _)
// 为该 rdd 生成一个新的依赖,设置该 rdd 的 parent rdd 为
//CheckpointRDD,该 CheckpointRDD 负责以后读取在文件系统上的
//checkpoint 文件,生成该 rdd 的 partition。
val newRDD = new ReliableCheckpointRDD[T](rdd.context, cpDir)
if (newRDD.partitions.length != rdd.partitions.length) {
throw new SparkException(
s"Checkpoint RDD $newRDD(${newRDD.partitions.length}) has different " +
s"number of partitions from original RDD $rdd(${rdd.partitions.length})")
}
// 是否清除checkpoint文件如果超出引用的资源范围
if (rdd.conf.getBoolean("spark.cleaner.referenceTracking.cleanCheckpoints", false)) {
rdd.context.cleaner.foreach { cleaner =>
cleaner.registerRDDCheckpointDataForCleanup(newRDD, rdd.id)
}
}
logInfo(s"Done checkpointing RDD ${rdd.id} to $cpDir, new parent is RDD ${newRDD.id}")
// 将新产生的RDD返回给父类
newRDD
}
上面的代码最终会返回新的CheckpointRDD ,父类将它赋值给成员变量cpRDD,最终标记当前状态为Checkpointed并清空当前RDD的依赖链。到此Checkpoint的数据就被序列化到HDFS上了。
Checkpoint 写数据时序图

checkpoint什么时候读取数据
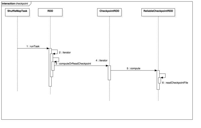
我们知道Task是spark运行任务的最小单元,当Task执行失败的时候spark会重新计算,这里Task进行计算的地方就是读取checkpoint的入口。我们可以看一下ShuffleMapTask 里的计算方法runTask,如下
override def runTask(context: TaskContext): MapStatus = {
。。。。。。。
try {
val manager = SparkEnv.get.shuffleManager
writer = manager.getWriter[Any, Any](dep.shuffleHandle, partitionId, context)
//调用rdd.iterator,迭代每个partition里的数据,计算并写入磁盘
writer.write(rdd.iterator(partition, context).asInstanceOf[Iterator[_ <: Product2[Any, Any]]])
writer.stop(success = true).get
} catch {
case e: Exception =>
try {
if (writer != null) {
writer.stop(success = false)
}
} catch {
case e: Exception =>
log.debug("Could not stop writer", e)
}
throw e
}
}
这是spark真正调用计算方法的逻辑runTask调用 rdd.iterator() 去计算该 rdd 的 partition 的,我们来看RDD的iterator()
final def iterator(split: Partition, context: TaskContext): Iterator[T] = {
if (storageLevel != StorageLevel.NONE) {
SparkEnv.get.cacheManager.getOrCompute(this, split, context, storageLevel)
} else {
computeOrReadCheckpoint(split, context)
}
}
这里会继续调用computeOrReadCheckpoint,我们看该方法
**
* Compute an RDD partition or read it from a checkpoint if the RDD is checkpointing.
*/
private[spark] def computeOrReadCheckpoint(split: Partition, context: TaskContext): Iterator[T] =
{
if (isCheckpointedAndMaterialized) {
firstParent[T].iterator(split, context)
} else {
compute(split, context)
}
}
当调用rdd.iterator()去计算该 rdd 的 partition 的时候,会调用 computeOrReadCheckpoint(split: Partition)去查看该 rdd 是否被 checkpoint 过了,如果是,就调用该 rdd 的 parent rdd 的 iterator() 也就是 CheckpointRDD.iterator(),否则直接调用该RDD的compute, 那么我们就跟进CheckpointRDD的compute
/**
* Read the content of the checkpoint file associated with the given partition.
*/
override def compute(split: Partition, context: TaskContext): Iterator[T] = {
val file = new Path(checkpointPath, ReliableCheckpointRDD.checkpointFileName(split.index))
ReliableCheckpointRDD.readCheckpointFile(file, broadcastedConf, context)
}
这里就两行代码,意思是从Path上读取我们的CheckPoint数据,看一下readCheckpointFile
/**
* Read the content of the specified checkpoint file.
*/
def readCheckpointFile[T](
path: Path,
broadcastedConf: Broadcast[SerializableConfiguration],
context: TaskContext): Iterator[T] = {
val env = SparkEnv.get
// 用hadoop API 读取HDFS上的数据
val fs = path.getFileSystem(broadcastedConf.value.value)
val bufferSize = env.conf.getInt("spark.buffer.size", 65536)
val fileInputStream = fs.open(path, bufferSize)
val serializer = env.serializer.newInstance()
val deserializeStream = serializer.deserializeStream(fileInputStream)
// Register an on-task-completion callback to close the input stream.
context.addTaskCompletionListener(context => deserializeStream.close())
//反序列化数据后转换为一个Iterator
deserializeStream.asIterator.asInstanceOf[Iterator[T]]
CheckpointRDD 负责读取文件系统上的文件,生成该 rdd 的 partition。这就解释了为什么要为调用了checkpoint的RDD 添加一个 parent CheckpointRDD的原因。
到此,整个checkpoint的流程就结束了。
Checkpoint 读取数据时序图

本文详细介绍了Spark中RDD的checkpoint机制,包括初始化过程、何时写入数据以及何时读取数据。通过设置checkpoint目录,RDD可以在计算链较长且代价较大时保存中间状态,以提高容错性和效率。checkpoint流程涉及RDD状态管理、数据序列化到HDFS以及在Task失败时从checkpoint数据恢复。
249

被折叠的 条评论
为什么被折叠?



