硬件设计-PCIE转万兆网卡设计WX1820

-
上电复位信号,1.8V

-
预留1K电阻NC上拉1.8V

-
50M参考时钟输入

-
预留1K电阻NC上拉1.8V,高有效,有效时跳过外部flsah

5.预留1K电阻NC上拉1.8V,高有效,FLASH的开始地址选择

-
预留1K电阻NC下拉,高有效。

-
I2C激光模块配置接口,需要上拉4.7K到1.8V

-
预留1K电阻NC下拉,高有效

-
预留1K电阻NC上拉1.8V

-
预留1K电阻NC下拉,高有效

-
H4 G1 预留1K电阻NC下拉。H1 H3 预留1K电阻NC上拉1.8V

-
W20 W21 Y20 NC。Y22 AA20 1K下拉,W22 U19 V20 1K上拉1.8V

-
AB2 预留1K电阻NC上拉1.8V,其余NC

-
E20 D22 1K上拉1.8V。D21 预留1K电阻NC上拉1.8V。着三个引脚内部默认下拉,用于配置FLASH的速率为31.25MHz。其余引脚为外部flash引脚。

-
串口输出引脚,预留测试点

-
H6通过磁珠接地,H7通过磁珠接1.8V

-
PCIE外部复位输入,接到CPLD.1.8V电平

-
PCIE唤醒引脚。4.7K上拉1.8V

-
外部100M时钟输入

-
PCIE总线的数据通讯

-
接200R电阻到地

-
1K NC到地,预留测试点

-
1K NC到1.8V

-
pcie有数据传输是信号高,可以外接MOS控制LED

-
156.25M差分LVDS时钟输入


-
A4 B4 D4 E4 万兆数据接口。其余RX接10K到地,TX为NC

-
A18 B18 D18 E18 万兆数据接口。其余RX接10K到地,TX为NC

-
B2 E1有数据传输时,闪亮 ,可以接LED或者接到CPLD。其余引脚分别控制不同的LED指示灯。

-
电源引脚

-
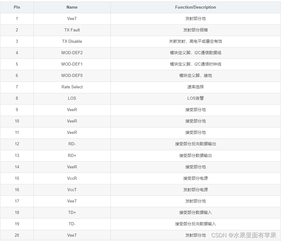
光模块接口说明
TX_Fault:发射告警信号,开集/漏极输出,需要在主板上由4.7K~10K电阻上拉至 VCC_Host。高电平:激光器失效。低电平:正常工作
TX_Disable:发射关断使能输入,需要在模块内由4.7K ~ 10K电阻上拉至VCCT。低电平: 正常工作。高电平:关断。悬空:关断
LOS:输入光功率异常指示信号,开集/漏极输出,需要4.7K ~ 10K电阻上拉至VCC_Host。高电平告警:输入光功率低于最差接受光功率
Mod_ABS:光模块存在检测,需要4.7K ~ 10K电阻上拉至 VCC_Host,低电平表示插入光模块

2万+

被折叠的 条评论
为什么被折叠?



