一、 镜像队列
在rabbitmq集群中,如果1号节点宕机,则发送到的消息会丢失,这时候就可以采用镜像队列的方式,当node1的消息备份到node2中。
具体方法:
1. 启动三台集群节点
2. 进行配置

这时消息会随机备份,就算整个集群只剩下一台机器了,依然能处理队列里的消息。
二、Haproxy 实现负载均衡
当一台机器宕机,代码中,针对rabbitmq的ip配置需要重新更换,此时,采用负载均衡方式
Haproxy 实现负载均衡

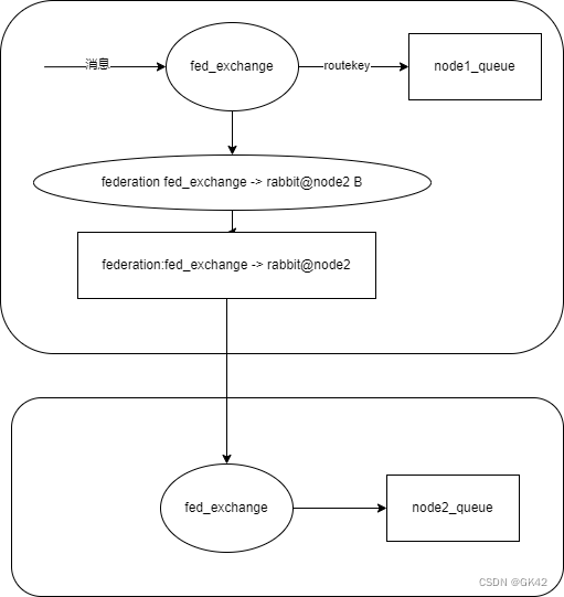
三、FederationExchange
两台mq机器,位于不同的位置,例如:一台在北京,一台在上海,那么上海的用户访问北京的机器就会造成网络延迟,这时,我们希望两侧的数据时一致的,此时可以通过FederationExchange解决这个问题。当数据A同步给数据B,那么A是数据上游。
开启插件方式:
rabbitmq-plugins enable rabbitmq_federation
rabbitmq-plugins enable rabbitmq_federation_management
原理图(先运行consumer 在node2创建 fed_exchange)

在node2 配置 node1
四、shovel
同步数据:优秀的客户端应用程序能够负责连接源和目的地,负责消息的读写及连接失败问题的处理。

8194

被折叠的 条评论
为什么被折叠?



