弹出二维码之后,用户未支付

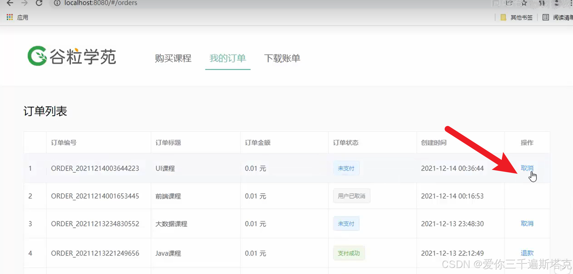
在我的订单中有一个产生的未支付的订单

点击取消之后,出现了订单已取消的提示

在WxPayController中编写一个订单取消的接口

之后为前端创建成功的提示

之后创建业务方法

创建业务方法

创建业务方法

订单号和订单状态进行更新

这是微信支付的关单接口

传一个OrderNum进入,

之后创建closeOrder这个方法

在当前的impl中进行创建就好了

给关单接口写一个注释

接收一个url地址,并且接收一个url地址

wxPayConfig.getDomain是主机地址,.concat是连接的意思

这里有一个根据订单号,关闭订单的枚举

这个位置有一个%s,应该要传订单号

用String.format去替换占位符

这个接口要传送的变量只有两个,直连商户号和商户订单号,商户订单号还通过了url进行传递了

组装JSON请求体

之后在里面设置唯一的请求体文件

再将组装的参数转换成字符串

编写注释

复制上文内容,要发送的和设置的都是JSON数据

把异常直接抛出去

把try finally给复制一下

调用关单接口的异常抛出

异常直接抛出去就可以了

使用网站微信支付API

输入一个订单号,点击测试就可以了

点击取消

在Orders.vue页面中传入了一个订单编号,点击取消按钮

注入API微信,pay

这里有一个console方法,实现了调用后端接口的功能

536

被折叠的 条评论
为什么被折叠?



