❤ 作者主页:李奕赫揍小邰的博客
❀ 个人介绍:大家好,我是李奕赫!( ̄▽ ̄)~*
🍊 记得点赞、收藏、评论⭐️⭐️⭐️
📣 认真学习!!!🎉🎉
文章目录
在公司中领导让给查询统计做出一个导出为excel的功能,第一时间想到了easyexcel,为什么?因为他真的很简单,也很容易写,EasyExcel 适用于简单数据的导入导出,因此不是很复杂的导出,都可以考虑使用easyexcel进行实现。但公司的查询统计让我在easyexcel官网中都没有找到合适的样例,因此接下来,我将介绍几种在easyexcel官网中没有记载的使用方式。
EasyExcel
easyexel官网:https://easyexcel.opensource.alibaba.com/
接下来,就默认大家都已经知道easyexcel基本的导出功能了。
如何重复多次将相同的对象写入(写到单个Sheet),并且将列表数据中的某个属性数据排除在外
要导出的页面如下

上述效果需要两个List才能实现,一个是各个业态的数量统计,一个是总数的统计,所以需要将这两个List导入到同一个sheet之中。
@RequestMapping(value = "/export",method = RequestMethod.GET)
public void exportData(HttpServletResponse response){
List<ComprehensiveLicenseSummary> summarysheet=comprehensiveLicenseService.getSummarySheet();
List<ComprehensiveLicenseSummary> summaryTotal = comprehensiveLicenseService.getSummarySheetTotal();
response.setContentType("application/vnd.openxmlformats-officedocument.spreadsheetml.sheet");
response.setCharacterEncoding("utf-8");
try {
String fileName = URLEncoder.encode("汇总表", "UTF-8").replaceAll("\\+", "%20");
response.setHeader("Content-disposition", "attachment;filename*=utf-8''" + fileName + ".xlsx");
//将列表数据中的某个属性数据排除在外不及进行统计,或者也可以直接在实体类中排除的属性数据上方加上@ExcelIgnore即可
Set<String> excludeColumnFiledNames = new HashSet<String>();
excludeColumnFiledNames.add("permitArea");
ExcelWriter excelWriter = EasyExcel.write(response.getOutputStream(), ComprehensiveLicenseSummary.class).excludeColumnFiledNames(excludeColumnFiledNames).build();
WriteSheet sheet1 = EasyExcel.writerSheet("汇总表").build();
excelWriter.write(summarysheet,sheet1);
excelWriter.write(summaryTotal,sheet1);
excelWriter.finish();
}catch (Exception e){
log.error("汇总表excel文件导出失败:"+e);
}
}
如何重复多次将不同对象写入到同一个sheet中,且共用一个标题头
效果图同上,但区别是两个List中的对象不同,因此实体类属性不一样的情况下,如何在导出后位置能够匹配上,共用同一个标题头。
@RequestMapping(value = "/exportFine",method = RequestMethod.GET)
public void exportFine(HttpServletResponse response){
List<BusinessDistrict> businessDistricts = summarySheetService.getFineProof();
List<BusinessCountByDistrict> businessCountByDistricts = summarySheetService.getBusinessCountByDistrictLicense();
response.setContentType("application/vnd.openxmlformats-officedocument.spreadsheetml.sheet");
response.setCharacterEncoding("utf-8");
ExcelWriter excelWriter = null;
try {
String fileName = URLEncoder.encode("明细表", "UTF-8").replaceAll("\\+", "%20");
response.setHeader("Content-disposition", "attachment;filename*=utf-8''" + fileName + ".xlsx");
//不同的对象导出到同一个sheet中
excelWriter = EasyExcel.write(response.getOutputStream()).build();
WriteSheet sheet1 = EasyExcel.writerSheet("明细表").needHead(Boolean.FALSE).build();
WriteTable writeTable0 = EasyExcel.writerTable(0).head(BusinessDistrict.class).needHead(Boolean.TRUE).build();
//这是两个对象,两个标题头的写法.若是需要区分两个对象数据,可以这样尝试。下面再多写两行excelWriter。write()即可
//WriteTable writeTable1 = EasyExcel.writerTable(1).head(BusinessCountByDistrict.class).needHead(Boolean.TRUE).build();
excelWriter.write(businessDistricts,sheet1,writeTable0);
excelWriter.write(businessCountByDistricts,sheet1);
}catch (Exception e){
log.error("汇总表excel文件导出失败:"+e);
}finally {
if (excelWriter != null) {
excelWriter.finish();
}
}
}
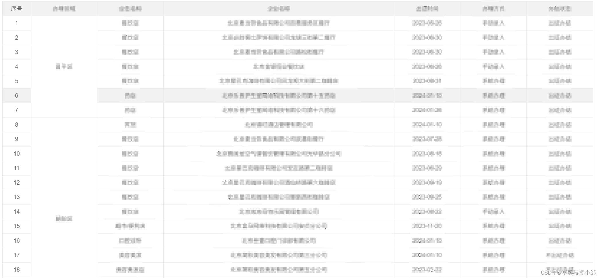
如何合并单列重复数据
接下来是最复杂的一种,导出数据后合并单列重复数据。,怎么能够将第一列重复数据合并成一个,展示成如下的格式呢?

这次数据仅仅只有一个List,但却需要我们多写一个自定义easyExcel处理器,处理单列数据相同合并单元格。在每个单元格完全创建完之后执行合并的功能。可以在处理器里面规定好要合并哪一列。代码编写如下,注解很多应该可以看懂。
@RequestMapping(value = "/exportProofByBusiness", method = RequestMethod.GET)
public void exportProofByBusinessHandle(HttpServletResponse response) {
List<BusinessHandleDetail> licenseList = summarySheetService.getDetailProofByBusiness();
response.setContentType("application/vnd.openxmlformats-officedocument.spreadsheetml.sheet");
response.setCharacterEncoding("utf-8");
ExcelWriter excelWriter = null;
try {
String fileName = URLEncoder.encode("明细表", "UTF-8").replaceAll("\\+", "%20");
response.setHeader("Content-disposition", "attachment;filename*=utf-8''" + fileName + ".xlsx");
// 自定义easyExcel处理器 ,处理单列数据相同合并单元格
excelWriter = EasyExcel.write(response.getOutputStream(),BusinessHandleDetail.class)
.registerWriteHandler(new SimpleExcelMergeUtil()).build();
WriteSheet sheet = EasyExcel.writerSheet("办理明细表").build();
excelWriter.write(licenseList,sheet);
} catch (Exception e) {
log.error("明细表excel文件导出失败:" + e);
} finally {
if (excelWriter != null) {
excelWriter.finish();
}
}
}
//自定义easyExcel处理器,处理单列数据相同合并单元格
public class SimpleExcelMergeUtil implements CellWriteHandler {
public SimpleExcelMergeUtil() {
}
/**
* 创建每个单元格之前执行
*/
@Override
public void beforeCellCreate(WriteSheetHolder writeSheetHolder, WriteTableHolder writeTableHolder, Row row, Head head, Integer columnIndex, Integer relativeRowIndex, Boolean isHead) {
}
/**
* 创建每个单元格之后执行
*/
@Override
public void afterCellCreate(WriteSheetHolder writeSheetHolder, WriteTableHolder writeTableHolder, Cell cell, Head head, Integer relativeRowIndex, Boolean isHead) {
}
/**
* 每个单元格数据内容渲染之后执行
*/
public void afterCellDataConverted(WriteSheetHolder writeSheetHolder, WriteTableHolder writeTableHolder, CellData cellData, Cell cell, Head head, Integer relativeRowIndex, Boolean isHead) {
}
/**
* 每个单元格完全创建完之后执行
*/
@Override
public void afterCellDispose(WriteSheetHolder writeSheetHolder, WriteTableHolder writeTableHolder, List<CellData> cellDataList, Cell cell, Head head, Integer relativeRowIndex, Boolean isHead) {
// 当前行
int curRowIndex = cell.getRowIndex();
// 当前列
int curColIndex = cell.getColumnIndex();
if (!isHead) {
if (curRowIndex > 1 && curColIndex == 0) {
// 从第二行数据行开始,获取当前行第一列数据
Object curData = cell.getCellTypeEnum() == CellType.STRING ? cell.getStringCellValue() : cell.getNumericCellValue();
// 获取上一行第一列数据
Cell preCell = cell.getSheet().getRow(curRowIndex - 1).getCell(curColIndex);
Object preData = preCell.getCellTypeEnum() == CellType.STRING ? preCell.getStringCellValue() : preCell.getNumericCellValue();
if (curData.equals(preData)) {
Sheet sheet = writeSheetHolder.getSheet();
List<CellRangeAddress> mergedRegions = sheet.getMergedRegions();
boolean isMerged = false;
for (int i = 0; i < mergedRegions.size() && !isMerged; i++) {
CellRangeAddress cellRangeAddr = mergedRegions.get(i);
// 若上一个单元格已经被合并,则先移出原有的合并单元,再重新添加合并单元
if (cellRangeAddr.isInRange(curRowIndex - 1, curColIndex)) {
sheet.removeMergedRegion(i);
cellRangeAddr.setLastRow(curRowIndex);
sheet.addMergedRegion(cellRangeAddr);
isMerged = true;
}
}
// 若上一个单元格未被合并,则新增合并单元
if (!isMerged) {
CellRangeAddress cellRangeAddress = new CellRangeAddress(curRowIndex - 1, curRowIndex, curColIndex, curColIndex);
sheet.addMergedRegion(cellRangeAddress);
}
}
}
}
}
}
总结:
上述只是我在实现导出为excel遇到的问题,因为官网没有具体实例,所以我记录了下来,其他正常的导入导出官方文档都有记载,大家可以多看看官方文档
文章介绍了如何使用EasyExcel库在Java中处理复杂Excel导出需求,包括多次写入相同对象到单个Sheet、排除特定属性、合并单列重复数据,并分享了自定义处理器实现合并单元格的方法。
3715

被折叠的 条评论
为什么被折叠?



