一、数据导出
Step1:把要导出的数据放到一张表中
create table 新表 as select * from 旧表 partition(p20240522)
2.去hdfs下创建导出目录(创建hdfs目录不会创建实体目录)
hdfs dfs -mkdir -p /doris/hidcp/shebeizu
3.doris中导出配置下面的表和导出目录(需要导出到hdfs的“活动的”namenode节点上)
export table shebeizu
to "hdfs://13.75.165.1
4.从hdfs中拷贝到服务器当前目录
hdfs dfs -copyToLocal /doris/hidcp/flat_data1(hdfs创建的目录) ./(服务器本地目录,此处表示当前目录,也可以使用绝对路径)
二、数据导入
Step1:准备工作:
登录doris管理地址,查看broker是否全部启动:http://10.16.1.73:9060/

都为True,即无问题。
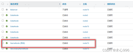
Step2:如果部署了高可用,查看NameNode,登录http://10.16.1.73:7180/ ,查看CDH NameNode:

Step3:数据导入:
1、将第一步获取到的数据copy到服务器上(必须是节点服务器)
解压(如果需要)后目录为A,例如/home/qhd
创建hdfs目录,例如hdfs dfs -mkdir -p /doris/qhd/
将解压后的数据copy到hdfs上,指令如下:hdfs dfs -copyFromLocal /home/qhd/* (服务器上解压后的目录) doris/qhd/(hdfs上新创建的目录)
等待解压完成,登录Doris数据库,执行以下命令:
load label qhd202406170005
(
DATA INFILE("hdfs://10.16.1.73:8020/doris_qhd/detect_speed_data_51/*")
INTO TABLE `detect_speed_data_new_raw`
columns TERMINATED BY "|")
with BROKER "broker_name";
备注①:10.16.1.73是Step2中Namenode对应的服务器IP,如果部署了高可用,可能会有变化
备注②:数据分隔方式 "|",根据数据导出时的指令确定
7、查看进度:show load where label='qhd202406170005';
1375

被折叠的 条评论
为什么被折叠?



