龙龙是“饱了呀”外卖软件的注册骑手,负责送帕特小区的外卖。帕特小区的构造非常特别,都是双向道路且没有构成环 —— 你可以简单地认为小区的路构成了一棵树,根结点是外卖站,树上的结点就是要送餐的地址。
每到中午 12 点,帕特小区就进入了点餐高峰。一开始,只有一两个地方点外卖,龙龙简单就送好了;但随着大数据的分析,龙龙被派了更多的单子,也就送得越来越累……
看着一大堆订单,龙龙想知道,从外卖站出发,访问所有点了外卖的地方至少一次(这样才能把外卖送到)所需的最短路程的距离到底是多少?每次新增一个点外卖的地址,他就想估算一遍整体工作量,这样他就可以搞明白新增一个地址给他带来了多少负担。
输入格式:
输入第一行是两个数 N 和 M (2≤N≤105, 1≤M≤105),分别对应树上节点的个数(包括外卖站),以及新增的送餐地址的个数。
接下来首先是一行 N 个数,第 i 个数表示第 i 个点的双亲节点的编号。节点编号从 1 到 N,外卖站的双亲编号定义为 −1。
接下来有 M 行,每行给出一个新增的送餐地点的编号 Xi。保证送餐地点中不会有外卖站,但地点有可能会重复。
为了方便计算,我们可以假设龙龙一开始一个地址的外卖都不用送,两个相邻的地点之间的路径长度统一设为 1,且从外卖站出发可以访问到所有地点。
注意:所有送餐地址可以按任意顺序访问,且完成送餐后无需返回外卖站。
输出格式:
对于每个新增的地点,在一行内输出题目需要求的最短路程的距离。
输入样例:
7 4
-1 1 1 1 2 2 3
5
6
2
4
输出样例:
2
4
4
6
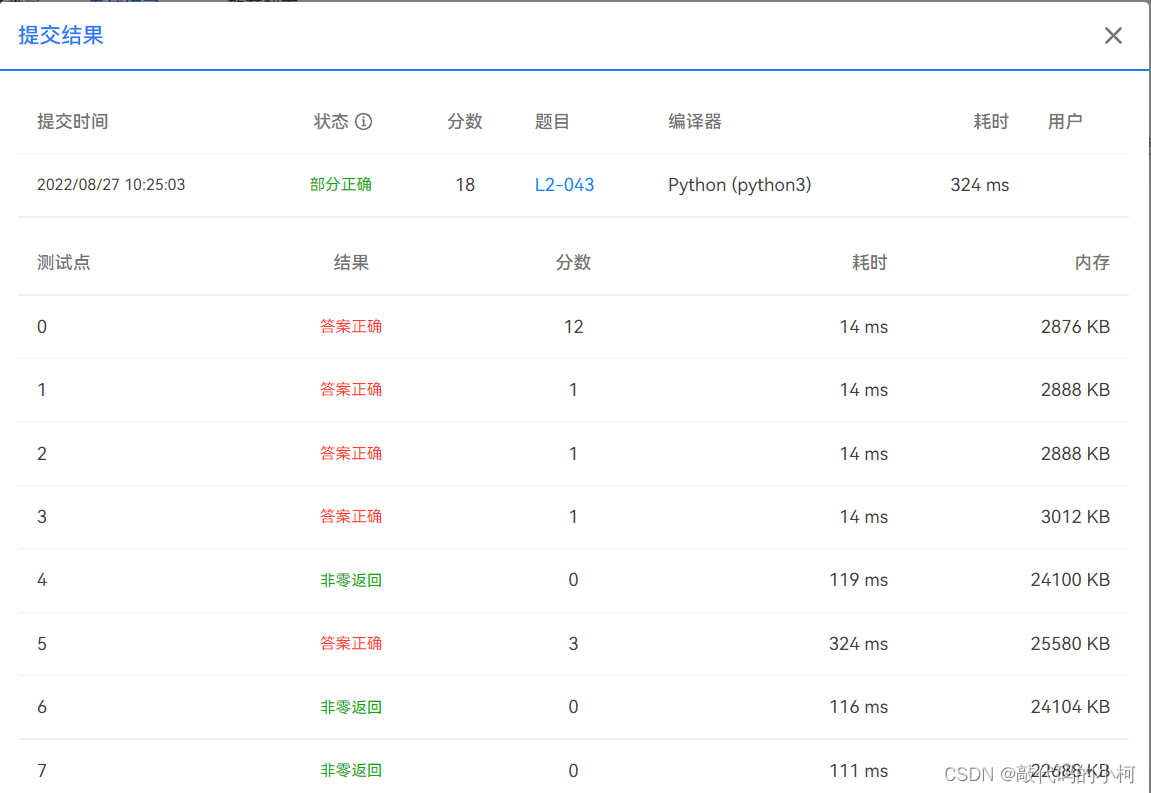
提交结果:

代码(测试点4,测试点6,测试点7非零返回):
import sys
def dfs(pos):
global ans
if st[pos] or pos == root:
return
st[pos] = True
ans += 2
dfs(p[pos])
def init(u, dep):
for it in v[u]:
init(it, dep + 1)
d[u] = dep
n, m = list(map(int, sys.stdin.readline().split()))
data = list(map(int, sys.stdin.readline().split()))
p = [0 for _ in range(n + 1)]
d = [0 for _ in range(n + 1)]
st = [0 for _ in range(n + 1)]
v = [[] for _ in range(n + 1)]
for i in range(1, n + 1):
if data[i - 1] == -1:
p[i] = i
root = i
continue
p[i] = data[i - 1]
v[data[i - 1]].append(i)
init(root, 1)
maxdep = -1
ans = 0
for i in range(m):
x = int(sys.stdin.readline())
if st[x]:
print(ans - maxdep + 1)
else:
dfs(x)
maxdep = max(maxdep, d[x])
print(ans - maxdep + 1)


897

被折叠的 条评论
为什么被折叠?



