Linux—Linux常用命令总结
1、vi和vim
(1)vim基本编辑保存步骤
vim data.txt:打开或创建data.txt文件,进入一般模式
输入i进入编辑模式,并进行文本编辑
按esc,输入:,①wq保存并退出,②q不保存退出,③q!不保存并强制退出
(2)vi和vim快捷键(都在一般模式下)
拷贝当前行yy,拷贝当前行向下的3行3yy,粘贴p
删除当前行dd,删除当前行下3行3dd
文件中查找某关键字:/关键字
设置文件行号:set nu,取消文件行号:set nonu
一般模式下,到最后一行G,到第一行gg
撤销u
定位到第20行,输入20,在输入shift+g
(3)模式切换

(4)vi和vim快捷键大全

2、关机、重启、登录、注销
(1)关机、重启

注意:
不管是重启还是关机,首先运行sync命令,把内存中的数据写到磁盘中;
目前shutdown、reboot、halt都支持在操作之前进行sync,但小心使得万年船;
(2)登录与注销
一般不用系统管理员登录,实际中都用一般用户登录,然后可以通过命令切换到管理员权限,
切换系统管理员:su - root
注销:logout
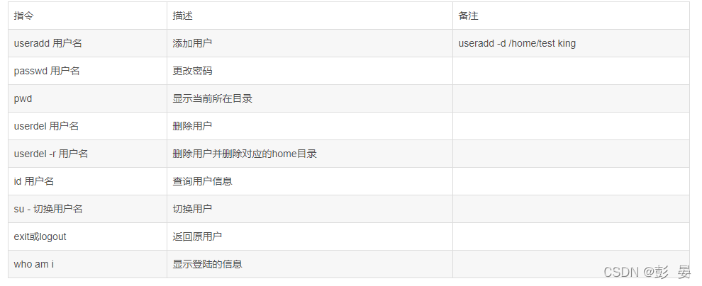
3、用户基本语法

4、用户组

5、运行级别
(1)指定运行级别

(2)查看
查看当前运行级别:systemctl get-default
指定用户默认运行级别:system set-default multi-user.target

3:多用户级别,multi-user.target
5:图形化界面级别,graphical.target
6、帮助指令

7、文件目录类

8、时间日期类

9、搜索查找类

10、压缩和解压


本文总结了Linux系统中的关键操作,包括vi/vim编辑器的使用,如打开、编辑、保存和退出文件,以及常用快捷键。还涵盖了系统管理命令,如关机、重启、用户管理和运行级别设置。此外,提到了帮助指令、文件目录操作、时间和日期管理、搜索查找功能和压缩解压工具,是Linux初学者的实用参考资料。
1254

被折叠的 条评论
为什么被折叠?



