计算机毕业设计民宿旅游管理系统2r1kc9
(配套有源码 程序 mysql数据库 论文)本套源码可以先看具体功能演示视频领取,文末有联xi 可分享
随着全球经济信息化和互联网的普及,传统民宿旅游行业的管理模式已难以满足现代高效、便捷的运营需求。为了提升民宿旅游管理的效率和服务质量,开发一套信息化、智能化的民宿旅游管理系统显得尤为重要。该系统不仅能够优化管理流程,还能通过数据分析和智能推荐为用户提供更好的体验,推动民宿旅游行业的数字化转型。
本项目基于 Spring Boot 架构开发,采用 Java 语言和 MySQL 数据库进行设计,实现了以下功能模块:
-
个人中心:用户可以管理个人信息,查看操作记录等。
-
用户管理:管理员可以添加、删除和修改用户信息。
-
客房类型管理:支持对客房类型的增删改查操作。
-
民宿客房管理:管理员可以管理民宿客房信息,包括客房名称、类型、价格、图片等。
-
客房预定管理:用户可以在线预定客房,管理员可以管理预定信息。
-
入住安排管理:管理员可以安排入住信息,包括房间分配、入住时间等。
-
系统管理:提供系统设置功能,包括公告管理、客服管理、轮播图管理等。
-
民宿客房评论:用户可以对民宿客房进行评论,管理员可以管理评论内容。
-
收藏功能:用户可以收藏感兴趣的民宿客房。
-
平台客服:用户可以通过平台客服与管理员进行沟通。
-
系统公告:管理员可以发布系统公告,用户可以查看公告内容。
这些功能模块的设计不仅满足了民宿旅游管理的基本需求,还通过信息化手段提升了管理效率和用户体验。系统界面简洁易用,操作流程直观,能够快速适应不同用户的需求,为民宿旅游管理者提供高效、便捷的管理工具。
注:完成的毕业设计程序以下面的的环境软件、功能图和界面为准。
系统所需要的环境软件:idea、eclipse+mysql5.7、8.0+Navicat+JDK1.8+tomcat7.0
3.2系统流程设计
3.2.1 系统开发流程
民宿旅游管理系统的设计和开发,首先要对用户的实际使用需求和具体情况进行细致的分析,分析出系统要完成的全部功能,然后再针对整个系统的工作流程和功能进行设计,力求每个模块都能够达到用户的要求,最后通过测试来解决问题,保证系统的稳定和正常的运转,本系统的开发流程如图3-1所示。
图3-1系统开发流程图
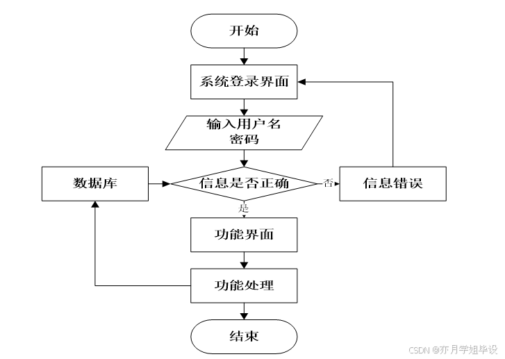
3.2.2 用户登录流程
登录流程实现了管理员和其他用户的登录,在登录页面需要用户填写自己的信息,前端页面会将信息传递给后端接口,然后查询数据库确定该身份有效后登录成功,否则此用户登录失败,需要重新填写信息,进行再次验证,如图3-2所示。
图3-2登录流程图
3.2.3 系统操作流程
系统操作流程分析是软件开发过程中的一个关键环节,它是整个系统整体的运行过程,必须保证其中的每一个步骤都是确定的,这样一个规范的流程图可以使开发者易于理解,快速的投入到接口开发中,从而提升系统开发效率。
同时,流程图还能减少开发者对系统操作流程产生歧义和降低沟通的成本,系统操作流程如图3-3所示。
图3-3系统操作流程图
3.2.4 添加信息流程
系统的正常运行离不开数据的支撑,因此,在本系统中添加了数据插入功能,数据库中数据的缺失,会直接影响到数据的查询结果,查询结果错误又会导致逻辑处理出现偏差,最终导致系统性错误或故障,所以在对系统进行数据添加操作时,必须要对数据进行合法性校验,确定此条数据是否有惟一的主关键字和字段是否允许为空等等,若数据库表中不允许某字段为空,而程序没有进行该字段非空逻辑校验,那么就会出现数据存储失败,可能因此造成严重系统后果。添加信息流程如图3-4所示。
图3-4添加信息流程图
3.2.5 修改信息流程
因为使系统的使用者是人,所以难免会有疏忽,从而造成系统输入的信息有误。或者由于其他原因导致数据发生改变,使得必须对系统内的数据进行相应的调整,所以在程序运行中,数据的修改操作是不可缺少的重要环节。
在进行数据更新时,必须要有一个惟一的主关键字,以便数据库能够查询到相应的数据;另外,还必须遵守数据插入过程的操作规范,以确保数据的正确性。修改信息流程图如图3-5所示。
图3-5修改信息流程图
3.2.6 删除信息流程
删除操作在系统中并非是必须的,可根据用户及系统的需要来决定是否添加删除功能,删除操作就是使用delete语句将数据库中的某一匹配数据删除,因为此操作会导致用户数据丢失,所以为了避免使用者误按删除键,应在用户点击删除按钮时添加一个提示确认弹窗,当用户确定要删除时,再进行数据库的操作,并且在删除操作完成后要对用户进行反馈。删除信息流程图如图3-6所示。
图3-6 删除信息流程图
3.3系统用例分析
3.3.1 管理员用例图
民宿旅游管理系统的最大权限用户是管理员,通过管理员菜单中的个人中心、用户管理、客房类型管理、民宿客房管理、客房预定管理、入住安排管理、系统管理等选项来对系统后台信息进行管理。管理员用例如图3-7所示。
图3-7管理员用例图
3.3.2 用户用例图
用户进入系统可以实现对首页、民宿客房、系统公告、后台管理、平台客服、个人中心等进行操作。用户用例如图3-8所示。
图3-8用户用例图
4 系统设计
4.1 系统概述
民宿旅游管理系统的设计与开发是指对该系统的各个功能模块进行详细设计,力求每个模块都能够满足用户的要求,系统开发完成后还需对系统进行单元测试和系统测试,发现系统中存在的问题并解决,确保系统正常稳定的运行。民宿旅游管理系统工作原理图如图4-1所示:

图4-1 系统工作原理图
4.2 系统结构设计
系统结构设计必须要满足用户的业务需求,系统结构设计完成后要形成系统结构设计文档,开发人员就可根据模块接口说明进行接口开发,接口开发完需进行功能测试,目的是发现并解决系统漏洞,同时还得保证系统的可扩展性和稳定性,满足用户对系统的要求。系统设计需满足以下要求:
- 安全性
- 易用性
- 柔软性
- 柔软性
- 扩展性
民宿旅游管理系统的整体结构设计主要分为两大部分:管理员和用户。管理员的职责是管理用户信息及设置用户权限,发布公告等其他基础功能的管理;整体结构设计如图4-2所示。

图4-2 整体结构设计图
4.3 数据库设计
本系统依赖于MySQL数据库来储存信息,系统完成后,所有需要的数据都要从数据库中读取,这也意味着无论是插入、更新还是删除操作,只要对数据有改动的操作都需要与数据库交互,因此,系统的全部数据都要储存在数据库,必须保证数据库在未经授权情况下不得进行删除表结构等危险操作,而且要保证表中字段的准确性。
4.3.1 数据库设计原则
- 从上而下
- 从下至上
- 逐渐扩大
- 结合方法
4.3.2 数据库实体
E-R图,即实体-联系图,它是一种通过对实例进行抽象,以可视化的方式来描述现实世界的概念模型。根据需求分析绘制出数据库的E-R图,能够直观地映射出各个表之间的关系。
本系统的实体属性图如下图所示:
1、用户实体图如图4-3所示:

图4-3用户实体图
2、民宿客房实体图如图4-4所示:

图4-4民宿客房实体图
3、客房预定实体图如图4-5所示:

图4-5客房预定实体图
4、入住安排实体图如图4-6所示:

图4-6入住安排实体图
5界面设计与功能实现
5.1系统功能模块实现
当人们打开系统的网址后,首先看到的就是首页界面。在这里,人们能够看到民宿旅游管理系统的导航条,通过导航条导航进入各功能展示页面进行操作。系统首页界面图如图5-1所示。

图5-1 系统首页界面
用户注册:在用户注册页面的输入栏中输入用户注册信息进行注册操作,用户注册界面如图5-2所示。

图5-2 用户注册界面
民宿客房:在民宿客房页面的输入栏中输入客房名称进行查询,可以查看到民宿客房详细信息,并进行在线预定,评论或收藏操作;民宿客房界面如图5-3所示。

图5-3民宿客房界面
个人中心:在个人中心菜单页面输入个人信息可以进行立即保存或重置操作,还可以对我的收藏进行相应操作;个人中心界面如图5-4所示。

图5-4个人中心界面
5.2后台模块实现
后台用户登录,在登录页面选择需要登录的角色,在正确输入用户名和密码后,进入操作系统进行操作;如图5-5所示。

图5-5 后台登录界面
5.2.1管理员模块实现
管理员进入主页面,主要功能包括对个人中心、用户管理、客房类型管理、民宿客房管理、客房预定管理、入住安排管理、系统管理等进行操作。管理员主界面如图5-6所示:

图5-6 管理员主界面
管理员点击用户管理。在用户页面输入用户名进行查询、新增或删除用户列表,并根据需要对用户详情信息进行详情、修改或删除操作;如图5-7所示:

图5-7用户管理界面
管理员点击客房类型管理。在客房类型页面输入客房类型进行查询、新增或删除客房类型列表,并根据需要对客房类型详情信息进行详情、修改或删除操作;如图5-8所示:

图5-8客房类型管理界面
管理员点击民宿客房管理。在民宿客房页面输入客房名称进行查询、新增或删除民宿客房列表,并根据需要对民宿客房详情信息进行详情、修改、查看评论或删除操作;如图5-9所示:

图5-9民宿客房管理界面
管理员点击客房预定管理。在客房预定页面输入客房名称和客房类型进行查询或删除客房预定列表,并根据需要对客房预定详情信息进行详情、入住安排、修改或删除操作;如图5-10所示:

图5-10客房预定管理界面
管理员点击入住安排管理。在入住安排页面输入客房名称、客房类型和房间号进行查询或删除入住安排列表,并根据需要对入住安排详情信息进行详情、修改或删除操作;如图5-11所示:

图5-11入住安排管理界面
管理员点击系统管理。在系统简介页面输入标题进行查询系统简介列表,并根据需要对系统简介详情信息进行详情或修改操作;还可以对轮播图管理、系统公告、平台客服和关于我们进行相应操作;如图5-12所示:

图5-12系统管理界面
5.2.2用户模块实现
用户进入系统可以对个人中心、客房预定管理、入住安排管理等功能进行操作。用户主界面如图5-13所示:

图5-13用户主界面
用户点击客房预定管理。在客房预定页面输入客房名称和客房类型进行查询或删除客房预定列表,并根据需要对客房预定详情信息进行详情或删除操作;如图5-14所示:

图5-14客房预定管理界面
源码无偿分享,文未领取
7876

被折叠的 条评论
为什么被折叠?



