源码编号:B-I11
项目类型:Java web(Servlet)
项目名称:基于JSP+Servlet教育规划类项目申报与评审系统
用户类型:三角色(教师、评审员、管理员)
前端技术:Layui、HTML、CSS、JS、JQuery、Ajax等技术
后端技术:JSP、Servlet、C3P0、JavaBean等技术
运行环境:Win10、JDK1.8
数 据 库:MySQL5.5/5.7/8.0版本
运行服务器:Tomcat7.0及以上版本
运行工具:IDEA
数据库表数量:4张表
是否基于Maven: 是
是否有代码注释:有注释
是否有毕业论文:有
是否有PPT:有
适用场景:适合Java课程设计实训项目,对学Java的同学来说非常适合学习。
项目简介:本系统主要是教师进行科研项目申报,评审员审批、管理员负责管理项目申报、统计分析、评审员和教师的信息管理。主要功能:教师主要有登录、项目申报列表、我要申报、我的信息等功能。评审员主要有登录、项目审批、个人信息维护等功能。管理员端有登录、申报统计、教师管理、评审人员管理、项目申报审批管理、系统管理等功能。
项目内容

项目骨架

数据库

登录

教师列表

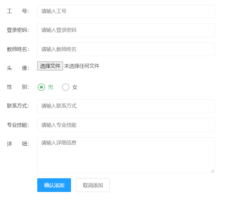
添加教师

修改教师

评审人员列表

添加评审人员

修改评审人员

项目申报审批列表

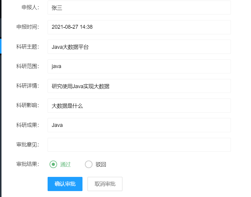
审批

项目申报列表

申报统计

个人信息修改

论文目录

摘要

绪论

需求分析

系统设计

测试用例

16万+

被折叠的 条评论
为什么被折叠?



