目录
1.局域网有哪几种拓扑结构,各有什么特点?分别举出一种有代表性的网络。
3.说出IEEE定义的第2层协议的两个子层名称,并指出它们的用途。
3. TCP/IP网络体系结构为什么要保证网络层的协议一致。
5. ISO-OSI参考模型包括哪些层次,各有什么作用?不同层次数据包结构如何设计?
1.从C1向C5发送一个IP报头(报文总长1200B),给出此IP报文在N1、N2、N3、N4、N5中的每个分片的大小及其偏移量
5. 考虑如何利用ICMP协议对一个网络上的时延性能进行监控?
1.为什么客户发出的控制连接是主动打开,但发出的数据连接是被动打开?
4.以最少跳数作为最短路径,给出下面图形中所有交换设备的路由表。
2. Socket接口及其在Client-Server模式中的执行模式。
1. 若已经建立了一条TCP连接,为什么要传送邮件时还要建立一条TCP连接。
2. 在SMTP中,若在两个用户间只发送1行的报文,则要交换的命令和响应共有多少行。
三、第三周:
1.局域网有哪几种拓扑结构,各有什么特点?分别举出一种有代表性的网络。
答:星型网;代表性的网络:异步传输模式(ATM);特点是一个主机和各个计算机相连,每个计算机之间的通信都要通过主机作为中继,呈现出星型的拓扑结构。网络结构简单,便于管理,单个计算机瘫痪不会影响到其他主机,但中心节点的故障会引起整个系统瘫痪。
环形网;代表性的网络:IBM的令牌环、光纤分布数据互联(FDDI);特点是每个相邻通信的电脑通过点对点连接直到形成一个闭环,非相邻电脑通信需要通过别的电脑作为中介才能实现通信。结构简单,容易监控通断情况,但建成后很难增加新的节点,且某个节点的异常影响其它节点的通信。
总线网;代表性的网络:以太网、LocalTalk;特点是每个计算机和数据总线相连,总线这一传输媒介为各计算机共享使用,通过向总线发送数据,向总线两端发送数据,接收方也可以从总线收到数据。在任何时候只有一台主机能够正常往总线发送数据。安装简单方便,成本低,某个站点的故障一般不会影响整个网络;但介质的故障会导致网络瘫痪,同时线网安全性低,容易被中断通信和监听。

2.简述以太网的工作原理。
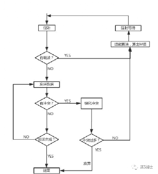
答: 【重点常考知识点】以太网是总线型的网络拓扑结构,采用“带冲突检测的载波帧听多路访问机制(CSMA/CD)”。以太网(局域网内,或没做隔离措施的网络)中所有节点都可以看到在网络中发送的所有信息,因此,以太网是一种广播网络。 当以太网中的一台主机要传输数据时,它将按如下步骤进行: 1、监听信道上是否有信号在传输;如果有,则说明信道处于忙状态,就继续帧听,直到信道空闲为止。 2、若没有监听到任何信号,就传输数据 3、传输的时候继续帧听;如发现冲突,则执行退避算法,随机等待一段时间后,重新执行步骤1(当有冲突时,涉及冲突的计算机会返回到监听信道的状态)。注意,每台计算机一次只允许发送一个包或一个拥塞序列,以警告所有的节点。 4、若未发现冲突则发送成功,所有计算机在试图再一次发送数据之前,必须在最近一次发送后等待9.6微秒(假设以10Mbps运行)。

3.说出IEEE定义的第2层协议的两个子层名称,并指出它们的用途。
(Name the two sublayers of Layer 2 protocols defined by IEEE, and give the purpose of each)
答:介质访问控制(MAC子层) 1 数据帧的封装/卸装 2 帧的寻址和识别,帧的接收与发送 3 链路管理 4 帧的差错控制
逻辑链路控制(LLC子层) 1 传输可靠性保障和控制 2 数据包的分段和重用 3 数据包的顺序传输 4 寻址和解复用
13.7什么是点对点网络?(What is a point-to-point network?)
答:点对点连接是两个系统或进程之间的专用通信链路。点对点网络由很多互相连接的节点组成,在每对机器之间由单独的通信通道,比如网状网络,就是点对点连接。
4.简述广播和多播的技术原理和特点。
答:广播技术原理:发送方按照广播地址向共享介质发送数据帧,网上所有设备的网卡进行数据帧拷贝放入内存,中断CPU,让系统软件判别是否丢弃该数据帧。广播的特点:所有网上的计算机都可以拷贝到数据包,由接收方CPU决定是否保留数据帧。
多播技术原理:发送方按照多播地址向共享介质发送数据帧,网上设备网卡根据程序确定接收或丢弃数据帧。多播的特点 ①单播和广播是两个极端,要么一个,要么全部。而多播提供一种折衷方案,多播数据报仅由对该数据报感兴趣的接口接收。 ②广播一般局限于局域网,而多播既可以用于局域网也可以跨越广域网。
5.简单描述以太网的帧格式
Ethernet II是以太网最常见的帧格式之一:帧头部由6个字节的目的MAC地址,6个字节的源MAC地址,2个字节的类型域(用于表示装在这个帧里面的数据类型),接下来是46--1500 字节的数据,和4字节的帧校验

拓展:随着以太网的的广泛应用和发展出现了一些变种和拓展,以满足不同的需求,大家可以自行学习:

13.2 In a circuit-switched network(线路交换网络),can multiple circuits share a single optical fiber(共享单条光纤)? 在电路交换网络中,多条电路能否共享单条光纤?试解释之。
答:可以共享。因为多条电路可以复用一条光纤实现通信。而且这条共享介质光纤就是虚电路。(ps:虚电路是依据需求临时建立的电路路径,需要占用一定的介质资源,用于传输数据,当数据传输结束后,虚电路会被拆除,释放资源,其它电路得以连接)
13.4 If someone wanted to broadcast a copy of a video presentation, is a circuit switching system(线路交换) or a packet switching(分组交换) perferable?Why? 如果某人想广播一个视频副本,电路交换和分组交换哪个更可取?为什么?
答:分组交换更好。因为电路交换的特点是点对点通信。分组交换是允许多对多的通信,所以分组交换更利于广播;此外,分组交换模式采用异步的通信的方式,更具便利性。(ps:电路交换是建立一个专用的物理连接来传输数据,适合实时、连续的通信,如电话通话;而分组交换则是将数据切分成小的数据包进行传输,适合传输量大、接收对象多、灵活性高的场景,如互联网通信)
四、第四周:
1. 理解TCP/IP协议的层次结构和各层功能。
答:【重点常考知识点】TCP/IP协议的层次结构及对应功能:
第一层:物理层。规定底层传输介质和相关硬件的细节。(关键词:介质、硬件)
第二层:链路层。处理数据在物理网络中的传输和接收,主要由控制硬件的MAC(介质访问控制层)与LLC(逻辑链路子层)两个子层组成。

第三层:网络层。规定计算机间通过网络进行通信的细节,包括编址结构、分组格式等。包括:IP协议、RIP协议(路由信息协议)、OSPF,负责数据的包装、寻址和路由;同时还包含ICMP(网间控制报文协议)用来实现差错报告机制。
第四层:传输层。用于实现应用程序间的通信,提供了传输速率控制、拥塞避免等机制。具有TCP和UDP两个具有代表性的协议,提供了端到端的通信服务。其中TCP协议(Transmission Control Protocol)提供可靠的数据流传输服务,UDP协议(Use Datagram Protocol)提供不可靠的数据报服务。
第五层:应用层。提供应用程序与网络间的接口,负责处理特定的应用需求和数据传输。

2. 比较与ISO/OSI参考模型的异同。
异:ISO/OSI参考模型不同于TCP/IP,它有七层分层:物理层、数据链路层、网络层、传输层、会话层、表示层和应用层。OSI参考模型的协议对比TCP/IP参考模型更具有面向对象的特性,对服务、接口、协议更为明确。
同:都采用分层的方法,每层都建立在下一层之上;两种模型都是独立的协议栈,用于解决计算机之间的数据传输问题。

3. TCP/IP网络体系结构为什么要保证网络层的协议一致。
答:为了保证数据包能送到目的站点,同时可以正确解析数据包,必须保证网络层的协议一致。如果网络层的协议不一致,数据分组的封装格式不相同,就算实现了发送接收,也无法正确识别出数据包;路由器无法正确解析逻辑地址,连数据包准确发送到目的站点都无法做到。
4.网络协议为什么要分层?
答:为了简化网络设计的复杂性,各层协议之间既相互独立又相互便利。
分层的好处有: ① 灵活性好:当任何一层发生变化时,只要层间接口关系保持不变,则其它层不受影响。此外,对某一层提供的服务还可进行修改。当某层提供的服务不再需要时,甚至可以将这层取消,更容易管理。 ② 各层之间是独立的:在各层间标准化接口,允许不同的产品只提供各层功能的一部分,某不需要知道它的下一层是如何实现的,而仅仅需要知道该层通过层间的接口所提供的服务。由于每一层只实现-种相对独立的功能,所以比较容易实现。

5. ISO-OSI参考模型包括哪些层次,各有什么作用?不同层次数据包结构如何设计?
答:1、物理层的主要功能是利用传输介质为数据链路层提供物理连接,负责数据流的物理传输工作。物理层传输的基本单位是比特流,即0和1,也就是最基本的电信号或光信号,是最基本的物理传输特征。
2、数据链路层是在通信实体间建立数据链路连接,数据链路控制子层会接受网络协议数据、分组的数据报并且添加更多的控制信息,从而把这个分组传送到它的目标设备。
3、网络层是以路由器为最高节点俯瞰网络的关键层,它负责把分组从源网络传输到目标网络的路由选择工作。互联网是由多个网络组成在一起的一个集合,正是借助了网络层的路由路径选择功能,才能使得多个网络之间的联接得以畅通,信息得以共享。
4、传输层使用网络层提供的网络联接服务,依据系统需求可以选择数据传输时使用面向联接的服务或是面向无联接的服务。
5、会话层的主要功能是负责维护两个节点之间的传输联接,确保点到点传输不中断,以及管理数据交换等功能。会话层在应用进程中建立、管理和终止会话。会话层还可以通过对话控制来决定使用何种通信方式,全双工通信或半双工通信。会话层通过自身协议对请求与应答进行协调。
6、表示层的主要功能是处理在两个通信系统中交换信息的表示方式,主要包括数据格式变化、数据加密与解密、数据压缩与解压等。在网络带宽一定的前提下数据压缩的越小其传输速率就越快,所以表示层的数据压缩与解压被视为掌握网络传输速率的关键因素。
7、应用层采用不同的应用协议来解决不同类型的应用要求,并且保证这些不同类型的应用所采用的低层通信协议是一致的。应用层中包含了若干独立的用户通用服务协议模块,为网络用户之间的通信提供专用的程序服务。


(解析:地址类型:A类范围0~127,最高位0开头。B类范围128~191,最高位10开头。C类范围192~223,最高位110开头。D类范围224~239,最高位1110开头。
网络位数:每类地址前缀部分,A类8位,B类16位,C类24位,D类32位。斜杠后的数字表示从地址最左边开始连续的1的个数。子网位数=斜杠后的数-网络位数。主机位数=32-斜杠后的数。)
答:218.193.48.48/27
地址类型:C类。(218=11011010以110开头)
网络位数:24,子网位数:3,主机位数:5(C类地址网络位数24,子网位数=27-24=3,主机位数=32-27=5)
子网掩码:255.255.255.0
支持主机数:30(2^5-2=30,减2的原因为:全0标示的是子网的网络地址,用于表示子网的起始位置,全1标示的是广播地址,所以要扣除这两个地址)
答:6.23.136.43/16
地址类型:A类(6=00000110以0开头)
网络位数:8,子网位数:8,主机位数:16
子网掩码:255.0.0.0
支持主机数:65534(2^16-2=65534)

(解析:说明一下,R1、R2...这些是路由器;C1、C2....这些是主机,可以理解为计算机;路由器与路由器间的线代表的是网络,比如R1到R2这条线代表的网络是10.0.0.0,R2到R4代表的网络是30.0.0.0,以此类推...
答:路由器有一个别名叫作“网关”,可以很形象地理解为网络的关口,一个路由器可以连接不同网络,比如R2路由器连接R1、R3、R4的“关口”分别为:10.0.0.4、20.0.0.1、30.0.0.1)

(可能还有同学不明白这道题的意思,在这里我解释一下,Destination表示的是目标网络,Mask表示的是子网掩码,Next Hop表示的是下一跳
比如拿R3举例,如果R3路由器想转发数据到网络20.0.0.0和40.0.0.0,因为这两个网络都直接和路由器本身连通,所以可以直接传送,但如果想传送数据到网络10.0.0.0或者30.0.0.0,就必须要经过R2路由器,通过关口20.0.0.1,大致就是这个意思)

五、第五周:
1.从C1向C5发送一个IP报头(报文总长1200B),给出此IP报文在N1、N2、N3、N4、N5中的每个分片的大小及其偏移量

分析:每经过一个路由器Ri会加上一个报文头。除了最后一个分片之外,其它分片的大小必须是8的倍数,注意分片的大小指的是一个报文去掉报头后的大小。注意首先会对IP报文进行分片,然后再为每个分片添加IP报头,因此要预留上IP报头的大小。特别注意:只有对需要分片的报文才需要附带新的IP报文头部,如果原始的IP报文的大小不超过MTU则不需要增加新的报文头部。还需要注意:当需要对一个IP报文进行重新分片时,还需要先去掉原始报文的头部。
答:【重点常考题】以N2段为例:在N1段,报文总长1200B(在R1处已加报头)。在N2段,先对1200B进行分片,对第1个分片,因为MTU为800B,所以用800B-报头(20B)=780B,小于780B能被8整除的数是776B(=97*8),加上报头,所以第1片是796B。对第2片,还剩下404B内容,所以是404B+20B=424B,偏移量取前面的97。需要注意最后一个分片的大小的不要求是8的倍数。
在以N3段为例:第1片中数据的长度是776B,MTU最大为600B,因此用600-报头=580B,小于580且能被8整除的数的576(=72*8),所以第一片大小576+20=596B,偏移量为0,剩下200B(776B-576B)内容自成一片,加上报头为220B,偏移量为72。再对第2片分片,因为424<600,所以不需要分片,也不需要加上新的报文头部,所以大小是424B。
以此类推,下面的答案;

六、第六周:
1.简述2种地址解析方法的原理。
(1)查表法:地址联编或映射信息存储在内存当中的一张表里,当软件要解析一个地址时,可在其中找到所需结果。查表方法需要一张包含地址联编信息的表,表中的每一项是一个二元组( P,H),P是协议地址,H是指等价的物理地址。每一项对应于网络中的一个站。项包含两个域,一个是站的IP地址,另一个是站的硬件地址。给出下一站的IP地址N,软件就开始搜索表,直到发现某一项的IP地址域与N匹配,则该项的硬件地址域中的值被输出。
(2)信息交换法:计算机通过网络交换消息来解析一个地址。一台计算机发出某个地址联编的请求消息后,另一台计算机返回一个包含所需信息的应答消息。当某台计算机需要解析一个IP地址时,会通过网络发送一个请求消息,之后会收到一个应答。发送出去的消息包含了对指定协议地址进行解析的请求,应答消息包含了对应的硬件地址。
(3)相近形式计算:仔细地为每一台计算机挑选协议地址,使得每台计算机的硬件地址可通过简单的布尔和算术运算得出它的协议地址。当一台计算机连入一个动态编址的网络时,该网的管理员必须为它挑选一个硬件地址和一个IP地址,并且所挑选的两个地址值应使地址解析非常简单。
2.简述ARP发送和接收端的操作过程
发送端:(1)当主机A要发送IP数据包,但查不到目的IP地址对应的MAC地址时,就向网络中ARP请求报文。(2)ARP请求报文中,发送方IP地址和发送方MAC地址为主机A的IP和MAC地址,目标IP地址和目标MAC地址为主机B的IP地址和全0的MAC地址。(3)主机A将ARP报文封装成物理网络中数据帧格式广播发送出去,等待ARP响应。 (4)主机A收到响应报文后,将主机B的MAC地址存入ARP表中,并将IP数据包进行封装发送给主机B。
接收端:(1)主机B接收到ARP报文。(2)主机B从ARP报文中提取出主机A的MAC/IP映射关系,同时更新高速缓存信息。(3)主机B检查ARP报文中的操作域。对于请求报文,如果“目标IP地址”和主机B的IP地址一致,则主机B发送一个ARP响应,将ARP请求报文中的发送端(即主机A)的IP地址和MAC地址存入自己的ARP表中。之后以单播方式发送ARP响应报文给主机A,其中包含了自己的MAC地址;如果不一致,则丢弃。
3. ICMP对IP数据传输采取了哪些控制措施?
ICMP 大致分成两种功能:差错报告报文和询问报文。(1)确认IP包是否成功到达目标地址 (2)通知在发送过程中IP包被丢弃的原因。

4. 理解TraceRoute和PING的原理。
答:【重点常考题】TraceRoute用于检测数据报能否抵达某个路由器,并计算路径的长度。PING用于检测能否与远程的机器互联互通。
TraceRoute原理:是利用ICMP及IP header的TTL(Time To Live)。首先,traceroute送出一个TTL是1的IP datagram到目的地,当路径上的第一个路由器收到这个datagram时,它将TTL减1。此时,TTL变为0了,所以该路由器会将此datagram丢掉,并送回一个「ICMP time exceeded」消息,traceroute收到这个消息后,便知道这个路由器存在于这个路径上,接着traceroute再送出另一个TTL是2 的datagram,发现第2个路由器...... traceroute每次将送出的datagram的TTL 加1来发现另一个路由器,这个重复的动作一直持续到某个datagram 抵达目的地。
PING原理: Ping使用ICMP回应请求和回应应答报文来实现。当调用ping程序时,它发送一个包含ICMP回应请求的报文给目的地,然后等待一段很短的时间。如果没有收到应答,则重新传送请求。如果重传的请求仍没有收到应答(或收到一个ICMP目的不可达报文),ping声称该远程机器为不可达。远端主机上的ICMP软件应答该回应请求报文。按照协议只要收到回应请求, ICMP软件必须发送回应应答。
5. 考虑如何利用ICMP协议对一个网络上的时延性能进行监控?
ICMP时间戳请求和应答消息都包含发起、接收和传送时间戳。 产生ICMP时间戳请求的主机可以使用这三个时间戳估算远程主机的本地时间。往返时间的值是接收时间值减发起时间值。

6. TCP如何考虑数据传输连接的建立和拆除?
建立:
解释一下:SYN是synchronize的缩写,是同步的意思,ACK是Acknowledgment的缩写,是确认的意思,大写的SYN和ACK都是控制信号。seq是sequence的缩写,是序列的意思
答:【面试重点题】TCP连接建立:三次握手 (1) 客户端发出连接请求。由客户端向服务器端发出连接请求,将段的序列号标为x,SYN置1,由于这是双方建立连接过程中发送的第一个包,所以ack(确认字符)无效(ACK=0)。 (2) 服务器端确认连接请求。服务器端接收到客户端的请求后,首先让SYN置1表示同步成功,让ACK置为1表示有效,然后读出序列号seq=x,随即回复序列号为y的包(seq=y),确认号ack=x+1 (3) 客户端对服务器端的连接确认再次做确认。客户端接收到服务器端的连接确认后,对该确认再次作确认,让ACK置1表示有效,客户端收到确认号ack=x+1,序列号seq=z后,发送序列号seq=x+1,确认号ack=y+1的段对连接进行确认。 (4) 服务器端接收到报文后,连接建立。(规律:可以发现确认号ack就是在前面的序列号seq的基础上+1,在前2次握手中会有SYN同步信号,在后2次握手中会有ACK确认号)

拆除:
解释一下:FIN是finish的缩写,代表结束的信号。
TCP连接拆除:四次挥手 (1) 第1次挥手:Host A要求终止连接,先让控制信号FIN置为1表示有效,发送一个序列号seq=u的段,同时确认此前刚收到的最后一段数据。第2次挥手:Host B收到Host A发送的段后,置ACK为1表示有效,发送序列号seq=v,回复确认号ack=u+1,同意关闭连接。此时处于半关闭状态。 (2)第3次挥手:Host B将FIN置为1,表示结束有效,ACK置位1表示确认有效,发送序列号为w的段(seq=w),ack的值仍旧是u+1,这一步的目的是确保客户端也接收到了关闭的请求 (4)Host A收到Host B发送的段后,seq是u+1,发送ack=w+1的确认号,同时关闭连接。(规律:后三次挥手都有ACK确认信号,请求关闭的第1、3次挥手都有FIN结束信号,第2、3次确认号ack的值相同=第4次seq序列号的值)



7. TCP如何考虑流量控制和拥塞控制?
TCP使用滑动窗口机制来进行流量控制。 (1)当一个连接建立时,连接的每一端分配一个缓冲区来保存输入的数据。 (2)当数据到达时,接收方发送确认ACK,并包含一个窗口通告(剩余的缓冲区空间的数量叫窗口)。 (3)如果发送方收到一个零窗口通告,将停止发送,直到收到一个正的窗口通告。 (4)使用了窗口机制以后,提高了网络的吞吐量。
TCP拥塞控制四个主要过程。 (1)慢启动阶段:发送方将初始拥塞窗口设置为一个较小的值,每当收到一个确认报文段,拥塞窗口大小就会加倍。 (2)拥塞避免阶段:发送方继续以一定的速率增加拥塞窗口的大小,但增长速率会变慢。避免因发送速率过快导致网络拥塞。 (3)快速重传:接收方检测到报文丢失,会发送一个重复确认信号给发送方,报告有报文缺失,然后发送方立即重传。 (4)快速恢复阶段:当发送方连续收到多个重复确认,说明有一些报文段已经丢失或者出现了网络拥塞,因为当拥塞发生时,发送的数据报会被丢弃,这时会执行快速恢复算法,将拥塞窗口减半,设置拥塞阈值为当前窗口一半,然后发送方继续以拥塞避免算法增加窗口大小。
七、第七周:
1.为什么客户发出的控制连接是主动打开,但发出的数据连接是被动打开?
答:因为FTP是client-server模式。 (1)用户运行本地FTP应用程序成为一个客户,调用socket和connect,用TCP与一个远程计算机上的FTP服务器建立控制连接,此时用户是客户端。 (2)传输数据时,由服务器为每个文件传输建立一个单独的数据连接,用于发送文件。而客户端调用socket绑定(bind()方式)调用进行监听。此时用户是服务器。
八、第八周:
2. Into what two conceptual pieces is a modern packet switch divided? (一个现代的分组交换机分为哪两个概念部分?)
答:① 连接本地计算机的两层交换机。② 连接其他站点的路由器。
(ps:2层交换机是一种网络设备,也称以太网交换机,是在数据链路层工作,根据目标MAC地址将数据帧转发给对应端口,在同一个网络下可以连接对个计算机、服务器、打印机等设备)
3. If a WAN connects N sites, what is the minimum number of digital circuits needed? What is the maximum number that can be present? (如果一个WAN连接N个站点,至少需要多少条数字电路?最多可以使用多少条?)
答:数字线路的最小数量和最大数量都需要根据网络拓扑和连接要求来确定。 至少N-1条(树形网络);最多N(N-1)/2条(全互连网络)
4.以最少跳数作为最短路径,给出下面图形中所有交换设备的路由表。


(解析:R1、R2...分别代表交换机,目标结点“1”代表去往1号交换机,“-”代表下一跳为当前网络,目标结点“*”代表省略,如对R1来说去往交换机3、4、5都是(1,3)因此为了简化就这样写)
九、第九周:
1.通过图示RIP协议对距离-向量算法的增强过程。
(1) 相同开销路径的处理。 问题:图中,路由器R3、R4对H1的广播都会包含(网络1, 距离=2)的信息,除非被新的更短路径取代或者路径出现异常断路。H1会接收到两个相同的路由向量信息。 解决策略:采取先入为主策略,先到的路由信息直接计算存储到路由表中。如果收到的新路由距离信息和路由表中已有的路由距离信息相等,则直接抛弃,不进行更新路由表操作。

(2) 过时路径的处理。 问题:如果H1中存储去往N1的路由信息为(网络1,距离=2),在P1出现断路的情况下,需要对出错的路由情况进行标记,进行路由的更新。 解决策略:对应每个路由信息设定时钟,用来标记当前路由信息从被更新到目前经历的时间。如果时钟收到当前路由信息的广播信息,则时钟清零。如果时钟一段时间没有收到当前路由信息的广播信息,则删除当前路由条目,等待新的路径广播信息。

2.简述RIP/OSPF/BGP协议的原理及其应用。

(1) RIP ① 原理:采用广播或多播方式传送路径信息;支持缺省路由广播,路由器可以对特定外部路由设备指定缺省路由;基于无连接数据报协议(UDP)完成路由信息的发送和接收,速度优先。 ② 应用:RIP协议是最简单的一种动态路由协议。RIP作为一个系统长驻进程而存在于路由器中,负责从网络系统的其他路由器接收路由信息,从而对本地IP层路由表作动态的维护,保证IP层发送报文时选择正确的路由。同时负责广播本路由器的路由信息,通知相邻路由器作相应的修改。

(2) OSPF ① 原理: OSPF协议应用于一个自治系统内部 。 支持完整的CIDR的地址表示方法和子网结构,允许地址按照类别或子网两种方式进行目的端路由信息表示 。 采用链路-状态算法进行路由更新,路由传送的信息数据较少,每一台路由设备都需要进行整个自治系统内部的路由状况计算。 对信息做认证处理,确保收到的信息来自确定的合法数据源,增加了安全控制 。 实现了路由翻译过程,能够实现对BGP4等协议进行OSPF的转化,从而可以从其它协议中进行路由学习 。
实现了分层路由能力:提出域(AREA)的概念,一个域可以作为一个自治系统中从地理上或逻辑上进行划分的一个子集。域内部可以采取OSPF或RIP协议,不同域之间采用OSPF协议完成路由。 ② 应用:与RIP相比,OSPF支持在AS中分区域的路由。它支持更大规模的AS路由。
(3) BGP ① 原理: 自治系统之间的路由协议。采取距离-向量路由算法。提供可靠传输,保证路由信息的准确和完整。负责BGP路由的设备可以动态请求另一自治系统中的路由设备作为自己的外部邻机设备,以便互换路径信息。负责BGP路由的设备不断测试邻机设备状态, 以互换路径信息 ② 应用:BGP是当前全球网络中最重要的EGP。
十一、第十一周:
1. Client-Server模式的产生原因及其功能。
(1)产生原因:互联网系统提供基础的通信服务,但协议软件并不能启动与一台远程计算机的通信,也不能接受一台远程计算机的通信。通信中必须有两个应用程序参加:一个主动地启动通信,另一个被动等待、接受通信。主动的为客户端,被动的为服务器。
(2)功能: ①Client:在用户的pc上本地运行,不需要特殊的硬件,当需要远程连接时主动发起,由用户启动,并且只执行一次对话,可以处理多个服务,但一次只能连接一个远程服务器。 ②Server:在共享计算机上运行,需要强大的硬件支持,系统启动时启动,被动响应远程客户端的请求,可以同时处理多个对话,接受多个客户端的请求,但只能提供一种服务.。

2. Socket接口及其在Client-Server模式中的执行模式。
(1)服务器会创建一个ServerSocket对象。调用bind()方法将一个Socket对象绑定到一个特定的IP地址和端口号上,目的是用来指定监听的IP地址和端口号。然后调用listen()方法用于监听客户端的连接请求。
(2)客户端也会创建一个Socket对象。调用connect()方法指定服务器的IP地址和端口号,用于发起与服务器连接的请求。
(3)服务器当接收到客户端的请求会调用accept()方法,用于接收客户端的连接请求,需要注意的是服务器端的accept()方法会返回一个新的Socket对象,客户端就与这个新的Socket对象通信。
(4)然后服务器和客户端就可以进行通信,Send()是发送数据的输出流,recv是接收数据的输入流。一方发送数据,一方接收数据,循环往复。
(5)最后当数据交互完毕后,调用close()方法断开Socket连接,过程结束。
十二、第十二周:
1. 若已经建立了一条TCP连接,为什么要传送邮件时还要建立一条TCP连接。
因为传送邮件时客户端建立了一个TCP连接到服务器的25号端口请求服务,这个时候服务器如果想让25号端口能继续监听其它客户端的连接请求,就必须要指定一个新的临时端口与客户端进行交互,所以需要再建立一条新的TCP连接。

2. 在SMTP中,若在两个用户间只发送1行的报文,则要交换的命令和响应共有多少行。
Server:220 Service Ready //220服务器准备就绪
Client:HELO example.com //HELO客户端标明自己身份
Server:250 OK
Client:MAIL FROM:<Liqi@foobar.com> //MAIL 本地的邮箱地址
Server:250 OK
Client:RCPT TO:<Liqi2@example. com> //RCPT 目的地的邮箱地址
Server:250 OK
Client:DATA //DATA 告诉服务器:接下来我将发送数据
Server:354 Start mail input; end with <CR><LF> //服务器说明要求
Client: Hello World! //客户端发送数据
Client:<CR><LF> //这段字符代表数据结束
Server:250 OK
Client: Quit //Quit表示结束会话
Server:221 Service closing //221是服务关闭
答:交换的命令和响应共有14行。

12.3 一个发信人要发送一个JPEG报文,试给出MIME首部。
MIME-Version:1.0 //版本
Content-Type:Image/JPEG //内容类型
Content-Transfer-Encoding:base64 //编码格式
12.4 请你的同学配合,在不同地方ping一些门户网站的主机(如www.163.com),查看其 DNS是否指向同一个IP地址,这样做有何好处?(是不是意味着访问不同的内容?)
不同。因为这是DNS轮询的结果。当DNS服务器解析请求时,会按照用户请求的顺序,将这些请求逐一分配到不同的IP上,给不同的服务器处理,避免因单个服务器的负载过大而导致奔溃,实现了负载均衡的功能和高可用性。
十三、第十三周:
1. HTTP的GET方法与POST方法有何区别?
(1) 可见性:Get方式通过URL提交数据,数据附在URL末尾,是可见的;Post方式,数据是防止在请求体中提交,提交时不可见。
(2) 安全性问题。使用 Get方式的时候,数据能被缓存,能保留在浏览器历史记录中,而 Post不会。所以,如果输入的是密码或其它敏感信息时,使用Post更为安全,如果只是发出请求可以用Get方式,而且Get速度更快。
(3) 数据的长度限制:Get方式提交的数据不能多于2048字节(因为URL通常不多于2048字节),而Post没有限制,所以Get方法不适合传输大批量数据。
(4) 数据的类型:Get方式只允许ASCII字符,而Post方式没有限制。
(5) 幂等性:Get方法是幂等的,即多次请求同一个URL返回的结果是一致的,不会对服务器产生副作用。Post方法不是幂等的,多次请求可能会对服务器产生不同的影响。

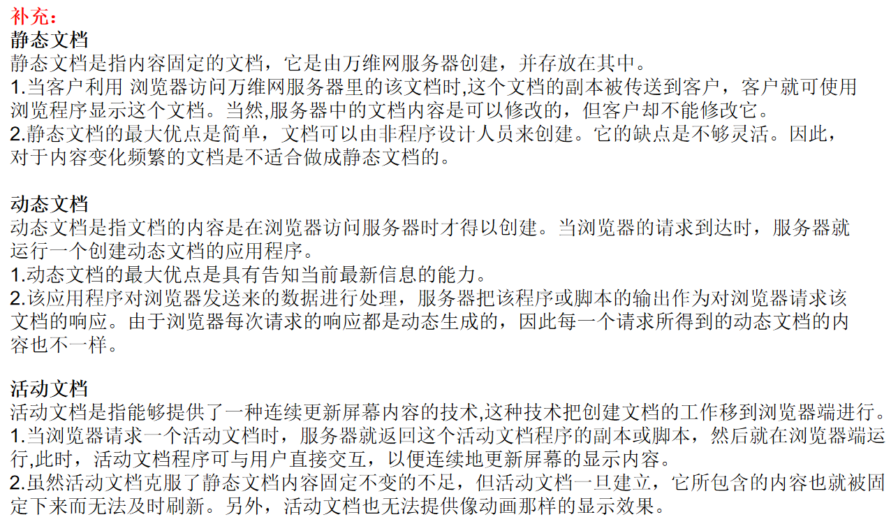
2. 静态文档、动态文档与活动文档有何区别
(1)创建方式不同:静态文档是指内容固定的文档,它是由万维网服务器创建,并存放在其中。动态文档是指文档的内容是在浏览器访问服务器时才得以创建。活动文档是指能够提供了一种连续更新屏幕内容的技术,这种技术把创建文档的工作移到浏览器端进行。
(2)生成方式不同:静态文档的内容是提前编写到文档里的,浏览器每次访问时,里面的内容都不改变。动态文档是通过服务器上运行自己编写的应用程序动态的产生的,文档里的内容是每次访问一更新的。当浏览器请求一个活动文档时,服务器就返回这个活动文档程序的副本或脚本,然后就在浏览器端运行。
(3)内容变化不同:静态文档每次访问时里面的内容都不改变。动态文档每次访问时里面的内容也不一样。活动文档克服了静态文档内容固定不变的不足,但活动文档一旦建立,它所包含的内容也就被固定下来而无法及时刷新。
(4)对创建者要求不同:静态文档的最大优点是简单,文档可以由非程序设计人员来创建。动态文档的创建难度比静态文档要高,因为开发人员必须具有一定的编程能力,编写出用于生成动态文档的应用程序。活动文档程序可与用户直接交互,以便连续地更新屏幕的显示内容。

一、第一周:
7.2 What are the three energy types used when classifying physical media according to energy used? ( 7.2 当依据所有能量类型划分物理介质类别时,是指哪三种能量类型?)
答:1、电气能量 2、光 3、无线电波
7.3 What happens when noise encounters a metal object? ( 7.3 当噪声遇到金属物体时会发生什么现象?)
答:当噪声碰到金属的时候,会感应产生微弱信号,随机噪声会干扰通信信号。
7.4 What three types of wiring are used to reduce interference form noise? ( 7.4 请说出用于降低噪声干扰的三种导线类型。)
答:1、无屏蔽双绞线 2、同轴电缆 3、屏蔽双绞线
1. 什么是 RS-232? RS-232 有什么特点?
答:RS-232 是用于计算机与调制解调器、 键盘或终端之类设备之间传输字符的串行接口的一种标准。 它具有的特点:串行,异步,适用于短距离通信(课本原文) 1、RS-232 的电气特性为:-3V~-15V 代表逻辑 1;+3V~+15V 代表逻辑 0; 2、对数据按照位进行序列化发送和接收(串行); 3、发送方和接收方不需要进行同步操作(异步); 4、数据值仅有 0 和 1 两种形式,不出现“空”状态; 5、7 位作为一个发送单元; 6、对应每个数据单元,增加一个“0”作为开始位,“1”作为结束位; 7、接收方接收到有效数据开始位后,严格按照时间片顺序完成数据接收,直到接收完结束位为止;
9.2 What are the advantages of parallel transmission? What is the chief disadvantage? ( 9.2 并行传输的优点是什么?主要缺点是什么?)
答:并行传输的优点: 1、高吞吐量,比串行传输一次可以多传输N个比特的数据 2、与底层硬件相匹配 主要缺点: 1、超高传输速率下,并行导线会出现电磁噪声,干扰其他导线上的信号 2、并行传输严格要求各并行的导线长度恰好一致。几毫米的误差都能导致问题。 3、需要更多的导线,中间电子元件也更贵,成本高。
9.3 When transmitting a 32-bit 2’s complement integer in big-endian order, when is the sign bit transmitted? ( 9.3 以正序传输 32 位的二进制补码整数时,何时发送符号位?)
答:以太网技术规定。字节按正序传输(ps:从左到右),码元按逆序传输(ps:从右到左)。依据字节按正序传输,比特按逆序传输,在第八位时发送符号位。
(ps:假如要传输一个形式数据:0x12345678,根据计组的知识:最左侧是高位字节,最右侧是低位字节。在计算机中,低地址位于左侧,高地址位于右侧,因为这种表示方式与人们阅读习惯相一致,数据发送也是从低地址发送高地址。字节序是大端序,高位字节放在低地址(低地址的数据先发送,所以数据的高位先发送),所以计算机最先收到12,这也是从左到右(以人类阅读数据习惯的方向)的由来。码元序是小端序,低位字节放在低地址(低地址的数据先发送),计算机最先收到78(重申数据的最右侧为低位字节哦!),所以是从右到左。)
(解析:注意符号位是一个位,而不是一个字节。根据计算机组成原理的知识:符号位是在形式数据的最高位,也就是最左边。根据以太网技术,码元是小端序传输,数据的最高位存放在计算机的高地址处,而计算机的高地址是在最右边哦,因此答案是第八位。)
【看懂的点个赞呀!整理不易】
9.6 What is a start bit, and with which type of serial transmission is a start bit used? ( 9.6 开始位是什么?其用于哪种类型的串行传输?)
答: 在发送一个字符的比特之前先发送一个额外的0位,以让接收器知道新的字符从哪里开始,即开始位。开始位用在RS-232异步串行传输。
9.10 Use the Web to find the definition of the DCE and DTE pinouts used on a DB-25 connector. Hint: pins 2 and 3 are transmit or receive. On a DCE type connector, does pin2 transmit or receive? ( 9.10 请上网查找 DB-25 连接器中使用的 DCE 和 DTE 引脚的定义。提示:引脚 2 和引脚 3 用于发送和接收。在 DCE 型连接器中,引脚 2 是用于发送还是接收?)
答: DCE:数据通信设备 DTE:数据终端设备 在DCE型连接器中,引脚2用于发送
(解析:终端设备是像计算机之类的,引脚1用于接收来自终端设备的信号,引脚2用于发送数据到终端设备)
二、第二周:
1. 什么是调制与解调?调制与解调有哪些基本方法?
答:调制:是用基带信号控制载波信号的某个或几个参量的变化,将信息荷载在其上形成已调信号,从而适宜在信道中传输。 解调:是在接收端将已调信号恢复成原始基带信号的过程。 调制技术:调幅、调频、调相。 解调技术:解调幅、解调频、解相位移动调试。
2. 载波复用技术有哪几种?各有什么特点?
答: 1、频分多路复用,特点是把电路或空间的频带资源分为多个频段,并将其分配给多个用户,每个用户终端的数据通过分配给它的子通路传输。主要用于电话和电缆电视系统。 2、时分多路复用,特点是按传输的时间进行分割,将不同信号在不同时间内传送。又包含两种方式:同步时分复用和异步时分复用。 3、波分多路复用,特点是对于光的频分复用。做到用一根光纤来同时传输与多个频率很接近的光波信号。 4、码分多路复用,特点是每个用户可在同一时间使用同样的频带进行通信,是一种共享信道的方法。通信各方面之间不会相互干扰,且抗干扰能力强。
10.1 List the three basic types of analog modulation. 10.1列出模拟调制的三种基本类型。
答:振幅调制、频率调制、移相调制。
10.2 When using amplitude modulation, does it make sense for a 1 Hz carrier to be modulated by a 2 Hz sine wave? Why or why not? (10.2. 当采用调幅时,用2Hz的正弦波去调制1Hz的载波是否有意义?为什么?)
答:(解析:Hz是频率,调幅是幅度,二者无关)无意义。调幅是看正弦波对未调制载波幅度的修改,跟频率无关。(补充:载波频率高低就好像马路的宽度,信号调制速率就好像汽车的宽度。当使用振幅调制时,载波的幅度才能用来传递信息,与频率无关,无意义。当使用频率调制时,调制波的频率需要远大于载波频率。对于AM,载波的振幅按照所需传送信号的变化规律而变化,但频率是保持不变的。)
10.7 Figure 10.9 shows a full-duplex configuration with four wires, two of which are used to transmit in each direction. Argue that it should be possible to use three wires instead. (10.7图10.9表示的4根导线实现全双工配置的方案,每两根用于一个方向的传输。请讨论一下是否有可能改为使用3根导线来实现。
答:可以。一根发送线,一根接收线,还有一根必须的信号地线。三根线就能实现全双工通信。
(补充:信号地线可以提供电磁干扰的屏蔽、提供共同的参考点,并保护设备免受静电损害)

被折叠的 条评论
为什么被折叠?



