计算机毕设Java基于Java的健身房管理系统系统 基于Java技术的健身中心信息化管理系统开发 Java驱动的健身房综合管理平台设计与实现

计算机毕设Java基于Java的健身房管理系统系统m38e09 (配套有源码 程序 mysql数据库 论文)
本套源码可以在文本联xi,先看具体系统功能演示视频领取,可分享源码参考。

随着互联网技术的飞速发展和人们对健康生活方式的追求,健身房已经成为城市生活中不可或缺的一部分。然而,传统的健身房管理模式往往存在效率低下、信息管理混乱等问题。为了提升健身房的运营效率和用户体验,开发一个基于Java的健身房管理系统显得尤为重要。本文将详细介绍这样一个系统的开发背景、核心功能及其价值。

在数字化时代,健身房的管理也需要与时俱进。传统的管理模式不仅耗时耗力,还容易出现信息不对称和管理漏洞。基于Java的健身房管理系统应运而生,它利用先进的信息技术,实现了健身房管理的自动化和信息化。通过这个系统,健身房可以更高效地管理会员信息、教练资源、课程安排、设备维护等,同时为会员提供更加便捷的服务体验。

该健身房管理系统涵盖了多个关键功能模块,以满足不同用户的需求。系统的主要功能包括:

  • 用户管理:支持管理员对会员和教练的账户进行创建、修改和删除操作。

  • 会员信息管理:允许管理员查看和更新会员的个人信息,如姓名、性别、联系方式等。

  • 教练信息管理:管理员可以管理教练的详细信息,包括工号、姓名、性别、照片和联系方式。

  • 课程管理:系统支持对私教课程的全面管理,包括课程名称、分类、价格、教练信息等。

  • 商品管理:管理员可以添加、修改和删除商品信息,涵盖商品名称、分类、图片、规格、品牌、价格和库存数量。

  • 订单管理:系统能够处理会员购买商品和课程的订单,包括订单详情、支付状态和订单备注。

  • 器材管理:管理员可以管理健身器材的信息,如器材名称、分类、数量和用途。

  • 充值管理:支持会员账户的充值操作,记录充值金额和时间。

  • 公告管理:管理员可以发布和管理公告信息,向会员传达重要通知。

  • 个人中心:会员可以在个人中心查看和更新自己的信息,管理收藏和订单。

该基于Java的健身房管理系统通过集成多种功能模块,实现了健身房管理的全面自动化和信息化。它不仅提高了健身房的运营效率,还为会员提供了更加便捷和个性化的服务体验。通过用户管理、会员信息管理、教练信息管理、课程管理、商品管理、订单管理、器材管理、充值管理和公告管理等功能,系统为健身房的日常运营提供了强大的支持。同时,个人中心功能让会员能够更好地管理自己的账户和活动,增强了用户粘性。这种综合管理系统无疑将成为现代健身房不可或缺的工具,推动健身行业向更加智能化和高效化的方向发展。

注:以上是纯课题毕业设计功能介绍,并非实际开发完成,最终开发完成的毕业设计程序以下面的的环境软件、功能图和界面为准。

系统所需要的环境软件:idea、eclipse+mysql5.7、8.0+Navicat+JDK1.8+tomcat7.0

3.1可行性研究

通过对系统研究目标及内容的分析审察后,提出可行性方案,并对其进行论述。主要从技术可行性出发,再进一步分析经济可行性和环境运行可行性分析、法律可行性分析等方面[8]

3.1.1技术可行性分析

技术可行性分析基于现在web水平、软硬件水平能否开发出健身房管理系统,经过对市面常见健身房管理系统了解研究对比,以及此次健身房管理系统的估测,预计在技术方面开发本健身房管理系统是可行的。第一,JAVA语言发展成熟且市面十分流行,由JAVA完成本健身房管理系统的开发、调试,结合市面成熟的集成开发软件辅助开发,且本电脑配置win10系统,足够满足本次健身房管理系统开发。第二,验证技术发展迅速,使得本健身房管理系统安全性很高。综上所诉,开发本健身房管理系统完全可行[9]

3.1.2 经济可行性分析

经济可行性分析,就是分析在现有经济情况下能否完成本健身房管理系统的开发。下面对本系统开发、运行、维护的相关费用评估,以及投入到社会完成健身房管理可能费用进行估算。网络资源丰富,本健身房管理系统只需使用任选一开源服务器即可,此方面无需投入费用。开发阶段,由于本健身房管理系统不属于大型系统,常规的电脑就可完成开发,不用购置相关硬件设备。软件方面,本健身房管理系统只需使用网上免费下载的软件即可完成开发,这些软件在使用时简单易懂,无需培训,因此此方面也无需投入费用。由于本健身房管理系统不属于大型系统,运行时候电费可以忽略不记。健身房管理系统作为自己毕设,由本人开发即可完成,无需人力费用。综上,整个系统开发花费很少,所以本健身房管理系统在经济上可行[10]

3.1.3 环境运行可行性分析

软件在能否在客户端使用并发挥效益的制约关键就是运行环境。计算机普及,现在人们接触各类系统频繁,日常生活使用计算机无障碍。并且该健身房管理系统页面简单,通过显示页面引导即可完成本健身房管理系统删除、增加、修改等功能。对计算机要求低,门槛低,通过常用浏览器即可使用本健身房管理系统。因此在运行环境方面,本健身房管理系统易于接受,是可行的[11]

3.1.4 法律可行性分析

法律可行性分析,即分析本健身房管理系统是否与各类法律相悖。本健身房管理系统使用市面开源免费软件开发,且作为个人毕设,无商用,均为本人自主开发,并且页面设计合理,发布的信息要求符合常规。整个系统无抵触法律法规的问题。因此在法律上,本健身房管理系统可行[12]

3.2系统用例图

用例图,即以用户视角来描述本健身房管理系统的功能,前面已经分析了本健身房管理系统的总体设计,讨论了各个方面的需求。下面,将以管理员、会员和教练为例

管理员的用例图,如图3-1所示。

         

  

                           3-1管理员用例图

会员的用例图,如图3-2所示。

            

  

                        3-2 会员用例图

教练的用例图,如图3-3所示。

            

  

                        3-3教练用例图

3.3系统流程设计

3.3.1 系统开发流程

健身房管理系统的设计和开发,首先要对用户的实际使用需求和具体情况进行细致的分析,分析出系统要完成的全部功能,然后再针对整个系统的工作流程和功能进行设计,力求每个模块都能够达到用户的要求,最后通过测试来解决问题,保证系统的稳定和正常的运转,本系统的开发流程如图3-4所示。

3-4系统开发流程图

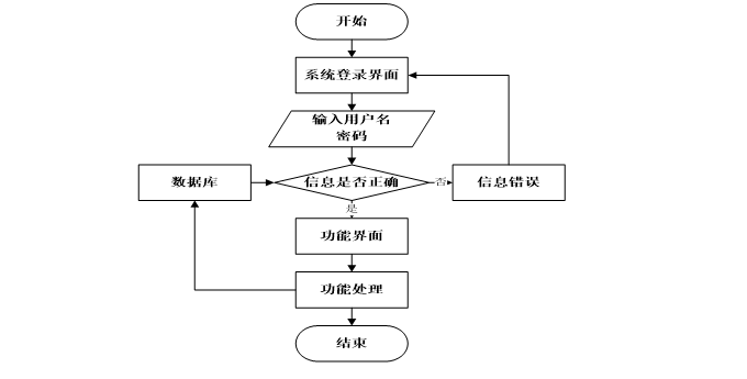
3.3.2 用户登录流程

登录流程实现了管理员和其他用户的登录,在登录页面需要用户填写自己的信息,前端页面会将信息传递给后端接口,然后查询数据库确定该身份有效后登录成功否则此用户登录失败,需要重新填写信息,进行再次验证,如图3-5所示。

3-5登录流程图

3.3.3 系统操作流程

系统操作流程分析是软件开发过程中的一个关键环节,它是整个系统整体的运行过程,必须保证其中的每一个步骤都是确定的,这样一个规范的流程图可以使开发者易于理解,快速的投入到接口开发中,从而提升系统开发效率。

同时,流程图还能减少开发者对系统操作流程产生歧义和降低沟通的成本,系统操作流程如图3-6所示。

3-6系统操作流程图

3.3.4 新增信息流程

系统的正常运行离不开数据的支撑,因此,在本系统中新增了数据插入功能数据库中数据的缺失,会直接影响到数据的查询结果,查询结果错误又会导致逻辑处理出现偏差,最终导致系统性错误或故障,所以在对系统进行数据新增操作时,必须要对数据进行合法性校验,确定此条数据是否有惟一的主关键字和字段是否允许为空等等,若数据库表中不允许某字段为空,而程序没有进行该字段非空逻辑校验,那么就会出现数据存储失败,可能因此造成严重系统后果。新增信息流程如图3-7所示。

3-7新增信息流程图

3.3.5 修改信息流程

因为使系统的使用者是人,所以难免会有疏忽,从而造成系统输入的信息有误。或者由于其他原因导致数据发生改变,使得必须对系统内的数据进行相应的调整,所以在程序运行中,数据的修改操作是不可缺少的重要环节。

在进行数据更新时,必须要有一个惟一的主关键字,以便数据库能够查询到相应的数据;另外,还必须遵守数据插入过程的操作规范,以确保数据的正确性。修改信息流程图如图3-8所示。

3-8修改信息流程图

3.3.6 删除信息流程

删除操作在系统中并非是必须的,可根据用户及系统的需要来决定是否新增删除功能,删除操作就是使用delete语句将数据库中的某一匹配数据删除,因为此操作会导致用户数据丢失,所以为了避免使用者误按删除键,应在用户点击删除按钮时新增一个提示确认弹窗,当用户确定要删除时,再进行数据库的操作,并且在删除操作完成后要对用户进行反馈。删除信息流程图如图3-9所示。

3-9 删除信息流程图

4系统设计

4.1系统功能结构图

系统功能结构图是系统设计阶段,系统功能结构图只是这个阶段一个基础,整个系统的架构决定了系统的整体模式,是系统的根据。健身房管理系统的整个设计结构如图4-1所示。

4-1系统功能结构图

4.2系统数据库设计

对于健身房管理系统而言,数据库中最核心的数据就是信息,并且有许多其他关联数据都储存于数据库中。随着时间推移,将发布大量信息于本系统中,届时数据库中也将蕴藏海量数据。一个优秀的数据库设计方案能在保证系统能够高效处理大量数据的同时保证系统的安全性。因此,在本健身房管理系统设计方案中将数据库的设计摆在重要位置,将数据库设计视为系统设计的重要内容。

4.2.1数据库E-R图

E-R图,是通过用户的想法将一些数据形成一种关系结构,这种关系结构也可视为一种概念模型,而数据库的数据处理可以通过概念模型表现直观反映出来。由于E-R图是从用户的角度设立的模型,因此系统E-R图具有很强的实践意义。

教练信息实体图如图4-2所示:

图4-2教练信息实体图

会员信息实体图如图4-3所示:

图4-3会员信息实体图

商品信息实体图如图4-4所示:

 图4-4商品信息实体图

会员购买实体图如图4-5所示:

图4-5会员购买实体图

5.1注册登录界面

用户需要输入正确的用户名和密码后才可以登录系统并正常使用。如果是第一次使用的新用户,应当先进行账户的注册。注册和登录的界面应当设置便捷的跳转按钮。当用户输入的信息不正确时应当进行相应的提示。如登录时输入的账户有误,应当提示用户该账户不存在。同样的,操作时应该提供积极的反馈,避免用户重复操作。如新用户注册账户时,如果注册成功应该提示“注册成功”的消息栏。

当用户成功登录后,应该进入到系统的导航界面。

登陆界面利用表单输入,点击登录按钮会将表单通过相关接口提交给后台后台验证通过会返回用户的对应Token信息,将Token信息存储到浏览器Session Stroge中,保证浏览器可以判断用户是否未登录状态。反之,如果该用户不存在,后台会返回对应的提示信息。

注册界面由用户名,密码组成,填写完整后通过相关接口提交,后台会将该用户信息存入Mysql数据库中,建立相关的表结构,返回注册成功code。

5.2前台首页功能模块

游客打开系统的网址后,首先看到的就是首页界面在这里游客能够看到健身房管理系统导航条显示首页、商品信息、健身器材、私教课程、公告信息、后台管理、个人中心等。系统首页界面如图5-1所示

图5-1 系统首页界面

这是一个会员注册的界面,当会员没有账户时可以通过注册来登录系统,只需要根据相应的提示,输入用户名、密码、确认密码、姓名、性别、头像、金额等信息即可。会员注册界面图5-2所示

图5-2 会员注册界面

这是会员登录界面,会员在登录页面填写账号或者密码,点击登录,图5-3所示:

图5-3会员登录页面

会员点击商品信息页面搜索栏输入商品名称、商品类型进行查询,然后可以查看商品名称、商品分类、商品图片、商品规格、商品品牌、商品价格、商品数量等信息,如果有需要可以进行商品购买或收藏等操作,图5-4所示:

图5-4商品信息页面

会员点击私教课程页面搜索栏输入课程名称、课程分类、教练姓名进行查询,然后可以查看课程名称、课程分类、课程图片、课程价格、教练工号、教练姓名等信息,如果有需要可以进行购买课程或收藏等操作,图5-5所示:

图5-5私教课程页面

在个人中心页面可以输入个人详细信息进行信息更新操作还可对我的收藏进行操作5-6所示

   5-6个人中心界面

5.3管理员功能模块

管理员登录,在登录页面选择需要登录的角色,在正确输入用户名和密码后,选择角色点击登录操作;如图5-7所示。                               

图5-7 管理员登录界面

管理员进入系统主页面,主要功能包括对系统首页、个人中心、教练管理、会员管理、会员类型、商品分类管理、商品信息管理、健身器材管理、会员充值管理、会员购买管理、私教课程管理、课程订单管理、物品信息管理、物品归还管理、商品订单管理、系统管理等进行操作。管理员主页面如图5-8所示

图5-8管理员主界面

管理员点击教练管理:在教练管理页面,可以对教练工号、教练姓名、性别、照片、联系方式等信息,进行查询或者新增、删除教练信息等操作,如图5-9所示:

5-9教练管理界面

管理员点击会员管理:在会员管理页面,可以对用户名、姓名、性别、头像、金额等信息,进行查询或者新增、删除会员信息等操作,如图5-10所示:

5-10会员管理界面

管理员点击商品信息管理:在商品信息管理页面,可以对商品名称、商品分类、商品图片、商品规格、商品品牌、商品价格、商品数量等信息,进行查询、新增或者删除商品信息等操作,如图5-11所示:

5-11商品信息管理界面

管理员点击健身器材管理:在健身器材管理页面,可以对器材名称、器材图片、器材分类、器材数量等信息,进行查询、新增或者删除健身器材等操作,如图5-12所示:

5-12健身器材管理界面

管理员点击会员购买管理:在会员购买管理页面,可以对用户名、会员卡号、会员类型、会员价格、下单日期、到期日期、是否支付等信息,进行查询或者删除会员购买等操作,如图5-13所示:

5-13会员购买管理界面

管理员点私教课程管理:在私教课程管理页面,可以对课程名称、课程分类、课程图片、课程价格、教练工号、教练姓名等信息,进行查询、新增或者删除私教课程等操作,如图5-14所示:

5-14私教课程管理界面

5.4会员功能模块

会员登录,在登录页面选择需要登录的角色,在正确输入用户名和密码后,点击登录操作;如图5-15所示。                               

图5-15会员登录界面

源码无偿分享,文未领取

评论
添加红包

请填写红包祝福语或标题

红包个数最小为10个

红包金额最低5元

当前余额3.43前往充值 >
需支付:10.00
成就一亿技术人!
领取后你会自动成为博主和红包主的粉丝 规则
hope_wisdom
发出的红包
实付
使用余额支付
点击重新获取
扫码支付
钱包余额 0

抵扣说明:

1.余额是钱包充值的虚拟货币,按照1:1的比例进行支付金额的抵扣。
2.余额无法直接购买下载,可以购买VIP、付费专栏及课程。

余额充值