计算机毕业设计springboot基于Web的毕业设计选题系统739w79 (配套有源码 程序 mysql数据库 论文)
本套源码可以在文本联xi,先看具体系统功能演示视频领取,可分享源码参考。
每到选题季,高校里总会出现“抢题大战”:学生刷爆教务网、教师追着签字、教务员手动排重,Excel 与纸质单齐飞。把这套流程搬到浏览器里,让数据多跑路、师生少跑腿,成为校园数字化里“虽小却痛”的刚需。于是就有了这套轻量级 Web 应用——用 SpringBoot 做脊梁、Vue 做脸面、MySQL 做仓库,B/S 架构下把课题、任务书、论文、成绩、留言五大核心要素串成一条线,点开链接就能完成“选题→开题→写作→评阅→归档”全过程。
系统把复杂留给自己,把简单交给用户,落地功能一张图就能看全:
-
课题发布
-
学生选题(含志愿申请与自动查重)
-
下发任务书(含论文模板绑定)
-
指导意见在线留痕(支持多轮迭代)
-
论文稿次上传与版本比对
-
教师批复(支持批注、打分、退回)
-
论文成绩自动汇总与回显
-
校园公告滚动播报
-
在线留言(支持匿名、置顶、图片回复)
-
用户中心(头像、密码、联系方式一键维护)
-
后台管理(账号、角色、数据字典、日志审计)
-
可视化面板(选题热度、进度百分比、成绩分布)
一句话总结:让“抢题”变“选课”,让“跑腿”变“点击”,把毕业设计全流程浓缩成一个 URL,打开就毕业。
注:以上是纯课题毕业设计功能介绍,并非实际开发完成,最终开发完成的毕业设计程序以下面的的环境软件、功能图和界面为准。
系统所需要的环境软件:idea、eclipse+mysql5.7、8.0+Navicat+JDK1.8+tomcat7.0
3.1毕业设计选题系统的可行性分析
毕业设计选题在高校中都广泛存在,是教育平台不可或缺的一部分,对毕业设计选题系统的可行性分析基于当下的互联网背景,从经济、市场、技术、法律和用户使用上进行了调查,从此验证次系统开发的可行性[6]。下面分别从以下几点进行分析:
- 经济可行性分析:由于开发本系统主要是为了测试自身的专业和设计能力,基本不考虑经济效益和后来的发展方向,只注重自身水平和设计能力的提高,并且对自身经济的要求也不高,只要有一台普通电脑就可以了,所以不需要考虑经济问题[7]。
- 市场可行性分析:毕业设计选题系统作为非盈利性的系统,其职能在方便人民群众。图书馆作为承载知识的载体,高校与社会都有不计其数的图书馆,而毕业设计选题系统需要平台的支撑,自然在市场上可行[8]。
- 技术可行性分析:对系统进行分析,毕业设计选题系统的大部分功能都需要管理员完成,springboot框架只需要添加少量代码就可以很好适配管理员功能。也可以提高HTML文件的复用率,提高效率。在数据库方面,ORM简化了表的创建和使用,采用了Oracle旗下开源的关系型数据管理系统MySQL,多表存储的特点使数据更加规范化,增删改查更容易。综上所述,技术开发上并无太大的难点。
- 用户使用可行性分析:鉴于系统的使用用户为高校学生,有统一的学号和一定的知识水平,且系统无需用户有过多的操作,界面清晰简洁,用户使用可行性上无问题[9]。
- 法律可行性分析:本应用的开发内容均在法律范围内得到支持,并已经通过备案。
3.2毕业设计选题系统的需求分析
需求分析在系统开发中有着十分重要的作用。软件项目凭借软件工程的思想和步骤可以大大的提高开发效率,缩短软件开发周期,保证了软件项目的质量。需求分析作为软件工程方法中的一步是至关重要的。软件需求工程是一门分析并记录软件需求的学科。需求分析简单的来说就是用户需要什么,系统需要什么,对此进行问题的列举,等级的排列,需要缜密的思分析和大量的调研[10]。
毕业设计选题系统在国内有很多值得借鉴的例子,功能也都趋于完善,因此此次毕业设计选题系统将轻量化开发,要完成以下功能:
(1)要支持完整的用户注册,登录功能,账号的管理通过管理员来实现。
(2)毕业设计选题系统的首页界面简单明了,功能让用户快速上手,一目了然,不需要教程也能直接使用。
(3)为了学生能够方便修改个人信息,查看课题发布、校园公告、在线留言功能等。
(4)教师通过后台系统来完成对学生的论文批复、论文成绩等,包括添加、修改或删除等操作。
(5)管理员通过后台系统来完成对所有信息的编辑,包括添加、删除等操作。
本课题要求实现一套基于Web的毕业设计选题系统,系统主要包括管理员和学生、教师功能模块。

图3-1管理员用例图
(2)教师用例图如下所示:

图3-2教师用例图
(3)学生用例图如下所示:

图3-3学生用例图
3.3系统流程设计
3.3.1 系统开发流程
毕业设计选题系统的设计和开发,首先要对用户的实际使用需求和具体情况进行细致的分析,分析出系统要完成的全部功能,然后再针对整个系统的工作流程和功能进行设计,力求每个模块都能够达到用户的要求,最后通过测试来解决问题,保证系统的稳定和正常的运转,本系统的开发流程如图3-4所示。

图3-4系统开发流程图
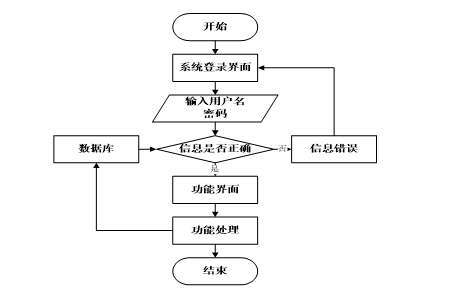
3.3.2 用户登录流程
登录流程实现了管理员和其他用户的登录,在登录页面需要用户填写自己的信息,前端页面会将信息传递给后端接口,然后查询数据库确定该身份有效后登录成功,否则此用户登录失败,需要重新填写信息,进行再次验证,如图3-5所示。

图3-5登录流程图
3.3.3 系统操作流程
系统操作流程分析是软件开发过程中的一个关键环节,它是整个系统整体的运行过程,必须保证其中的每一个步骤都是确定的,这样一个规范的流程图可以使开发者易于理解,快速的投入到接口开发中,从而提升系统开发效率。
同时,流程图还能减少开发者对系统操作流程产生歧义和降低沟通的成本,系统操作流程如图3-6所示。

图3-6系统操作流程图
3.3.4 添加信息流程
系统的正常运行离不开数据的支撑,因此,在本系统中添加了数据插入功能,数据库中数据的缺失,会直接影响到数据的查询结果,查询结果错误又会导致逻辑处理出现偏差,最终导致系统性错误或故障,所以在对系统进行数据添加操作时,必须要对数据进行合法性校验,确定此条数据是否有惟一的主关键字和字段是否允许为空等等,若数据库表中不允许某字段为空,而程序没有进行该字段非空逻辑校验,那么就会出现数据存储失败,可能因此造成严重系统后果。添加信息流程如图3-7所示。

图3-7添加信息流程图
3.3.5 修改信息流程
因为使系统的使用者是人,所以难免会有疏忽,从而造成系统输入的信息有误。或者由于其他原因导致数据发生改变,使得必须对系统内的数据进行相应的调整,所以在程序运行中,数据的修改操作是不可缺少的重要环节。
在进行数据更新时,必须要有一个惟一的主关键字,以便数据库能够查询到相应的数据;另外,还必须遵守数据插入过程的操作规范,以确保数据的正确性。修改信息流程图如图3-8所示。

图3-8修改信息流程图
3.3.6 删除信息流程
删除操作在系统中并非是必须的,可根据用户及系统的需要来决定是否添加删除功能,删除操作就是使用delete语句将数据库中的某一匹配数据删除,因为此操作会导致用户数据丢失,所以为了避免使用者误按删除键,应在用户点击删除按钮时添加一个提示确认弹窗,当用户确定要删除时,再进行数据库的操作,并且在删除操作完成后要对用户进行反馈。删除信息流程图如图3-9所示。

图3-9删除信息流程图
3.4小结
毕业设计选题系统旨在让用户能够轻松便捷的查询信息,让管理员的工作负担减轻。本章主要对毕业设计选题系统的经济、技术、用户使用、法律、市场可行性进行分析。确认可行后,对毕业设计选题系统进行了需求分析,从学生、教师和管理员角度思考了可能会有的需求,是后续论文和应用开发的基础指导[11]。
4 系统总体设计
此次毕业设计选题系统通过springboot框架。springboot适合快速构建Web应用。springboot将分成了View模块和Template模块两部分,将动态的逻辑处理交给View处理,页面通过Template来实现。Model和Template由View连在一起,如此划分后,程序中的每一部分只做一件事情,耦合度大大降低,便于开发者管理。为了更好的去理清本系统整体思路,对该系统以结构图的形式表达出来,设计实现该毕业设计选题系统的功能结构图如下所示:

图4-1 系统总体结构图
4.1 数据库设计原则
数据库设计之后,根据数据库关系,可以更加清晰地了解到数据库结构,每一个数据表之间的关系,再创建数据表。快速更改和查询对应的信息,有了数据库就不用在程序和代码中寻找。
分析毕业设计选题系统的数据结构后,在E-R图中分析管理员登录时的模式,需要输入用户名与密码、角色,管理员信息E-R如图4-2所示。

图4-2 管理员信息E-R图
学生信息E-R图如图4-3所示。

图4-3学生信息E-R图
教师信息E-R图如图4-4所示。

图4-4教师信息E-R图
课题发布E-R图如图4-5所示。

图4-5课题发布E-R图
学生选题E-R图如图4-6所示。

图4-6学生选题E-R图
5.1前台系统功能模块
当学生打开系统的网址后,首先看到的就是首页界面。在这里,学生能够看到毕业设计选题系统的导航条显示首页、课题发布、校园公告、在线留言、后台管理、个人中心等。系统首页界面如图5-1所示:

图5-1系统首页界面
在系统首页点击注册/登录按钮,在注册、登录界面填写信息完成后,单击注册或者登录操作,如图5-2 5-3所示:

图5-2 学生注册界面

图5-3 学生登录界面
点击课题发布,学生在搜索栏输入课题名称、教师姓名,进行查询,还可以查看课题名称、图片、备注、发布日期、教师账号、教师姓名、联系电话等信息,如有需要可以进行选题操作,如图5-4所示。

图5-4课题发布界面图
点击在线留言,学生在在线留言板输入留言信息、留言图片,进行留言,留言下方可以查看可查看用户名、回复内容、回复图片,如图5-5所示。

图5-5在线留言界面图
学生点击个人中心,在个人中心页面可以更新个人详细信息;如图5-6所示:

图5-6个人中心界面
5.2 管理员功能模块
管理员登录,通过登录页面输入用户名、密码、选择角色等信息,进行登录操作,如图5-7所示。

图5-7管理员登录界面图
管理员点击登录摁钮页面跳转到毕业设计选题系统对系统首页、个人中心、学生管理、教师管理、课题发布管理、学生选题管理、下发任务书管理、论文上传管理、指导意见管理、论文批复管理、论文成绩管理、在线留言、系统管理等功能,进行相应操作,如图5-8所示。

图5-8管理员功能界面图
管理员点击学生管理,在学生管理页面对学生学号、学生姓名、性别、手机、邮箱等信息,进行查询,新增或删除学生信息等操作。如图5-9所示:

图5-9学生管理界面
管理员点击教师管理,在教师管理页面对教师账号、教师姓名、性别、联系电话、邮箱、头像等信息,进行查询,新增或删除教师信息等操作。如图5-10所示:

图5-10教师管理界面
管理员点击课题发布管理,在课题发布管理页面对课题名称、图片、备注、发布日期、教师账号、教师姓名、联系电话等信息,进行查询,新增或删除课题发布等操作。如图5-11所示:

图5-11课题发布管理界面
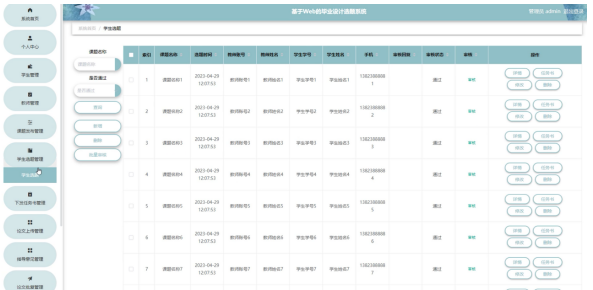
管理员点击点学生选题管理,在学生选题管理页面对课题名称、选题时间、教师账号、教师姓名、学生学号、学生姓名、手机、审核回复、审核状态、审核等信息,进行查询、新增、批量审核或删除学生选题等操作。如图5-12所示:

图5-12学生选题管理界面
管理员点击下发任务书管理,在下发任务书管理页面对课程名称、选题申请、选题时间、教师账号、教师姓名、学生学号、学生姓名、手机、任务书、论文模块、下发时间等信息,进行查询或删除下发任务书等操作。如图5-13所示:

图5-13下发任务书管理界面
管理员点击论文上传管理,在论文上传管理页面对课程名称、论文稿次、学生论文、提交时间、教师账号、教师姓名、学生学号、学生姓名、手机等信息,进行查询或删除论文上传等操作。如图5-14所示:

图5-14论文上传管理界面
管理员点击指导意见管理,在指导意见管理页面对课程名称、发布时间、教师账号、教师姓名、学生学号、学生姓名、手机等信息,进行查询或删除指导意见等操作。如图5-15所示:

图5-15指导意见管理界面
源码无偿分享,文未领取

被折叠的 条评论
为什么被折叠?



