Python语言支持以下类型的运算符:
1.算术运算符;2.比较(关系)运算符;3.赋值运算符;4.逻辑运算符;5.位运算符;6.成员运算符;7.身份运算符;8.运算符优先级
1.算术运算符
以下假设变量a=10,变量b=21:

2.赋值运算符
假设变量a=10,变量b=20:

3.位运算符:
按位运算符是把数字看作二进制来进行计算的,按位运算法则如下:
下表变量a为60,b为13二进制格式如下:


根据下面的实例了解所有位运算符的操作:

输出结果为:

4.逻辑运算符
假设a=10,b=20:

实例如下图所示:

实例输出结果为:

5.Python成员运算符
除了以上的一些运算符之外,Python还支持成员运算符,测试实例中包含了一系列的成员,包括字符串,列表或者元组
也就是常见的in 和not in


输出结果为:

6.Python身份运算符(不熟)
身份运算符用于比较两个对象的存储单元

注:id()函数用于获取对象内存地址

输出结果为:

注意is与==区别:

7.Python运算符优先级
以下表格列出了从最高到最低优先级的所有运算符,相同单元格内的运算符具有相同优先级。
运算符均指二元运算,除非特别指出,相同单元格内的运算符从左至右分组(除了幂运算是从右至左分组):

注:Python3已不支持<>运算符,可以使用!=代替,即不等于,如果一定要用,需采用以下方式:

Python3数字(Number)
python3数字数据类型用于存储数值,数据类型是不允许改变的,这就意味着如果改变数字数据类型的值,将重新分配内存空间,具体的内容之前已提过,此处不再重复赘述
此处给出常用的数学函数:

随机数函数:随机数可以用于数学,游戏,安全等领域中,还经常被嵌入到算法中,用以提高算法效率,并提高程序的安全性;python包含以下常用随机数函数:

三角函数:

数学常量:

Python3字符串
用单引号或者双引号来创建字符串,创建字符串很简单,只需要为变量分配一个值即可
关于字符串的内容,包括访问字符串中的值,截取字符串已在之前文章中有过陈述,此处不再赘述
Python字符串更新
可以截取字符串的一部分并于其他字段拼接,如下:

执行结果为:

Python转义字符
在需要在字符中使用特殊字符时,python用反斜杠\转义字符


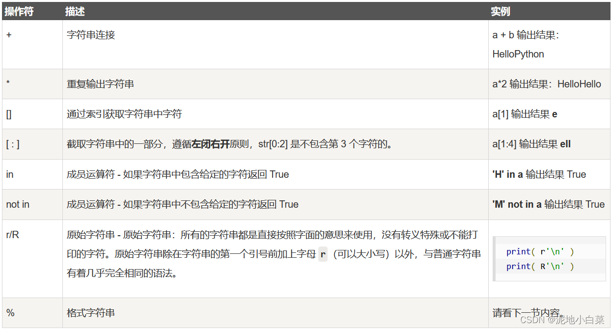
Python字符串运算符
下表实例变量a值为字符串"Hello",b变量值为"python":

Python字符串格式化
Python支持格式化字符串的输出,尽管这样可能会用到非常复杂的表达式,但最基本的用法是将一个值插入到一个有字符串格式符%s的字符串中
在Python中,字符串格式化使用与C中sprintf函数一样的语法

输出结果显而易见:

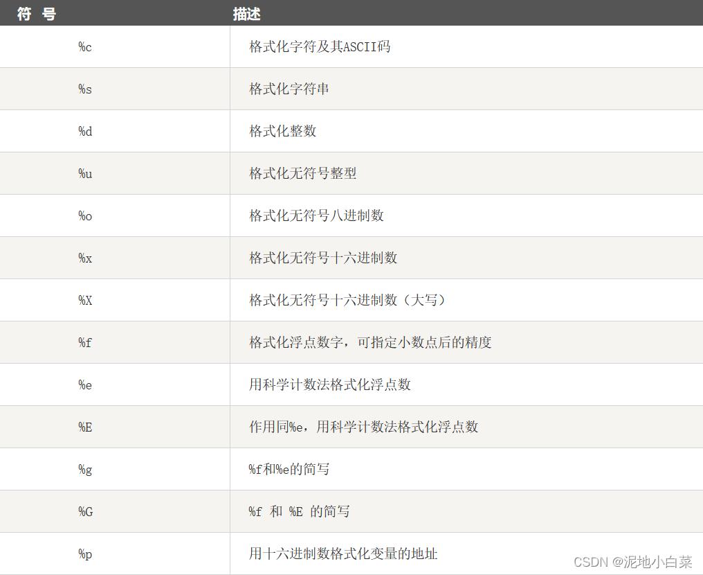
Python字符串格式化符号:

格式化操作符辅助指令:

python现在有一种格式化字符串的函数Python format 格式化函数 | 菜鸟教程,它增强了字符串格式化的功能
Python三引号
python三引号允许一个字符串跨多行,字符串中可以包含换行符,制表符以及其他特殊字符
如下图所示:

输出结果为:

三引号可以很方便的将一整串字符分行输出,当遇到长字符串时考虑使用三引号进行分行输出
f-string(不熟悉) 重点,要学会使用
f-string是python3.6之后版本添加的,称之为字面量格式化字符串,是新的格式化字符串的语法,之前习惯用百分号%

f-string格式化字符串以f开头,后面跟着字符串,字符串中的表达式用大括号{}包起来,它会将变量或表达式计算后的值替换进去,实例如下:

用了这种方式明显更简单了,不用再去判断使用%s,还是%d
在python3.8的版本中可以使用=符号来拼接运算表达式与结果:

Unicode字符串
在python2中,普通字符串是以8位ASCII码进行存储的,而Unicode字符串则存储为16位unicode字符串,这样能够表示更多的字符集,使用的语法是在字符串前加上前缀u
在Python3中,所有的字符串都是Unicode字符串
Python的字符串内建函数





3541

被折叠的 条评论
为什么被折叠?



