java-jsp商务酒店管理系统qd03s[独有源码]如何找到适合自己的毕业设计的指南

本文介绍了一个商务酒店管理系统,该系统采用Java技术栈,包括前端JSP、后端SSM框架和MyBatis数据库操作,旨在提升酒店运营效率和客户服务质量。系统支持客房预订、入住管理、数据统计等功能,优化了传统酒店管理流程。

本项目包含程序+源码+数据库+LW+调试部署环境,文末可获取一份本项目的java源码和数据库参考。

系统的选题背景和意义

选题背景:

商务酒店管理系统是为了提高酒店运营效率、提供更优质的客户服务而设计和实施的一种综合性管理系统。随着商务旅行的增加和全球经济的发展,商务酒店作为商务人士出差时的首选住宿方式,其需求量也在不断增长。然而,传统的酒店管理方式存在着诸多问题,如信息不透明、预订流程繁琐等。因此,设计和实现一个高效的商务酒店管理系统具有重要意义。

选题意义:

商务酒店管理系统的设计与实施对于提升酒店运营效率和提供优质客户服务具有重要意义。首先,该系统可以实现酒店业务的自动化管理。通过系统,酒店可以实现客房预订、入住登记、结算等业务的自动化处理,减少人工操作的时间和错误率。同时,系统还可以集成其他功能模块,如库存管理、人力资源管理等,实现酒店各个部门之间的信息共享和协同工作,提高整体运营效率。

其次,商务酒店管理系统可以提供便捷的客户服务。通过系统,客户可以方便地进行在线预订、入住登记等操作,无需耗费时间在繁琐的手续上。同时,系统还可以提供个性化的服务,如客户偏好记录、定制化需求等,为客户提供更加贴心和满意的服务体验。这样可以增加客户的满意度和忠诚度,提高酒店的口碑和竞争力。

此外,商务酒店管理系统还可以实现数据的统计和分析。通过系统,酒店可以对客户的消费行为、偏好等进行数据分析,了解客户的需求和市场趋势。在此基础上,酒店可以制定更精准的营销策略,推出符合客户需求的产品和服务。同时,系统还可以提供报表和图表等功能,帮助酒店管理层进行决策和业绩评估,提高经营效益。

最后,商务酒店管理系统的设计与实施对于提升酒店品牌形象和客户满意度具有重要意义。通过系统,酒店可以提供更加便捷、高效的服务,增强客户的满意度和口碑传播。同时,系统还可以提供客户反馈和投诉处理等功能,及时解决问题,改进服务质量。这样可以树立良好的品牌形象,吸引更多商务客户选择酒店,并保持长期合作关系。

以上选题背景和意义内容是根据本选题撰写,非本作品实际的选题背景、意义或功能。各位童鞋可参考用于写开题选题和意义内容切勿直接引用。本作品的实际功能和技术以下列内容为准。

技术栈:

用户发送请求:用户通过浏览器或其他客户端向系统发送请求,请求访问特定的页面或执行特定的操作。

前端处理:前端使用JSP技术生成动态的Web页面,将页面展示给用户。用户可以在页面上进行交互,例如填写表单、点击按钮等。

请求传递到后端:用户的请求被传递到后端Java程序。后端程序接收到请求后,根据请求的类型和参数进行相应的处理。

后端业务逻辑处理:后端程序使用Java语言开发,根据业务需求进行相应的业务逻辑处理。这包括数据的处理、计算、验证等操作。

数据库交互:如果需要与数据库进行交互,后端程序使用SSM框架中的MyBatis组件来执行数据库操作。它可以通过SQL语句或者对象映射的方式来操作MySQL数据库。

数据返回给前端:后端程序处理完业务逻辑后,将结果数据返回给前端。可以是生成的HTML页面、JSON数据等形式。

前端展示结果:前端接收到后端返回的数据,根据需要进行展示。可以是渲染页面、显示提示信息等。

3.5系统流程分析

3.5.1操作流程

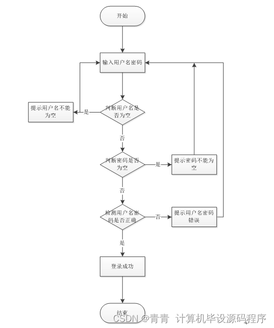
系统登录流程图,如图所示:

 

图3-1登录流程图

3.5.2添加信息流程

添加信息流程图,如图所示:

 

图3-2添加信息流程图

3.5.3删除信息流程

删除信息流程图,如图所示:

 

图3-3删除信息流程图

4.1系统体系结构

商务酒店管理系统的结构图4-1所示:

 

图4-1 系统结构

模块包括个人中心,用户管理,酒店信息管理,酒店房间管理,酒店预订管理,用户入住管理,用户退房管理,用户评价管理,楼层信息管理,用户投诉管理,财务统计管理等进行相应的操作。

登录系统结构图,如图4-2所示:

 

图4-2 登录结构图

这些功能可以充分满足商务酒店管理系统的需求。此系统功能较为全面如下图系统功能结构如图4-3所示。

 

图4-3系统功能结构图

4.2数据库设计

系统使用MYSQL 作为系统的数据库,设计用户注册表、文件上传的表等等。

4.2.1 数据库概念结构设计

概念结构设计是根据用户需求形成的。用最常的E-R方法描述数据模型进行数据库的概念设计,首先设计局部的E-R模式,最后各局部ER模式综合成一个全局模式。然后再把概念模式转换成逻辑模式。将概念设计从设计过程中独立开来,设计复杂程度降低,不受特定DBMS的限制。

1.所有实体和属性的定义如下所示。

用户注册属性图如图4-4所示。

 

图4-4用户注册实体属性图

酒店信息实体属性图如图4-5所示。

 

图4-5酒店信息实体属性图

系统登录,通过输入用户,密码,选择角色等信息进行系统登录,如图5-1所示。

 

图5-1系统登录界面图

5.1管理员功能模块

管理员登录进入商务酒店管理系统可以查看个人中心,用户管理,酒店信息管理,酒店房间管理,酒店预订管理,用户入住管理,用户退房管理,用户评价管理,楼层信息管理,用户投诉管理,财务统计管理等内容进行详细操作,如图5-2所示。

 

图5-2管理员功能界面图

用户管理,在用户管理页面可以对账号,姓名,年龄,性别,手机,身份证,图片等内容进行查看,修改和删除等操作,如图5-3所示。

 

图5-3用户管理界面图

酒店信息管理,在酒店信息管理页面可以对标题,简介,发布时间,封面等内容进行查看,修改和删除等操作,如图5-4所示。

 

图5-4酒店信息管理界面图

酒店房间管理,在酒店房间管理页面可以对客房号,客房类型,客房图片,房间面积,价格,状态,房间清洁,客房位置,可约时间等内容进行查看,修改和删除等操作,如图5-5所示。

 

图5-5酒店房间管理界面图

酒店预订管理,在酒店预订管理页面可以对预约编号,客房号,客房类型,价格,天数,总价,预订日期,备注,账号,姓名,手机,身份证等内容进行审核,查看,删除等操作,如图5-6所示。

 

图5-6酒店预订管理界面图

用户入住管理,在用户入住管理页面可以对入住编号,客房号,客房类型,入住日期,入住备注,账号,姓名,手机,身份证等内容进行查看,删除等操作,如图5-7所示。

 

图5-7用户入住管理界面图

用户退房管理,在用户退房管理页面可以对客房号,客房类型,账号,姓名,身份证,手机,退房日期,是否审核,审核回复等内容进行审核,查看,删除等操作,如图5-8所示。

 

图5-8用户退房管理界面图

用户评价管理,在用户评价管理页面可以对 订单编号,客房号,客房类型,评价客房,评价服务,评分,评价时间,评语,账号,姓名等内容进行查看,删除等操作,如图5-9所示。

 

图5-9用户评价管理界面图

财务统计管理,在财务统计管理页面可以对统计编号,费用支付,财务收入,纯利润,登记日期等内容进行查看,修改和删除等操作,如图5-10所示。

 

图5-10财务统计管理界面图

5.2用户功能模块

用户登录进入商务酒店管理系统可以查看个人中心,酒店信息管理,酒店房间管理,酒店预订管理,用户入住管理,用户退房管理,用户评价管理,用户投诉管理等内容进行详细操作,如图5-11所示。

 

图5-11用户功能界面图

酒店预订管理,在酒店预订管理页面可以对预约编号,客房号,客房类型,价格,天数,总价,预订日期,备注,账号,姓名,手机,身份证等内容进行酒店预订,查看等操作,如图5-12所示。

 

图5-12酒店预订管理界面图

用户退房管理,在用户退房管理页面可以对客房号,客房类型,账号,姓名,身份证,手机,退房日期,是否审核,审核回复等内容进行查看,用户评价等操作,如图5-13所示。

图5-13用户退房管理界面图

文末可提供源码和数据库分享,另有JAVA毕设的帮助、指导,调试和部署等方面的支持。

评论
添加红包

请填写红包祝福语或标题

红包个数最小为10个

红包金额最低5元

当前余额3.43前往充值 >
需支付:10.00
成就一亿技术人!
领取后你会自动成为博主和红包主的粉丝 规则
hope_wisdom
发出的红包
实付
使用余额支付
点击重新获取
扫码支付
钱包余额 0

抵扣说明:

1.余额是钱包充值的虚拟货币,按照1:1的比例进行支付金额的抵扣。
2.余额无法直接购买下载,可以购买VIP、付费专栏及课程。

余额充值