django旅游景点推荐系统
摘 要
旅游景点推荐系统采用采用django框架、python语言、以及Mysql数据库等技术。系统主要分为管理员和用户两部分,管理员管理主要功能包括:首页、网站管理(轮播图、在线公告)、人员管理(管理员、普通用户)、内容管理(游记文章、文章分类、旅游资讯、资讯分类)、购物管理(特产商城、分类列表、订单列表)、模块管理(景点信息、酒店信息、门票预定、酒店预定)、个人管理(个人信息、修改密码)等。用户个人后台管理主要包括:首页、模块管理(门票预定、酒店预定)、个人管理(个人信息、修改密码)等功能,基本上实现了整个旅游景点推荐系统信息管理的过程。本系统在一般旅游景点推荐系统的基础上增加了首页推送最新信息的功能方便用户快速浏览,是一个高效的、动态的、交互友好的旅游景点推荐系统。
关键词 :旅游景点推荐系统;django框架;Mysql数据库;
The tourist attraction recommendation system adopts django framework, python language, MySQL database and other technologies. The system is mainly divided into two parts: administrator and user. The main functions of administrator management include: home page, website management (rotation chart, online announcement), personnel management (administrator, ordinary user), content management (travel article, article classification, travel information, information classification), shopping management (specialty mall, classification list, order list), module management (scenic spot information, hotel information, ticket reservation, hotel reservation) Personal management (personal information, password modification), etc. The user's personal background management mainly includes: home page, module management (ticket reservation, hotel reservation), personal management (personal information, password modification) and other functions, basically realizing the entire process of information management of the tourist attraction recommendation system. This system adds the function of pushing the latest information on the home page to facilitate users to browse quickly on the basis of the general tourist attraction recommendation system. It is an efficient, dynamic and interactive tourist attraction recommendation system.
Key words: Tourist attraction recommendation system; Django framework; MySQL database;
目 录
结论 42
1 绪论
以往的旅游景点推荐系统相关信息管理,都是工作人员手工统计。这种方式不但时效性低,而且需要查找和变更的时候很不方便。随着科学的进步,技术的成熟,计算机信息化也日新月异的发展,如今计算机已经进入了人类社会发展的各个领域,并且发挥着十分重要的作用。本系统充分利用网络的便捷,在工作效率上,得到极大地提高,延伸至服务水平也会有好的收获,有了网络,旅游景点推荐系统的各方面的管理更加科学和系统,更加规范和简便。
在国内,旅游景点推荐系统是国内知名的大型旅游景点网站,该公司向超过千万的用户提供全方位的服务,服务也非常有保障,使用户可以安心舒适的享受,但由于其价格单一没有竞争力以及现在各个其他旅游景点推荐系统的兴起和普及,使其流失了部分客户。
旅游景点推荐系统是国内主要致力于景点的观看攻略。首先,旅游景点推荐系统为用户提供一站式目的地旅行资讯。另外,旅游景点推荐系统会把当地最代表的景点信息以及酒店信息一同提供给第一次去某地的用户,提高了用户的旅游质量,使用户的旅游路线不再盲目。
中国旅游景点推荐系统坚持“以人为本”的原则对网站的内容进行分类,同时该网站全面整理了广大用户喜爱的专业景点资讯,是目前中国具有一定影响力的旅游景点推荐系统。
在国外,猫途鹰是一家以美国旅游为基础的广受大众追捧的有关旅游景点分析的网站,该网站提供的点评和交互论坛的功能,使用户全方位了解资讯,大大消除了用户网上购票的顾虑,并且该网站大部分内容对用户免费开放,这也是其受到广泛欢迎的重要原因。
如今,互联网已经深入人们的生活,智能手机、笔记本电脑等已经是人们获取信息的主要工具,因此,利用网络来进行旅游景点推荐系统的管理也成为大势所趋,所以,开发一个旅游景点推荐系统是必须的。
过去人们去往各地旅行时,由于信息的局限性往往不知道怎样选择最适合自己的旅游方案,往往耗费大量的时间和精力。而如今,21世纪是信息化的世界,互联网行业发展迅猛带动了生活中方方面面,信息管理的规范化、高效化的重要性日益凸显。
旅游景点推荐系统利用信息的合理管理,动态的、高效的、安全的实现了用户的各种需求,改变了传统的旅游方式。
当今各式各样的旅游景点推荐系统相继兴起,为了使大众可以快速获得大量信息,节省精力和财力。在本系统中,实现了查看景点信息、酒店信息等功能。
该系统具有首页、网站管理(轮播图、在线公告)、人员管理(管理员、普通用户)、内容管理(游记文章、文章分类、旅游资讯、资讯分类)、购物管理(特产商城、分类列表、订单列表)、模块管理(景点信息、酒店信息、门票预定、酒店预定)、个人管理(个人信息、修改密码)等功能。首先在该系统中用户可以通过本网站的景点信息和酒店信息功能进行查看,旅游景点进行全方位了解,可以毫无顾虑的进行线上预订,或者通过用户模块来规划自己的旅游计划。其次用户注册登陆本网站后,用户可以进入个人后台来管理首页、模块管理(门票预定、酒店预定)、个人管理(个人信息、修改密码)管理等功能。最后在主页页面,增加了推送功能,使用户可以直接快速接触到最丰富的内容,提高了用户体验感,增加了销售量。
此网站基本上实现了整个旅游景点推荐系统信息管理的过程,向大众提供了一个安全、动态、高效的旅游景点推荐系统系统。
2 系统开发环境
2.1开发技术说明
本系统前端部分基于MVVM模式进行开发,采用B/S模式,后端部分基于python的Django框架进行开发。
前端部分:前端框架采用了比较流行的渐进式JavaScript框架Vue.js。使用Vue-Router和Vuex实现动态路由和全局状态管理,Ajax实现前后端通信,Element UI组件库使页面快速成型,项目前端通过栅格布局实现响应式,可适应PC端、平板端、手机端等不同屏幕大小尺寸的完美布局展示。
后端部分:采用Django作为开发框架,同时集成Redis等相关技术。
2.2 B/S体系工作原理
B/S架构采取浏览器请求,服务器响应的工作模式。
用户可以通过浏览器去访问Internet上由Web服务器产生的文本、数据、图片、动画、视频点播和声音等信息;
而每一个Web服务器又可以通过各种方式与数据库服务器连接,大量的数据实际存放在数据库服务器中;
从Web服务器上下载程序到本地来执行,在下载过程中若遇到与数据库有关的指令,由Web服务器交给数据库服务器来解释执行,并返回给Web服务器,Web服务器又返回给用户。在这种结构中,将许许多多的网连接到一块,形成一个巨大的网,即全球网。而各个企业可以在此结构的基础上建立自己的Internet。
在 B/S 模式中,用户是通过浏览器针对许多分布于网络上的服务器进行请求访问的,浏览器的请求通过服务器进行处理,并将处理结果以及相应的信息返回给浏览器,其他的数据加工、请求全部都是由Web Server完成的。通过该框架结构以及植入于操作系统内部的浏览器,该结构已经成为了当今软件应用的主流结构模式。
。
2.3 Django框架介绍
Django是高水准的Python编程语言驱动的一个开源模型.视图,控制器风格的Web应用程序框架,它起源于开源社区。使用这种架构,程序员可以方便、快捷地创建高品质、易维护、数据库驱动的应用程序。这也正是OpenStack的Horizon组件采用这种架构进行设计的主要原因。另外,在Django框架中,还包含许多功能强大的第三方插件,使得Django具有较强的可扩展性。Django 项目源自一个在线新闻 Web 站点,于 2005 年以开源的形式被释放出来。Django 框架的核心组件有:
2.3.1 用于创建模型的对象关系映射;
2.3.2 为最终用户设计较好的管理界面;
2.3.3 URL 设计;
2.3.4 设计者友好的模板语言;
2.3.5 缓存系统。
Django(发音:[`dʒæŋɡəʊ]) 是用python语言写的开源web开发框架(open source web framework),它鼓励快速开发,并遵循MVC设计。Django遵守BSD版权,初次发布于2005年7月, 并于2008年9月发布了第一个正式版本1.0 。
Django 根据比利时的爵士音乐家Django Reinhardt命名,他是一个吉普赛人,主要以演奏吉它为主,还演奏过小提琴等。
由于Django在近年来的迅速发展,应用越来越广泛,被著名IT开发杂志SD Times评选为2013 SD Times 100,位列“API、库和框架”分类第6位,被认为是该领域的佼佼者。
JSP可以放在在html里使用,也可以独自使用,它同时也具备有很多种优点,可以讲,Web脚本技术的先驱是JSP。现代编程语言(像C,Java和Perl等)的一些最好的特点都融合在JSP里,Web服务器里的一些配置标准是由JSP、Tomcat和数据库等的组合在一起的。
2.4 MySQL数据库
MySQL经过多次的更新,功能层面已经非常的丰富和完善了,从MySQL4版本到5版本进行了比较大的更新,在商业的实际使用中取得了很好的实际应用效果。最新版本的MySQL支持对信息的压缩,同时还能进行加密能更好的满足对信息安全性的需求。同时经过系统的多次更新,数据库自身的镜像功能也得到了很大的增强,运行的流畅度和易用性方面有了不小的进步,驱动的使用和创建也更加的高效快捷。最大的变动还是进行了空间信息的显示优化,能更加方便的在应用地图上进行坐标的标注和运算。强大的备份功能也保证了用户使用的过程会更加安心,同时支持的Office特性还支持用户的自行安装和使用。在信息的显示形式上也进行了不小的更新,增加了两个非常使用的显示区,一个是信息区,对表格和文字进行了分类处理,界面的显示更加清爽和具体。第二是仪表的信息控件,能在仪表信息区进行信息的显示,同时还能进行多个信息的比对,为用户的实际使用带来了很大的便捷[7][8]。
针对本文中设计的疫情数据可视化系统在实际的实现过程中,最终选择MySQL数据库的主要原因在于在企业的应用系统应用及开发的过程中会存在大量的数据库比较频繁的操作,而且数据的安全性要求也是非常的高。综合这些因素,最终选择安全性系数比较高的MySQL来对疫情数据可视化系统后台数据进行存储操作[9][10]。
数据库管理系统的总体结构图如下图所示。

图2-1 数据库组成结构
2.5 Ajax 应用
该技术在 1998 年前后得到了应用。允许客户端脚本发送HTTP请求(XMLHTTP)的第一个组件由Outlook Web Access小组写成。该组件原属于微软 Exchange Server,并且迅速地成为了 Internet Explorer 4.0 的一部分。部分观察家认为,Outlook Web Access 是第一个应用了 Ajax 技术的成功的商业应用程序,并成为包括Oddpost 的网络邮件产品在内的许多产品的领头羊。但是,2005 年初,许多事件使得 Ajax 被大众所接受。Google 在它著名的交互应用程序中使用了异步通讯,如Google、Google 地图、Google 搜索建议、Gmail等。Ajax 这个词由《Ajax: A New Approach to Web Applications》一文所创,该文的迅速传播加强了人们使用该项技术的意识。另外,对Mozilla/Gecko 的支持使得该技术走向成熟,变得更为易用。
Ajax 前景非常乐观,可以提高系统性能,优化用户界面。Ajax 现有直接框架 AjaxPro,可以引入 AjaxPro.2.dll 文件,可以直接在前台页面 JavaScript 调用后台页面的方法。但此框架与表单验证有冲突。另外微软也引入了 Ajax 组件,需要添加AjaxControlToolkit.dll 文件,可以在控件列表中出现相关控件。
3 需求分析
所谓需求分析就是,需求人员通过与客户的沟通,所获取的信息,然后把这些信息通过需求说明书的方式展示给用户和开发人员。
本系统设计的是一个旅游景点推荐系统的网站,此网站使用户实现了不需出门就可以在电脑前进行首页、景点信息、酒店信息、门票预定、酒店预定、公告信息、个人中心、后台管理等。不需亲临现场就可以在网站的图片上领略景点信息及酒店信息。
用户在首页上会看到各类模块的推送内容,可以以最直接的方式获取信息,注册登陆后,可以对应心仪的旅游景点信息进行收藏,并且在后台可以管理自己的首页、模块管理(门票预定、酒店预定)、个人管理(个人信息、修改密码)等。而管理员则可以在后台直接管理信息。本网站模块设计的独立性强,用户体验良好、后期维护修改管理十分方便。
此系统的功能分为用户和管理员模块:
用户功能模块用户模块包括:首页、模块管理(门票预定、酒店预定)、个人管理(个人信息、修改密码)等模块。
管理员功能模块包括:首页、网站管理(轮播图、在线公告)、人员管理(管理员、普通用户)、内容管理(游记文章、文章分类、旅游资讯、资讯分类)、购物管理(特产商城、分类列表、订单列表)、模块管理(景点信息、酒店信息、门票预定、酒店预定)、个人管理(个人信息、修改密码)模块。
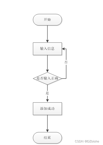
系统业务流程图,如图所示:

图3-1登录流程图

图3-2添加信息流程图

图3-3注册信息流程图
4.1 概述
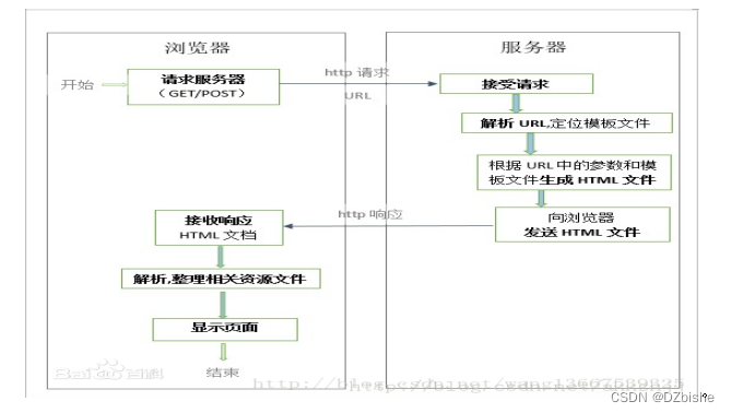
旅游景点推荐系统基于Web服务模式,是一个适用于Internet环境下的模型结构。只要用户能连上Internet,便可以在不受时间、地点的限制来使用这个系统。旅游景点推荐系统工作原理图,如图4-1所示:

图4-1 系统工作原理图
本旅游景点推荐系统,本系统的具体功能如下:

图4-2系统功能结构图
管理员功能结构图,如图4-3所示:

图4-3 管理员功能结构图
用户后台功能结构图,如图4-4所示:

图4-4 用户后台功能结构图
4.3. 数据库设计
管理员信息结构图,如图4-5所示:

图4-5 管理员信息实体结构图
管理员功能实体属性图,如图4-6所示:

图4-6管理员功能实体属性图
用户信息实体属性图,如图4-7所示:

图4-7用户信息实体属性图
4.3.2 数据库设计表
此系统需要后台数据库,下面介绍数据库中的各个表的详细信息。
表access_token (登陆访问时长)
| 编号 | 名称 | 数据类型 | 长度 | 小数位 | 允许空值 | 主键 | 默认值 | 说明 |
| 1 | token_id | int | 10 | 0 | N | Y | 临时访问牌ID | |
| 2 | token | varchar | 64 | 0 | Y | N | 临时访问牌 | |
| 3 | info | text | 65535 | 0 | Y | N | ||
| 4 | maxage | int | 10 | 0 | N | N | 2 | 最大寿命:默认2小时 |
| 5 | create_time | timestamp | 19 | 0 | N | N | CURRENT_TIMESTAMP | 创建时间: |
| 6 | update_time | timestamp | 19 | 0 | N | N | CURRENT_TIMESTAMP | 更新时间: |
| 7 | user_id | int | 10 | 0 | N | N | 0 | 用户编号: |
表address (收货地址:)
| 编号 | 名称 | 数据类型 | 长度 | 小数位 | 允许空值 | 主键 | 默认值 | 说明 |
| 1 | address_id | int | 10 | 0 | N | Y | 收货地址: | |
| 2 | name | varchar | 32 | 0 | Y | N | 姓名: | |
| 3 | phone | varchar | 13 | 0 | Y | N | 手机: | |
| 4 | postcode | varchar | 8 | 0 | Y | N | 邮编: | |
| 5 | address | varchar | 255 | 0 | N | N | 地址: | |
| 6 | user_id | mediumint | 8 | 0 | N | N | 用户ID:[0,8388607]用户获取其他与用户相关的数据 | |
| 7 | create_time | timestamp | 19 | 0 | N | N | CURRENT_TIMESTAMP | 创建时间: |
| 8 | update_time | timestamp | 19 | 0 | N | N | CURRENT_TIMESTAMP | 更新时间: |
| 9 | default | bit | 1 | 0 | N | N | 0 | 默认判断 |
表article (文章:用于内容管理系统的文章)
| 编号 | 名称 | 数据类型 | 长度 | 小数位 | 允许空值 | 主键 | 默认值 | 说明 |
| 1 | article_id | mediumint | 8 | 0 | N | Y | 文章id:[0,8388607] | |
| 2 | title | varchar | 125 | 0 | N | Y | 标题:[0,125]用于文章和html的title标签中 | |
| 3 | type | varchar | 64 | 0 | N | N | 0 | 文章分类:[0,1000]用来搜索指定类型的文章 |
| 4 | hits | int | 10 | 0 | N | N | 0 | 点击数:[0,1000000000]访问这篇文章的人次 |
| 5 | praise_len | int | 10 | 0 | N | N | 0 | 点赞数 |
| 6 | create_time | timestamp | 19 | 0 | N | N | CURRENT_TIMESTAMP | 创建时间: |
| 7 | update_time | timestamp | 19 | 0 | N | N | CURRENT_TIMESTAMP | 更新时间: |
| 8 | source | varchar | 255 | 0 | Y | N | 来源:[0,255]文章的出处 | |
| 9 | url | varchar | 255 | 0 | Y | N | 来源地址:[0,255]用于跳转到发布该文章的网站 | |
| 10 | tag | varchar | 255 | 0 | Y | N | 标签:[0,255]用于标注文章所属相关内容,多个标签用空格隔开 | |
| 11 | content | longtext | 2147483647 | 0 | Y | N | 正文:文章的主体内容 | |
| 12 | img | varchar | 255 | 0 | Y | N | 封面图 | |
| 13 | description | text | 65535 | 0 | Y | N | 文章描述 |
表article_type (文章分类)
| 编号 | 名称 | 数据类型 | 长度 | 小数位 | 允许空值 | 主键 | 默认值 | 说明 |
| 1 | type_id | smallint | 5 | 0 | N | Y | 分类ID:[0,10000] | |
| 2 | display | smallint | 5 | 0 | N | N | 100 | 显示顺序:[0,1000]决定分类显示的先后顺序 |
| 3 | name | varchar | 16 | 0 | N | N | 分类名称:[2,16] | |
| 4 | father_id | smallint | 5 | 0 | N | N | 0 | 上级分类ID:[0,32767] |
| 5 | description | varchar | 255 | 0 | Y | N | 描述:[0,255]描述该分类的作用 | |
| 6 | icon | text | 65535 | 0 | Y | N | 分类图标: | |
| 7 | url | varchar | 255 | 0 | Y | N | 外链地址:[0,255]如果该分类是跳转到其他网站的情况下,就在该URL上设置 | |
| 8 | create_time | timestamp | 19 | 0 | N | N | CURRENT_TIMESTAMP | 创建时间: |
| 9 | update_time | timestamp | 19 | 0 | N | N | CURRENT_TIMESTAMP | 更新时间: |
表attraction_information (景点信息)
| 编号 | 名称 | 数据类型 | 长度 | 小数位 | 允许空值 | 主键 | 默认值 | 说明 |
| 1 | attraction_information_id | int | 10 | 0 | N | Y | 景点信息ID | |
| 2 | attraction_no | varchar | 64 | 0 | Y | N | 景点编号 | |
| 3 | attraction_name | varchar | 64 | 0 | Y | N | 景点名称 | |
| 4 | attraction_address | varchar | 64 | 0 | Y | N | 景点地址 | |
| 5 | ticket_price | int | 10 | 0 | Y | N | 0 | 门票价格 |
| 6 | introduction | text | 65535 | 0 | Y | N | 景点简介 | |
| 7 | attraction_cover | varchar | 255 | 0 | Y | N | 景点封面 | |
| 8 | hits | int | 10 | 0 | N | N | 0 | 点击数 |
| 9 | praise_len | int | 10 | 0 | N | N | 0 | 点赞数 |
| 10 | recommend | int | 10 | 0 | N | N | 0 | 智能推荐 |
| 11 | create_time | datetime | 19 | 0 | N | N | CURRENT_TIMESTAMP | 创建时间 |
| 12 | update_time | timestamp | 19 | 0 | N | N | CURRENT_TIMESTAMP | 更新时间 |
表auth (用户权限管理)
| 编号 | 名称 | 数据类型 | 长度 | 小数位 | 允许空值 | 主键 | 默认值 | 说明 |
| 1 | auth_id | int | 10 | 0 | N | Y | 授权ID: | |
| 2 | user_group | varchar | 64 | 0 | Y | N | 用户组: | |
| 3 | mod_name | varchar | 64 | 0 | Y | N | 模块名: | |
| 4 | table_name | varchar | 64 | 0 | Y | N | 表名: | |
| 5 | page_title | varchar | 255 | 0 | Y | N | 页面标题: | |
| 6 | path | varchar | 255 | 0 | Y | N | 路由路径: | |
| 7 | position | varchar | 32 | 0 | Y | N | 位置: | |
| 8 | mode | varchar | 32 | 0 | N | N | _blank | 跳转方式: |
| 9 | add | tinyint | 3 | 0 | N | N | 1 | 是否可增加: |
| 10 | del | tinyint | 3 | 0 | N | N | 1 | 是否可删除: |
| 11 | set | tinyint | 3 | 0 | N | N | 1 | 是否可修改: |
| 12 | get | tinyint | 3 | 0 | N | N | 1 | 是否可查看: |
| 13 | field_add | text | 65535 | 0 | Y | N | 添加字段: | |
| 14 | field_set | text | 65535 | 0 | Y | N | 修改字段: | |
| 15 | field_get | text | 65535 | 0 | Y | N | 查询字段: | |
| 16 | table_nav_name | varchar | 500 | 0 | Y | N | 跨表导航名称: | |
| 17 | table_nav | varchar | 500 | 0 | Y | N | 跨表导航: | |
| 18 | option | text | 65535 | 0 | Y | N | 配置: | |
| 19 | create_time | timestamp | 19 | 0 | N | N | CURRENT_TIMESTAMP | 创建时间: |
| 20 | update_time | timestamp | 19 | 0 | N | N | CURRENT_TIMESTAMP | 更新时间: |
表cart (购物车)
| 编号 | 名称 | 数据类型 | 长度 | 小数位 | 允许空值 | 主键 | 默认值 | 说明 |
| 1 | cart_id | int | 10 | 0 | N | Y | 购物车ID: | |
| 2 | title | varchar | 64 | 0 | Y | N | 标题: | |
| 3 | img | varchar | 255 | 0 | N | N | 0 | 图片: |
| 4 | user_id | int | 10 | 0 | N | N | 0 | 用户ID: |
| 5 | create_time | timestamp | 19 | 0 | N | N | CURRENT_TIMESTAMP | 创建时间: |
| 6 | update_time | timestamp | 19 | 0 | N | N | CURRENT_TIMESTAMP | 更新时间: |
| 7 | state | int | 10 | 0 | N | N | 0 | 状态:使用中,已失效 |
| 8 | price | double | 9 | 2 | N | N | 0.00 | 单价: |
| 9 | price_ago | double | 9 | 2 | N | N | 0.00 | 原价: |
| 10 | price_count | double | 11 | 2 | N | N | 0.00 | 总价: |
| 11 | num | int | 10 | 0 | N | N | 1 | 数量: |
| 12 | goods_id | mediumint | 8 | 0 | N | N | 商品id:[0,8388607] | |
| 13 | type | varchar | 64 | 0 | N | N | 未分类 | 商品分类: |
| 14 | description | varchar | 255 | 0 | Y | N | 描述:[0,255]用于产品规格描述 |
表collect (收藏)
| 编号 | 名称 | 数据类型 | 长度 | 小数位 | 允许空值 | 主键 | 默认值 | 说明 |
| 1 | collect_id | int | 10 | 0 | N | Y | 收藏ID: | |
| 2 | user_id | int | 10 | 0 | N | N | 0 | 收藏人ID: |
| 3 | source_table | varchar | 255 | 0 | Y | N | 来源表: | |
| 4 | source_field | varchar | 255 | 0 | Y | N | 来源字段: | |
| 5 | source_id | int | 10 | 0 | N | N | 0 | 来源ID: |
| 6 | title | varchar | 255 | 0 | Y | N | 标题: | |
| 7 | img | varchar | 255 | 0 | Y | N | 封面: | |
| 8 | create_time | timestamp | 19 | 0 | N | N | CURRENT_TIMESTAMP | 创建时间: |
| 9 | update_time | timestamp | 19 | 0 | N | N | CURRENT_TIMESTAMP | 更新时间: |
表comment (评论)
| 编号 | 名称 | 数据类型 | 长度 | 小数位 | 允许空值 | 主键 | 默认值 | 说明 |
| 1 | comment_id | int | 10 | 0 | N | Y | 评论ID: | |
| 2 | user_id | int | 10 | 0 | N | N | 0 | 评论人ID: |
| 3 | reply_to_id | int | 10 | 0 | N | N | 0 | 回复评论ID:空为0 |
| 4 | content | longtext | 2147483647 | 0 | Y | N | 内容: | |
| 5 | nickname | varchar | 255 | 0 | Y | N | 昵称: | |
| 6 | avatar | varchar | 255 | 0 | Y | N | 头像地址:[0,255] | |
| 7 | create_time | timestamp | 19 | 0 | N | N | CURRENT_TIMESTAMP | 创建时间: |
| 8 | update_time | timestamp | 19 | 0 | N | N | CURRENT_TIMESTAMP | 更新时间: |
| 9 | source_table | varchar | 255 | 0 | Y | N | 来源表: | |
| 10 | source_field | varchar | 255 | 0 | Y | N | 来源字段: | |
| 11 | source_id | int | 10 | 0 | N | N | 0 | 来源ID: |
表forum (论坛)
| 编号 | 名称 | 数据类型 | 长度 | 小数位 | 允许空值 | 主键 | 默认值 | 说明 |
| 1 | forum_id | mediumint | 8 | 0 | N | Y | 论坛id | |
| 2 | display | smallint | 5 | 0 | N | N | 100 | 排序 |
| 3 | user_id | mediumint | 8 | 0 | N | N | 0 | 用户ID |
| 4 | nickname | varchar | 16 | 0 | Y | N | 昵称:[0,16] | |
| 5 | praise_len | int | 10 | 0 | Y | N | 0 | 点赞数 |
| 6 | hits | int | 10 | 0 | N | N | 0 | 访问数 |
| 7 | title | varchar | 125 | 0 | N | N | 标题 | |
| 8 | keywords | varchar | 125 | 0 | Y | N | 关键词 | |
| 9 | description | varchar | 255 | 0 | Y | N | 描述 | |
| 10 | url | varchar | 255 | 0 | Y | N | 来源地址 | |
| 11 | tag | varchar | 255 | 0 | Y | N | 标签 | |
| 12 | img | text | 65535 | 0 | Y | N | 封面图 | |
| 13 | content | longtext | 2147483647 | 0 | Y | N | 正文 | |
| 14 | create_time | timestamp | 19 | 0 | N | N | CURRENT_TIMESTAMP | 创建时间: |
| 15 | update_time | timestamp | 19 | 0 | N | N | CURRENT_TIMESTAMP | 更新时间: |
| 16 | avatar | varchar | 255 | 0 | Y | N | 发帖人头像: | |
| 17 | type | varchar | 64 | 0 | N | N | 0 | 论坛分类:[0,1000]用来搜索指定类型的论坛帖 |
表forum_type (论坛分类)
| 编号 | 名称 | 数据类型 | 长度 | 小数位 | 允许空值 | 主键 | 默认值 | 说明 |
| 1 | type_id | smallint | 5 | 0 | N | Y | 分类ID:[0,10000] | |
| 2 | name | varchar | 16 | 0 | N | N | 分类名称:[2,16] | |
| 3 | description | varchar | 255 | 0 | Y | N | 描述:[0,255]描述该分类的作用 | |
| 4 | url | varchar | 255 | 0 | Y | N | 外链地址:[0,255]如果该分类是跳转到其他网站的情况下,就在该URL上设置 | |
| 5 | father_id | smallint | 5 | 0 | N | N | 0 | 上级分类ID:[0,32767] |
| 6 | icon | varchar | 255 | 0 | Y | N | 分类图标: | |
| 7 | create_time | timestamp | 19 | 0 | N | N | CURRENT_TIMESTAMP | 创建时间: |
| 8 | update_time | timestamp | 19 | 0 | N | N | CURRENT_TIMESTAMP | 更新时间: |
表goods (商品信息)
| 编号 | 名称 | 数据类型 | 长度 | 小数位 | 允许空值 | 主键 | 默认值 | 说明 |
| 1 | goods_id | mediumint | 8 | 0 | N | Y | 产品id:[0,8388607] | |
| 2 | title | varchar | 125 | 0 | Y | N | 标题:[0,125]用于产品和html的<title>标签中 | |
| 3 | img | text | 65535 | 0 | Y | N | 封面图:用于显示于产品列表页 | |
| 4 | description | varchar | 255 | 0 | Y | N | 描述:[0,255]用于产品规格描述 | |
| 5 | price_ago | double | 8 | 2 | N | N | 0.00 | 原价:[1] |
| 6 | price | double | 8 | 2 | N | N | 0.00 | 卖价:[1] |
| 7 | sales | int | 10 | 0 | N | N | 0 | 销量:[0,1000000000] |
| 8 | inventory | int | 10 | 0 | N | N | 0 | 商品库存 |
| 9 | type | varchar | 64 | 0 | N | N | 商品分类: | |
| 10 | hits | int | 10 | 0 | N | N | 0 | 点击量:[0,1000000000]访问这篇产品的人次 |
| 11 | content | longtext | 2147483647 | 0 | Y | N | 正文:产品的主体内容 | |
| 12 | img_1 | text | 65535 | 0 | Y | N | 主图1: | |
| 13 | img_2 | text | 65535 | 0 | Y | N | 主图2: | |
| 14 | img_3 | text | 65535 | 0 | Y | N | 主图3: | |
| 15 | img_4 | text | 65535 | 0 | Y | N | 主图4: | |
| 16 | img_5 | text | 65535 | 0 | Y | N | 主图5: | |
| 17 | create_time | timestamp | 19 | 0 | N | N | CURRENT_TIMESTAMP | 创建时间: |
| 18 | update_time | timestamp | 19 | 0 | N | N | CURRENT_TIMESTAMP | 更新时间: |
| 19 | customize_field | text | 65535 | 0 | Y | N | 自定义字段 | |
| 20 | source_table | varchar | 255 | 0 | Y | N | 来源表: | |
| 21 | source_field | varchar | 255 | 0 | Y | N | 来源字段: | |
| 22 | source_id | int | 10 | 0 | N | N | 0 | 来源ID: |
| 23 | user_id | int | 10 | 0 | Y | N | 0 | 添加人 |
表goods_type (商品类型)
| 编号 | 名称 | 数据类型 | 长度 | 小数位 | 允许空值 | 主键 | 默认值 | 说明 |
| 1 | type_id | int | 10 | 0 | N | Y | 商品分类ID: | |
| 2 | father_id | smallint | 5 | 0 | N | N | 0 | 上级分类ID:[0,32767] |
| 3 | name | varchar | 255 | 0 | Y | N | 商品名称: | |
| 4 | desc | varchar | 255 | 0 | Y | N | 描述: | |
| 5 | icon | varchar | 255 | 0 | Y | N | 图标: | |
| 6 | source_table | varchar | 255 | 0 | Y | N | 来源表: | |
| 7 | source_field | varchar | 255 | 0 | Y | N | 来源字段: | |
| 8 | create_time | timestamp | 19 | 0 | N | N | CURRENT_TIMESTAMP | 创建时间: |
| 9 | update_time | timestamp | 19 | 0 | N | N | CURRENT_TIMESTAMP | 更新时间: |
表hits (用户点击)
| 编号 | 名称 | 数据类型 | 长度 | 小数位 | 允许空值 | 主键 | 默认值 | 说明 |
| 1 | hits_id | int | 10 | 0 | N | Y | 点赞ID: | |
| 2 | user_id | int | 10 | 0 | N | N | 0 | 点赞人: |
| 3 | create_time | timestamp | 19 | 0 | N | N | CURRENT_TIMESTAMP | 创建时间: |
| 4 | update_time | timestamp | 19 | 0 | N | N | CURRENT_TIMESTAMP | 更新时间: |
| 5 | source_table | varchar | 255 | 0 | Y | N | 来源表: | |
| 6 | source_field | varchar | 255 | 0 | Y | N | 来源字段: | |
| 7 | source_id | int | 10 | 0 | N | N | 0 | 来源ID: |
表hotel_information (酒店信息)
| 编号 | 名称 | 数据类型 | 长度 | 小数位 | 允许空值 | 主键 | 默认值 | 说明 |
| 1 | hotel_information_id | int | 10 | 0 | N | Y | 酒店信息ID | |
| 2 | hotel_no | varchar | 64 | 0 | Y | N | 酒店编号 | |
| 3 | hotel_name | varchar | 64 | 0 | Y | N | 酒店名称 | |
| 4 | attraction_name | varchar | 64 | 0 | Y | N | 景点名称 | |
| 5 | accommodation_price | int | 10 | 0 | Y | N | 0 | 住宿价格 |
| 6 | description_details | text | 65535 | 0 | Y | N | 说明详情 | |
| 7 | hotel_cover | varchar | 255 | 0 | Y | N | 酒店封面 | |
| 8 | hits | int | 10 | 0 | N | N | 0 | 点击数 |
| 9 | praise_len | int | 10 | 0 | N | N | 0 | 点赞数 |
| 10 | recommend | int | 10 | 0 | N | N | 0 | 智能推荐 |
| 11 | create_time | datetime | 19 | 0 | N | N | CURRENT_TIMESTAMP | 创建时间 |
| 12 | update_time | timestamp | 19 | 0 | N | N | CURRENT_TIMESTAMP | 更新时间 |
表hotel_reservation (酒店预定)
| 编号 | 名称 | 数据类型 | 长度 | 小数位 | 允许空值 | 主键 | 默认值 | 说明 |
| 1 | hotel_reservation_id | int | 10 | 0 | N | Y | 酒店预定ID | |
| 2 | hotel_no | varchar | 64 | 0 | Y | N | 酒店编号 | |
| 3 | hotel_name | varchar | 64 | 0 | Y | N | 酒店名称 | |
| 4 | attraction_name | varchar | 64 | 0 | Y | N | 景点名称 | |
| 5 | accommodation_price | varchar | 64 | 0 | Y | N | 住宿价格 | |
| 6 | scheduled_time | date | 10 | 0 | Y | N | 预定时间 | |
| 7 | scheduled_duration | varchar | 64 | 0 | Y | N | 预定时长 | |
| 8 | reservation_telephone | varchar | 64 | 0 | Y | N | 预定电话 | |
| 9 | reservation_description | text | 65535 | 0 | Y | N | 预定说明 | |
| 10 | ordinary_users | int | 10 | 0 | Y | N | 0 | 普通用户 |
| 11 | examine_state | varchar | 16 | 0 | N | N | 未审核 | 审核状态 |
| 12 | examine_reply | varchar | 16 | 0 | Y | N | 审核回复 | |
| 13 | recommend | int | 10 | 0 | N | N | 0 | 智能推荐 |
| 14 | create_time | datetime | 19 | 0 | N | N | CURRENT_TIMESTAMP | 创建时间 |
| 15 | update_time | timestamp | 19 | 0 | N | N | CURRENT_TIMESTAMP | 更新时间 |
表notice (公告)
| 编号 | 名称 | 数据类型 | 长度 | 小数位 | 允许空值 | 主键 | 默认值 | 说明 |
| 1 | notice_id | mediumint | 8 | 0 | N | Y | 公告id: | |
| 2 | title | varchar | 125 | 0 | N | N | 标题: | |
| 3 | content | longtext | 2147483647 | 0 | Y | N | 正文: | |
| 4 | create_time | timestamp | 19 | 0 | N | N | CURRENT_TIMESTAMP | 创建时间: |
| 5 | update_time | timestamp | 19 | 0 | N | N | CURRENT_TIMESTAMP | 更新时间: |
表order (订单)
| 编号 | 名称 | 数据类型 | 长度 | 小数位 | 允许空值 | 主键 | 默认值 | 说明 |
| 1 | order_id | int | 10 | 0 | N | Y | 订单ID: | |
| 2 | order_number | varchar | 64 | 0 | Y | N | 订单号: | |
| 3 | goods_id | mediumint | 8 | 0 | N | N | 商品id:[0,8388607] | |
| 4 | title | varchar | 32 | 0 | Y | N | 商品标题: | |
| 5 | img | varchar | 255 | 0 | Y | N | 商品图片: | |
| 6 | price | double | 10 | 2 | N | N | 0.00 | 价格: |
| 7 | price_ago | double | 10 | 2 | N | N | 0.00 | 原价: |
| 8 | num | int | 10 | 0 | N | N | 1 | 数量: |
| 9 | price_count | double | 8 | 2 | N | N | 0.00 | 总价: |
| 10 | norms | varchar | 255 | 0 | Y | N | 规格: | |
| 11 | type | varchar | 64 | 0 | N | N | 未分类 | 商品分类: |
| 12 | contact_name | varchar | 32 | 0 | Y | N | 联系人姓名: | |
| 13 | contact_email | varchar | 125 | 0 | Y | N | 联系人邮箱: | |
| 14 | contact_phone | varchar | 11 | 0 | Y | N | 联系人手机: | |
| 15 | contact_address | varchar | 255 | 0 | Y | N | 收件地址: | |
| 16 | postal_code | varchar | 9 | 0 | Y | N | 邮政编码: | |
| 17 | user_id | int | 10 | 0 | N | N | 0 | 买家ID: |
| 18 | merchant_id | mediumint | 8 | 0 | N | N | 0 | 商家ID: |
| 19 | create_time | timestamp | 19 | 0 | N | N | CURRENT_TIMESTAMP | 创建时间: |
| 20 | update_time | timestamp | 19 | 0 | N | N | CURRENT_TIMESTAMP | 更新时间: |
| 21 | description | varchar | 255 | 0 | Y | N | 描述:[0,255]用于产品规格描述 | |
| 22 | state | varchar | 16 | 0 | N | N | 待付款 | 订单状态:待付款,待发货,待签收,已签收,待退款,已退款,已拒绝,已完成 |
表ordinary_users (普通用户)
| 编号 | 名称 | 数据类型 | 长度 | 小数位 | 允许空值 | 主键 | 默认值 | 说明 |
| 1 | ordinary_users_id | int | 10 | 0 | N | Y | 普通用户ID | |
| 2 | user_name | varchar | 64 | 0 | Y | N | 用户姓名 | |
| 3 | user_gender | varchar | 64 | 0 | Y | N | 用户性别 | |
| 4 | user_age | varchar | 64 | 0 | Y | N | 用户年龄 | |
| 5 | examine_state | varchar | 16 | 0 | N | N | 已通过 | 审核状态 |
| 6 | recommend | int | 10 | 0 | N | N | 0 | 智能推荐 |
| 7 | user_id | int | 10 | 0 | N | N | 0 | 用户ID |
| 8 | create_time | datetime | 19 | 0 | N | N | CURRENT_TIMESTAMP | 创建时间 |
| 9 | update_time | timestamp | 19 | 0 | N | N | CURRENT_TIMESTAMP | 更新时间 |
表praise (点赞)
| 编号 | 名称 | 数据类型 | 长度 | 小数位 | 允许空值 | 主键 | 默认值 | 说明 |
| 1 | praise_id | int | 10 | 0 | N | Y | 点赞ID: | |
| 2 | user_id | int | 10 | 0 | N | N | 0 | 点赞人: |
| 3 | create_time | timestamp | 19 | 0 | N | N | CURRENT_TIMESTAMP | 创建时间: |
| 4 | update_time | timestamp | 19 | 0 | N | N | CURRENT_TIMESTAMP | 更新时间: |
| 5 | source_table | varchar | 255 | 0 | Y | N | 来源表: | |
| 6 | source_field | varchar | 255 | 0 | Y | N | 来源字段: | |
| 7 | source_id | int | 10 | 0 | N | N | 0 | 来源ID: |
| 8 | status | bit | 1 | 0 | N | N | 1 | 点赞状态:1为点赞,0已取消 |
表slides (轮播图)
| 编号 | 名称 | 数据类型 | 长度 | 小数位 | 允许空值 | 主键 | 默认值 | 说明 |
| 1 | slides_id | int | 10 | 0 | N | Y | 轮播图ID: | |
| 2 | title | varchar | 64 | 0 | Y | N | 标题: | |
| 3 | content | varchar | 255 | 0 | Y | N | 内容: | |
| 4 | url | varchar | 255 | 0 | Y | N | 链接: | |
| 5 | img | varchar | 255 | 0 | Y | N | 轮播图: | |
| 6 | hits | int | 10 | 0 | N | N | 0 | 点击量: |
| 7 | create_time | timestamp | 19 | 0 | N | N | CURRENT_TIMESTAMP | 创建时间: |
| 8 | update_time | timestamp | 19 | 0 | N | N | CURRENT_TIMESTAMP | 更新时间: |
表specialty_mall (特产商城)
| 编号 | 名称 | 数据类型 | 长度 | 小数位 | 允许空值 | 主键 | 默认值 | 说明 |
| 1 | specialty_mall_id | int | 10 | 0 | N | Y | 特产商城ID | |
| 2 | notes | varchar | 64 | 0 | Y | N | 备注说明 | |
| 3 | recommend | int | 10 | 0 | N | N | 0 | 智能推荐 |
| 4 | cart_title | varchar | 125 | 0 | Y | N | 标题:[0,125]用于产品html的标签中 | |
| 5 | cart_img | text | 65535 | 0 | Y | N | 封面图:用于显示于产品列表页 | |
| 6 | cart_description | varchar | 255 | 0 | Y | N | 描述:[0,255]用于产品规格描述 | |
| 7 | cart_price_ago | double | 8 | 2 | N | N | 0.00 | 原价:[1] |
| 8 | cart_price | double | 8 | 2 | N | N | 0.00 | 卖价:[1] |
| 9 | cart_inventory | int | 10 | 0 | N | N | 0 | 商品库存 |
| 10 | cart_type | varchar | 64 | 0 | N | N | 未分类 | 商品分类: |
| 11 | cart_content | longtext | 2147483647 | 0 | Y | N | 正文:产品的主体内容 | |
| 12 | cart_img_1 | text | 65535 | 0 | Y | N | 主图1: | |
| 13 | cart_img_2 | text | 65535 | 0 | Y | N | 主图2: | |
| 14 | cart_img_3 | text | 65535 | 0 | Y | N | 主图3: | |
| 15 | cart_img_4 | text | 65535 | 0 | Y | N | 主图4: | |
| 16 | cart_img_5 | text | 65535 | 0 | Y | N | 主图5: | |
| 17 | create_time | datetime | 19 | 0 | N | N | CURRENT_TIMESTAMP | 创建时间 |
| 18 | update_time | timestamp | 19 | 0 | N | N | CURRENT_TIMESTAMP | 更新时间 |
表ticket_reservation (门票预定)
| 编号 | 名称 | 数据类型 | 长度 | 小数位 | 允许空值 | 主键 | 默认值 | 说明 |
| 1 | ticket_reservation_id | int | 10 | 0 | N | Y | 门票预定ID | |
| 2 | attraction_no | varchar | 64 | 0 | Y | N | 景点编号 | |
| 3 | attraction_name | varchar | 64 | 0 | Y | N | 景点名称 | |
| 4 | attraction_address | varchar | 64 | 0 | Y | N | 景点地址 | |
| 5 | ticket_price | varchar | 64 | 0 | Y | N | 门票价格 | |
| 6 | number_of_reserved_sheets | int | 10 | 0 | Y | N | 0 | 预定张数 |
| 7 | total_tickets | varchar | 64 | 0 | Y | N | 门票总额 | |
| 8 | reservation_telephone | varchar | 64 | 0 | Y | N | 预定电话 | |
| 9 | scheduled_time | date | 10 | 0 | Y | N | 预定时间 | |
| 10 | reservation_description | text | 65535 | 0 | Y | N | 预定说明 | |
| 11 | ordinary_users | int | 10 | 0 | Y | N | 0 | 普通用户 |
| 12 | examine_state | varchar | 16 | 0 | N | N | 未审核 | 审核状态 |
| 13 | examine_reply | varchar | 16 | 0 | Y | N | 审核回复 | |
| 14 | recommend | int | 10 | 0 | N | N | 0 | 智能推荐 |
| 15 | create_time | datetime | 19 | 0 | N | N | CURRENT_TIMESTAMP | 创建时间 |
| 16 | update_time | timestamp | 19 | 0 | N | N | CURRENT_TIMESTAMP | 更新时间 |
表upload (文件上传)
| 编号 | 名称 | 数据类型 | 长度 | 小数位 | 允许空值 | 主键 | 默认值 | 说明 |
| 1 | upload_id | int | 10 | 0 | N | Y | 上传ID | |
| 2 | name | varchar | 64 | 0 | Y | N | 文件名 | |
| 3 | path | varchar | 255 | 0 | Y | N | 访问路径 | |
| 4 | file | varchar | 255 | 0 | Y | N | 文件路径 | |
| 5 | display | varchar | 255 | 0 | Y | N | 显示顺序 | |
| 6 | father_id | int | 10 | 0 | Y | N | 0 | 父级ID |
| 7 | dir | varchar | 255 | 0 | Y | N | 文件夹 | |
| 8 | type | varchar | 32 | 0 | Y | N | 文件类型 |
表user (用户账户:用于保存用户登录信息)
| 编号 | 名称 | 数据类型 | 长度 | 小数位 | 允许空值 | 主键 | 默认值 | 说明 |
| 1 | user_id | mediumint | 8 | 0 | N | Y | 用户ID:[0,8388607]用户获取其他与用户相关的数据 | |
| 2 | state | smallint | 5 | 0 | N | N | 1 | 账户状态:[0,10](1可用|2异常|3已冻结|4已注销) |
| 3 | user_group | varchar | 32 | 0 | Y | N | 所在用户组:[0,32767]决定用户身份和权限 | |
| 4 | login_time | timestamp | 19 | 0 | N | N | CURRENT_TIMESTAMP | 上次登录时间: |
| 5 | phone | varchar | 11 | 0 | Y | N | 手机号码:[0,11]用户的手机号码,用于找回密码时或登录时 | |
| 6 | phone_state | smallint | 5 | 0 | N | N | 0 | 手机认证:[0,1](0未认证|1审核中|2已认证) |
| 7 | username | varchar | 16 | 0 | N | N | 用户名:[0,16]用户登录时所用的账户名称 | |
| 8 | nickname | varchar | 16 | 0 | Y | N | 昵称:[0,16] | |
| 9 | password | varchar | 64 | 0 | N | N | 密码:[0,32]用户登录所需的密码,由6-16位数字或英文组成 | |
| 10 | | varchar | 64 | 0 | Y | N | 邮箱:[0,64]用户的邮箱,用于找回密码时或登录时 | |
| 11 | email_state | smallint | 5 | 0 | N | N | 0 | 邮箱认证:[0,1](0未认证|1审核中|2已认证) |
| 12 | avatar | varchar | 255 | 0 | Y | N | 头像地址:[0,255] | |
| 13 | create_time | timestamp | 19 | 0 | N | N | CURRENT_TIMESTAMP | 创建时间: |
表user_group (用户组:用于用户前端身份和鉴权)
| 编号 | 名称 | 数据类型 | 长度 | 小数位 | 允许空值 | 主键 | 默认值 | 说明 |
| 1 | group_id | mediumint | 8 | 0 | N | Y | 用户组ID:[0,8388607] | |
| 2 | display | smallint | 5 | 0 | N | N | 100 | 显示顺序:[0,1000] |
| 3 | name | varchar | 16 | 0 | N | N | 名称:[0,16] | |
| 4 | description | varchar | 255 | 0 | Y | N | 描述:[0,255]描述该用户组的特点或权限范围 | |
| 5 | source_table | varchar | 255 | 0 | Y | N | 来源表: | |
| 6 | source_field | varchar | 255 | 0 | Y | N | 来源字段: | |
| 7 | source_id | int | 10 | 0 | N | N | 0 | 来源ID: |
| 8 | register | smallint | 5 | 0 | Y | N | 0 | 注册位置: |
| 9 | create_time | timestamp | 19 | 0 | N | N | CURRENT_TIMESTAMP | 创建时间: |
| 10 | update_time | timestamp | 19 | 0 | N | N | CURRENT_TIMESTAMP | 更新时间: |
旅游景点推荐系统设计,在旅游景点推荐系统首页可以查看首页、游记文章、在线公告、旅游资讯、特产商城、个人账户、个人收藏、地址管理、购物管理、订单管理、景点信息、酒店信息、个人中心等内容,如图5-1所示。

图5-1系统首页界面图
用户注册,在用户注册页面通过填写账户、密码、确认密码、邮箱、身份、用户性别、用户姓名、用户年龄等信息完成用户注册,如图5-2所示。

图5-2用户注册界面图
酒店信息列表,在酒店信息列表页面可以查看封面、酒店编号、酒店名称、景点名称等信息,如图5-3所示。

图5-3景点信息界面图
游记文章,在游记文章页面可以查看封面图、标题、分类、标签等信息,如图5-4所示。

图5-4游记文章界面图
管理员登录,管理员通过输入用户名、密码、角色等信息即可进行系统登录,如图5-6所示。

图5-6管理员登录界面图
管理员登录进入旅游景点推荐系统设计可以查看首页、网站管理(轮播图、在线公告)、人员管理(管理员、普通用户)、内容管理(游记文章、文章分类、旅游资讯、资讯分类)、购物管理(特产商城、分类列表、订单列表)、模块管理(景点信息、酒店信息、门票预定、酒店预定)、个人管理(个人信息、修改密码)等内容,如图5-7所示。

图5-7管理员功能界面图
用户管理,在用户管理页面可以查看昵称、用户名、用户姓名、用户性别、用户年龄等信息,并可根据需要进行修改或删除等操作,如图5-8所示。

图5-8用户管理界面图
轮播图管理,在轮播图管理页面可以查看轮播图、标题等内容,并可根据需要进行修改或删除等操作,如图5-9所示。

图5-9轮播图管理界面图
文章分类管理,在文章分类管理页面可以查看类型名称、描述等信息,并可根据需要进行修改或删除等操作,如图5-10所示。

图5-10文章分类管理界面图
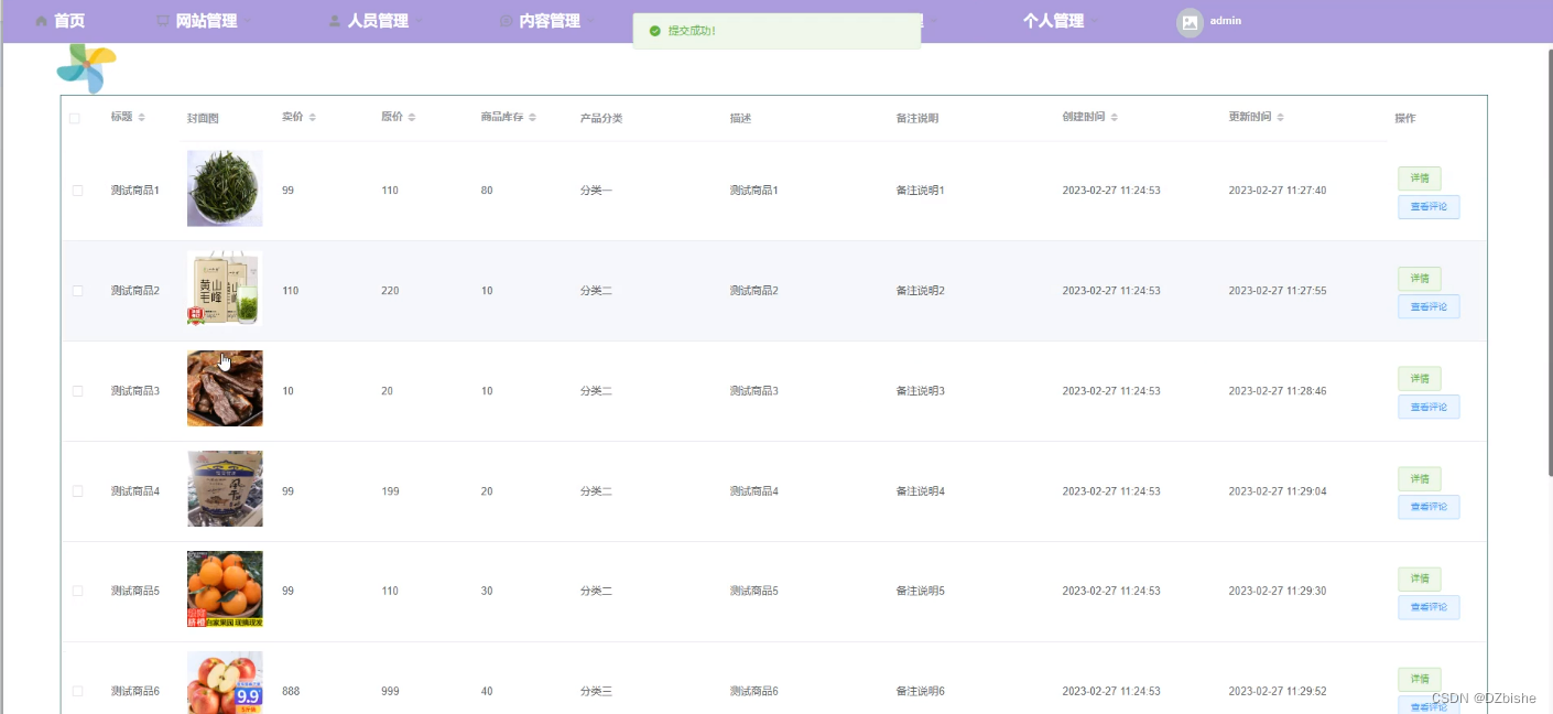
特产商城管理,在特产商城管理页面可以查看标题、封面图、卖价、原价、商品库存、产品分类、描述、备注说明等信息,并可根据需要进行查看评论、修改或删除等操作,如图5-11所示。

图5-11特产商城管理界面图
景点信息管理,在景点信息管理页面可以查看景点编号、门票价格、景点名称、景点简介、景点地址、景点封面等信息,并可根据需要进行修改或删除操作,如图5- 12所示。

图5-12景点信息管理界面图
个人信息管理,在个人信息管理页面可以查看头像、用户名、用户组、状态、昵称、手机号码、邮箱等信息,如图5- 13所示。

图5-13个人信息管理界面图
用户登录进入旅游景点推荐系统可以查看首页、模块管理(门票预定、酒店预定)、个人管理(个人信息、修改密码)管理等内容,如图5-14所示。

图5-14用户后台功能界面图
门票预订管理,在门票预订管理页面可以查看景点编号、景点名称、景点地址、门票价格、预定张数、门票总额、预定电话、预定时间、预定说明等信息,根据需要进行添加、删除操作,如图5-15所示。

图5-15门票预订界面图
酒店预定管理,在酒店预定管理页面可以查看酒店编号、酒店名称、景点名称、住宿价格、预定时间、预定时长、预定电话、预定说明、普通用户等信息,根据需要进行删除操作,如图5-16所示。
图5-16酒店预定管理界面图
6 系统测试
程序设计不能保证没有错误,这是一个开发过程,在错误或错误的过程中都是难以避免的。虽然这是不可避免的,但我们不能使这些错误始终存在于系统中,错误可能会造成无法估量的后果,如系统崩溃,安全信息泄露,系统无法正常启动等,为了避免这些问题,我们需要测试程序,再测试过程中发现问题,并纠正它们,从而使系统更长时间稳定成熟。
本章的作用是发现这些问题,并对其进行修改,虽然耗时费力,但对于长期使用而言是非常重要和必要系统的开发。
软件在设计后必须进行测试,调试过程中使用的方法是软件测试方法。在开发新软件时,系统测试是检查软件是否合格的关键步骤,以及是否符合设计目标的参考。测试主要是查看软件中数据的准确性,正确的操作与否,以及操作的结果,还有哪些方面需要改进。
旅游景点推荐系统的实现,对于系统中功能模块的实现及操作都必须通过测试进行来评判系统是否可以准确的实现。在系统正式上传使用之前必须做的一步就是系统测试,对于测试发现的错误及时修改处理,保证系统准确无误的供给用户使用。
在对旅游景点推荐系统进行测试的时候在找到问题的情况下必须在第一时间找到解决问题的办法,不要存在侥幸的心理,这样才能让旅游景点推荐系统开发的质量可以过关,并且开发的周期会大大缩短,还有就是在测试时,不要出现重复性的错误,遇到一个错误问题,要将整个旅游景点推荐系统开发所牵扯的该问题都必须一一解决,提高旅游景点推荐系统的安全性、稳定性。
白盒测试与黑盒测试是测试中比较常用的两种方法。
①结构测试俗称白盒测试:这种测试是在对程序的处理过程与结构都有详尽谅解的前提下,顺从程序内部的逻辑而完成的系统测试,以确定系统中所有的通路都能够遵照设计要求正常工作,不出现任何偏差。
②功能测试又成黑盒测试:主要是针对程序功能能够按照设计正常实现的一种检测,在程序接口处进行,检测程序手法数据是否正常,与外部信息的交换是否完整。
经过对一系列测试结果的有效分析,本平台开发系统符合用户的要求和需求。所有的基本功能相对齐全,操作起来简单方便,测试系统性能良好,作为大众化系统使用是比较值得推广宣传的。
此时项目已经完成,即使实施的时间不是很长,但是在这个过程中需要准备很长的一段时间去对系统设计开发所实际用到的技术进行学习和巩固。在学习的过程中,我逐渐认识到了我自身存在的一些不足。对于一些控制是必要的应用技能,能够理解,整个过程中仅仅是掌握了常用的性能和控制方法,我觉得还是相对来说挺容易的。从该系统中,系统的分析和设计的调查数据,已经经历了几个月,并且努力了几个月,该系统现在已经完成。很显然,该系统仍有很多不成熟的地方,在系统设计过程中有许多技术缺陷存在。在设计的过程中也涉及到了很多自己无法解决的问题,主要通过找专业的网站和论坛来解决这些问题,对于圆满完成我的毕业设计,他们也贡献了很大一部分力量。
系统的开发环境和配置都是可以自行安装的,系统使用django开发工具,使用比较成熟的Mysql数据库进行对系统前台及后台的数据交互,根据技术语言结合需求对数据库进行修改维护,可以使得系统运行更具有稳定性和安全性,从而完成实现系统的开发。
在设计旅游景点推荐系统的过程中还遇到了一个棘手的问题,那就是自己的英语水平还有待提高,很多关于网站技术开发的资料文献都是英文版的,关键词语以及技术性词汇不能很好的理解。只有在借助翻译软件的实时性翻译功能的辅助下才勉强看懂。显然英语水平的高低直接影响到系统的开发过程。
回顾毕业设计的整个过程,既付出了努力与汗水也收获了很多难以忘怀的美好经历。虽然在系统开发过程中经历了各种各样的困难,自己也在不断研究与探索,可是系统的实现仍有许多不足之处。但是经过系统编程工作的学习让我有了更多的信心,我相信在未来的路上,我会走的更好。
毕业设计结束的同时也意味着四年的大学生活就要结束了。旅游景点推荐系统的完成以及如何在系统运行过程中实现的更好,这其中付出了很大的努力,这段时光将会终身难忘。
在毕业设计的这一段时间里,离不开导师的细心指导,还有同学们的热情帮助,有时候几个同学在一起讨论系统中的某个功能模块如何实现,如何实现的更好,或是问题没得到有效的解决,就会没有心思做其他的事情,让我们对学习充满了动力。
在毕业设计即将结束之时,首先要感谢我的指导老师,谢谢您在毕业设计和毕业论文中对我的指导。在您的细心指导下我才能快速的掌握系统的相关功能,在您的大力帮助下我才能将课本上的知识与自己的项目结合,真正的做到学以致用。感谢您经常牺牲自己的休息时间,利用其丰富的教学和项目经验对我进行指导。 课堂上,您教会我们如何学习、教会我们新的知识,在课下,您又像朋友一样亲切,教会了我很多道理,让我意识到先做人、后做事。感谢所有教过我的老师,为我倾注了大量的心血,正是你们的谆谆教诲、严谨教学才使我能顺利的完成学业,再此向你们表示深深的感谢。感谢大学里教过我的每一位老师,真心祝福您们。
在这里还得感谢我的战友们,也就是同学们对我的大力支持及帮助。正是因为有你们的不断帮助、鼓励,熬夜通宵,不停的调试、测试程序,给我带来了极大的动力,才能最终完成网站的运行。我们在一起交流、谈论的时光,都将是我们在通往未来道路上的宝贵财富。我要深深地感谢你们!
毕业在即,在今后的工作和生活中,我会铭记师长们的教诲、同学们的帮助,继续不懈努力和追求,来报答所有支持和帮助过我的人!
最后,我要向牺牲了休息时间来对本文进行审阅,评议和参与论文答辩的各位老师表示深深的感谢。在此,衷心的谢谢您们!
[1]Matthew Tyson. Error tracking with Sentry, Python, and Django[J]. InfoWorld.com,2022.
[2]王子睿,肖忠林,常皓淇,李垚,甘永莹.基于Django的智能货梯系统设计[J].信息与电脑(理论版),2022,34(19):26-28.
[3]华厚强,康佳春.基于Python的校园交易平台设计[J].现代计算机,2022,28(15):105-111.
[4]林彬,杨彬彬,孙芳.基于Django框架的高校就业信息可视化平台的设计与实现[J].辽宁师范大学学报(自然科学版),2022,45(02):201-208.
[5]Apostol Ricardo. Revenge/Porn: Django Unchained, Terence's Eunuchus, and the Role of Roman Slavery in the American Imagination[J]. Arion: A Journal of the Humanities and the Classics,2022,23(1).
[6]Paul Krill. Django 4.0 adds Redis database caching[J]. InfoWorld.com,2021.
[7]Li Hui chao,Shen Shun fa. Construction of College Students’ Physical Health Data Sharing System Based on Django Framework[J]. Journal of Sensors,2021,2021.
[8]Lie Siv B. Placing Django: Narratives of heritage and race in a Parisian exhibition[J]. French Cultural Studies,2021,32(4).
[9]陈舟劢. 贵州旅游景点智能推荐系统的设计与实现[D].贵州大学,2021.DOI:10.27047/d.cnki.ggudu.2021.000599.
[10]梁存桂. 基于Spark云计算平台的旅游景点推荐算法优化研究[D].桂林理工大学,2021.DOI:10.27050/d.cnki.gglgc.2021.000351.
[11]左华煜. 个性化旅游推荐方法研究与应用[D].江苏科技大学,2021.DOI:10.27171/d.cnki.ghdcc.2021.000424.
[12]王萍,王明松.基于Hadoop的旅游景点推荐系统的设计与实现[J].信息与电脑(理论版),2020,32(04):86-87.
[13]薛东.大数据技术在旅游推荐系统中的应用[J].电子技术与软件工程,2018(18):146.
[14]王少兵. 基于在线评论的旅游推荐研究[D].福州大学,2018.
[15]段道恒. 基于主题模型的个性化景点推荐系统研究与实现[D].海南大学,2018.
[16]张占昭.加权挖掘算法在智慧旅游景点推荐系统中的应用分析[J].数字技术与应用,2017(03):168+256.DOI:10.19695/j.cnki.cn12-1369.2017.03.092.
[17]徐旋旋. 个性化旅游景点推荐研究[D].天津理工大学,2017.
[18]林琬珍. 基于协同过滤技术的旅游景点推荐系统的设计与实现[D].辽宁大学,2016.
[19]肖政. 基于空间数据挖掘的个性化旅游景点推荐系统研究[D].华中师范大学,2016.
[20]麻风梅,高文.安康旅游景点推荐系统的设计与开发[J].安康学院学报,2015,27(03):116-119.DOI:10.16858/j.issn.1674-0092.2015.03.026.
请关注点赞+私信博主,免费领取项目源码
该博客围绕Django旅游景点推荐系统展开,系统采用Django框架、Python语言和MySQL数据库,分管理员和用户两部分,具备多种管理功能。介绍了开发环境、需求分析、系统设计等内容,还进行了系统测试,结果表明系统符合用户需求,功能齐全、操作简便。
865

被折叠的 条评论
为什么被折叠?



