文章目录
一、算法的效率
1.1 如何衡量一个算法的好坏
如何衡量一个算法的好坏呢?比如对于以下斐波那契数列:
long long Fib(int N)
{
if(N < 3)
return 1;
return Fib(N-1) + Fib(N-2);
}
- 这里的时间复杂度为:2^N,计算方法请看下文。
- 算法在编写成可执行程序后,运行时需要耗费时间资源和空间(内存)资源 。因此衡量一个算法的好坏,一般是从时间和空间两个维度来衡量的,即时间复杂度和空间复杂度。
1.2 算法的复杂度的概念
- 一般而言分析算法效率的方式有两种,即:时间效率和空间效率。时间效率也称为时间复杂度;空间效率也称为空间复杂度。
- 在计算机技术发展的几十年中,空间资源变得不是非常重要了,因此在一般的算法分析中,讨论的主要是时间复杂度,当然空间复杂度的分析也是如此。
- 时间复杂度主要衡量一个算法的运行快慢,而空间复杂度主要衡量一个算法运行所需要的额外空间。
二、大O的渐进表示法
- 大O符号是由德国数论学家保罗·巴赫曼(Paul Bachmann)在其1892年的著作《解析数论》(Analytische Zahlentheorie)首先引入的。
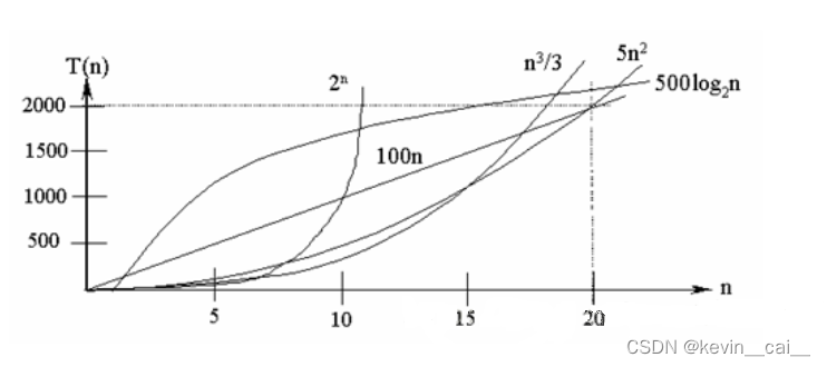
- “大O符号(Big Onotation)是用来描述函数渐进行为的数学符号”,假设原有的函数程序执行步为T(n),那么当T(n)=O(f(n))时,当且仅当存在正常数C和n0,使得T(n)≦C*f(n)对于所有n,n≧n0都成立。其中的f(n)这个函数用来描述原来的函数的数量级的渐进上界。使用大O符号时,用的O代表无穷大的渐进,它表示n趋近于无穷大时的一种情况。此时我们把O(f(n))称为算法的渐进时间复杂度,简称时间复杂度。时间复杂度的渐进上界表示如下图所示:
- 当问题规模即要处理的数据增长时, 基本操作要重复执行的次数必定也会增长, 那么我们关心地是这个执行次数以什么样的数量级增长。所谓数量级可以理解为增长率。这个所谓的数量级就称为算法的渐近时间复杂度(asymptotic time complexity), 简称为时间复杂度。
- 食用方法:
1.用常数1来取代运行时间中所有加法常数。
2.修改后的运行次数函数中,只保留最高阶项
3.如果最高阶项存在且不是1,则去除与这个项相乘的常数。
4.在实际中一般情况关注的是算法的最坏运行情况。
三、时间复杂度
2.1 时间复杂度的概念
- 概念:算法的时间复杂度是一个函数,它定性描述该算法的运行时间。这是一个代表算法输入值的字符串的长度的函数。时间复杂度常用大O符号表述(大O渐近表示法),不包括这个函数的低阶项和首项系数。使用这种方式时,时间复杂度可被称为是渐近的,亦即考察输入值大小趋近无穷时的情况。
- 一个算法所花费的时间与其中语句的执行次数成正比例,算法中的基本操作的执行次数,为算法的时间复杂度。
- 通俗的说,因为计算机的计算能力特别强,所以我们只需要对算法执行次数进行估算,然后再进行优化,就能有效提高算法的效率。我们只需要关心量级,而不用关心具体执行次数。
- 实例:
2.2常见时间复杂度计算举例
实例1:
void
文章介绍了衡量算法效率的两个重要指标——时间复杂度和空间复杂度,通过大O的渐进表示法进行分析。文中举例说明了如何计算常见算法的时间复杂度,如斐波那契数列,并探讨了不同算法在空间复杂度上的表现。此外,还提供了LeetCode中旋转数组问题的两种解法,强调了在解决编程问题时应考虑算法效率,通过权衡时间与空间来优化解决方案。






最低0.47元/天 解锁文章
546

被折叠的 条评论
为什么被折叠?



