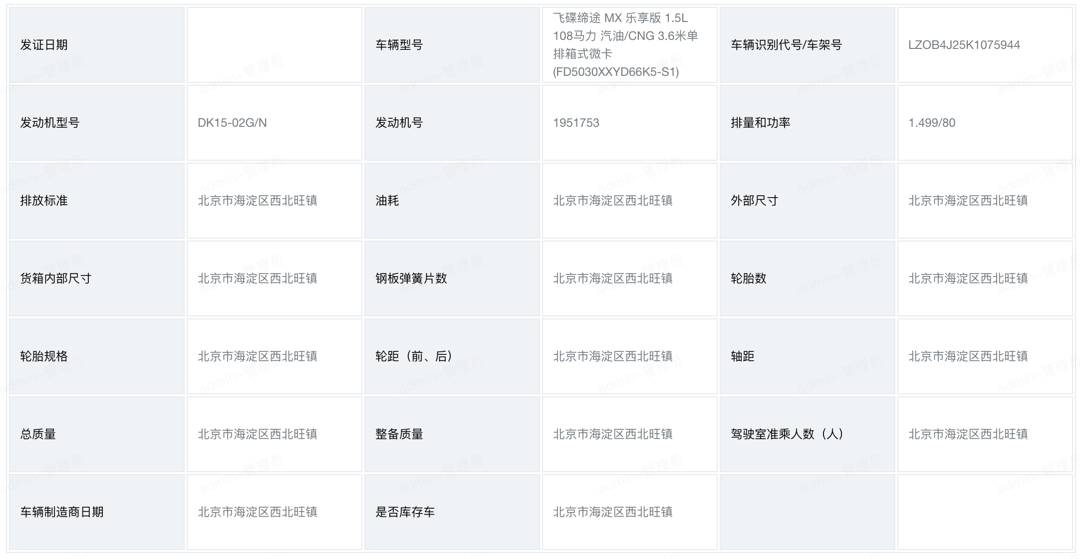
今天遇到一个问题,实现这样一个竖直的显示表头的表格,如下图。
vue实现代码如下:
构建tableComponent.vue组件:
<template>
<table class="mailTable" :style="styleObject" v-if="s_showByRow">
<tr v-for="index in rowCount">
<td class="column">{{tableData[index*3-3].key}}</td>
<td>{{tableData[index*3-3].value}}</td>
<td class="column">{{tableData[index*3-2] !== undefined ? tableData[index*3-2].key : ''}}</td>
<td>{{tableData[index*3-2] !== undefined ? tableData[index*3-2].value : ''}}</td>
<td class="column">{{tableData[index*3-1] !== undefined ? tableData[index*3-1].key : ''}}</td>
<td>{{tableData[index*3-1] !== undefined ? tableData[index*3-1].value : ''}}</td>
</tr>
</table>
<table class="mailTable" :style="styleObject" v-else>
<tr v-for="index in rowCount">
<td class="column">{{tableData[index-1].key}}</td>
<td>{{tableData[index-1].value}}</td>
<td class="column">{{tableData[rowCount/2+index-1] !== undefined ? tableData[rowCount/2+index-1].key : ''}}</td>
<td>{{tableData[rowCount/2+index-1] !== undefined ? tableData[rowCount/2+index-1].value : ''}}</td>
<td class="column">{{tableData[rowCount+index-1] !== undefined ? tableData[rowCount+index-1].key : ''}}</td>
<td>{{tableData[rowCount+index-1] !== undefined ? tableData[rowCount+index-1].value : ''}}</td>
</tr>
</table>
</template>
<script>
export default {
data() {
return {
styleObject: {},
s_showByRow: true,
};
},
props: ['tableData', 'tableStyle', 'showByRow'],
computed: {
rowCount: function() {
//设置为几列数据就除以几。通过td tr模拟表格
return Math.ceil(this.tableData.length/3);
}
},
created() {
this.styleObject = this.tableStyle;
if(this.showByRow !== undefined){
this.s_showByRow = this.showByRow;
}
},
}
</script>
<style>
.mailTable, .mailTable tr, .mailTable tr td{ border:1px solid #E6EAEE; }
.mailTable{ font-size: 10px; color: #71787E; width:100%; height:100%;}
.mailTable tr td{ border:1px solid #E6EAEE; width: 15%; height: 76px; box-sizing: border-box; padding: 0 10px; }
.mailTable tr td.column { background-color: #EFF3F6; color: #000000; }
</style>

引用如下:
<template>
<div>
<Card>
<Row>
<Col>
<div>
<mail-table :tableData="tableData"></mail-table>
</div>
</Col>
</Row>
</Card>
</div>
</template>
<script>
//引用存放的路径
import mailTable from '../loan-audit/tableComponent'
export default {
name: "loanAuditVin1",
//引入组件
components: {
mailTable,
},
data() {
return {
summaryVisible: false,
//数据tableData格式如下:
tableData: [
{key: '发证日期', value: ''},
{key: '车辆型号', value: '飞碟缔途 MX 乐享版 1.5L 108马力 汽油/CNG 3.6米单排箱式微卡(FD5030XXYD66K5-S1)'},
{key: '车辆识别代号/车架号', value: 'LZOB4J25K1075944'},
{key: '发动机型号', value: 'DK15-02G/N'},
{key: '发动机号', value: '1951753'},
{key: '排量和功率', value: '1.499/80'},
{key: '排放标准', value: '北京市海淀区西北旺镇'},
{key: '油耗', value: '北京市海淀区西北旺镇'},
{key: '外部尺寸', value: '北京市海淀区西北旺镇'},
{key: '货箱内部尺寸', value: '北京市海淀区西北旺镇'},
{key: '钢板弹簧片数', value: '北京市海淀区西北旺镇'},
{key: '轮胎数', value: '北京市海淀区西北旺镇'},
{key: '轮胎规格', value: '北京市海淀区西北旺镇'},
{key: '轮距(前、后)', value: '北京市海淀区西北旺镇'},
{key: '轴距', value: '北京市海淀区西北旺镇'},
{key: '总质量', value: '北京市海淀区西北旺镇'},
{key: '整备质量', value: '北京市海淀区西北旺镇'},
{key: '驾驶室准乘人数(人)', value: '北京市海淀区西北旺镇'},
{key: '车辆制造商日期', value: '北京市海淀区西北旺镇'},
{key: '是否库存车', value: '北京市海淀区西北旺镇'},
],
}
},
}
</script>
效果图如下:

本文介绍如何在Vue中创建一个特殊的表格,其表头以垂直方式展示。通过编写`tableComponent.vue`组件并进行引用,实现了预期的效果。
778

被折叠的 条评论
为什么被折叠?



