计算机毕设java银行基本业务管理系统q03vv9(配套有源码 程序 mysql数据库 论文)
本套源码可以在文本联xi,先看具体系统功能演示视频领取,可分享源码参考。
在当今数字化时代,银行的业务管理逐渐向智能化、高效化方向发展。传统的银行管理模式已难以满足日益增长的业务需求和客户期望,因此开发一套现代化的银行基本业务管理系统显得尤为重要。本文将详细介绍一个基于Java技术开发的银行基本业务管理系统,该系统采用B/S架构,结合MySQL数据库和Spring Boot框架,旨在为银行提供一个高效、动态且交互友好的管理平台。
-
用户管理:管理员可以对用户信息进行管理,包括查看、新增、修改和删除用户账号、姓名、身份证、性别、手机、地区、住址、头像、密保问题及答案等信息。
-
业务员管理:管理员能够管理业务员信息,如业务工号、业务姓名、头像、性别、年龄、联系电话等,支持新增、修改和删除操作。
-
开户申请管理:用户和业务员均可查看和管理开户申请,包括账号、姓名、身份证、开户类型、资料文件、申请时间、审核回复、审核状态等信息,可进行新增、删除等操作。
-
储蓄账户管理:支持查看和管理储蓄账户信息,涵盖账号、姓名、身份证、开户类型、银行卡号、金额等,可执行删除等操作。
-
信用卡账户管理:用户和业务员可以查看和管理信用卡账户信息,如账号、姓名、身份证、开户类型、银行卡号、金额等,支持删除等操作。
-
转入资金管理:用户和业务员能够查看和管理转入资金记录,包括姓名、账号、银行卡号、身份证、转入金额、转入时间、备注等信息,可进行删除等操作。
-
转出资金管理:用户和业务员可以查看和管理转出资金记录,涵盖姓名、账号、银行卡号、身份证、转出金额、转出时间、备注等信息,可执行删除等操作。
-
挂失账户管理:管理员可以查看和管理挂失账户信息,包括姓名、账号、身份证、银行卡号、金额、挂失原因、挂失时间、审核回复、审核状态等,可进行审核、修改、删除等操作。
-
银行产品管理:管理员可以管理银行产品信息,如产品名称、封面、产品类型、产品编号、发行机构、期限类型、运作模式、募集方式、募集币种、风险等级、投资性质、实际天数、发布时间、金额、点击次数等,支持新增、修改、查看评论、删除等操作。
-
银行网点管理:管理员能够管理银行网点信息,包括支行代码、支行地址、支行名称、公司图片、支行电话、服务范围、营业时间等,可进行新增、修改、查看评论、删除等操作。
-
已购产品管理:用户和业务员可以查看和管理已购产品信息,涵盖订单编号、产品编号、产品名称、产品类型、发行机构、运作模式、期限类型、募集方式、募集币种、风险等级、投资性质、实际天数、金额、姓名、账号、下单时间等,可执行删除等操作。
-
支付记录管理:用户和业务员能够查看和管理支付记录,包括姓名、账号、身份证、银行卡号、订单编号、金额、支付时间等信息,可进行删除等操作。
-
信用卡还款管理:用户和业务员可以查看和管理信用卡还款记录,如姓名、账号、银行卡号、开户类型、身份证、还款金额、登记时间、备注、状态等信息,可执行删除等操作。
-
还款记录管理:用户和业务员能够查看和管理还款记录,涵盖姓名、账号、银行卡号、开户类型、身份证、还款金额、登记时间、备注、状态等信息,可执行删除等操作。
-
系统管理:管理员可以对系统进行管理,包括页面设置和后台数据库中数据的增删查改等操作。
该银行基本业务管理系统涵盖了用户、业务员和管理员三大角色的多种功能,实现了对银行基本业务的全面管理。从用户信息管理到各类账户管理,从资金转入转出管理到银行产品和网点管理,再到系统管理,该系统为银行提供了一个高效、便捷、安全的管理平台。通过这些功能,银行能够更好地满足客户需求,提高工作效率,同时也为银行的数字化转型奠定了坚实基础。
注:以上是纯课题毕业设计功能介绍,并非实际开发完成,最终开发完成的毕业设计程序以下面的的环境软件、功能图和界面为准。
系统所需要的环境软件:idea、eclipse+mysql5.7、8.0+Navicat+JDK1.8+tomcat7.0
3.1 系统需求分析
在当下社会的生活中,互联网已经非常普遍和十分重要。利用好互联网大数据等技术,可以帮助解决很多问题。当下银行基本业务管理系统管理方面都面临各自的问题。根据这一常见现象,本银行基本业务管理系统的出现就有很大的需求。该系统可以很好地解决这些麻烦和问题。系统中两类用户的数据极为关键,所以系统数据要整理好,因为数据的存储是按一定格式,但并非无序的,其概念是:按长期的稳定格式,可共享的存放在电脑内存上。数据库管理系统,主要是指数据保存、更改和添加以及数据库的设置。为保证系统数据管理的顺利操作,一些有能力的处理者可以进行管理而不需要专业的人来处理。资料表的建立,可对资料表中的数据加以调整,数据的重新组合和重新建立,确保资料的可靠性。介于数据库系统的功能与强大等性质之间[10]本数据库系统的设计中主要使用了MySQL实现对数据的集中管理。各个方面都具有不错的性能。
3.2 系统可行性分析
3.2.1技术可行性
在系统可行性分析中,技术可行性分析是十分重要的分析角度。本银行基本业务管理系统是在Windows 11系统上进行开发与运行,该系统是目前比较先进,应用范围比较广的电脑系统。开发该系统的电脑的客户端也都配置较高的硬件设施,性能强大。系统开发所使用的各种技术也都来自PC端,也都十分的先进。与普通的Web服务器相比,具有非常明显的优势。开发的技术也都来自也专业方面,有据可依,具有较强的理论性和权威性[11]。
(1)硬件可行性分析
银行基本业务管理系统的操作运行和数据处理跟大多数系统一样,大同小异,没有特殊的地方,对于硬件也没有过多的要求。无论是公司的办公电脑,还是家里的私人电脑,只要能够进行正常的代码编写和网页浏览就可以。该系统的“苛刻”条件是针对于服务器,服务器的优劣是该系统的关键,所以拥有一个良好的服务器至关重要。对于服务器的选择应慎重,必须选择具有良好的完整性,安全可靠的服务器,以确保打开浏览器执行一系列操作时能够流畅的运行,不会出现卡顿的现象,最后安全方面也有所保障。
(2)软件可行性分析
该系统运用的软件是一些完全免费且常用的,操作简单易上手,只要是有点计算机基础的用户只要花上很少的时间就能掌握相关技能;同时无论是从经济上还是安全上都能使系统得到充分的保障。
技术可行性从硬件可行性分析和软件可行性分析这两个方面进行了可行性研究,可以看出该银行基本业务管理系统的开发没有问题,所以在技术这一方面,本系统没有阻碍,会顺利执行。
3.2.2经济可行性
银行基本业务管理系统开发之前,通过互联网、广播以及新闻等渠道得出了关键信息,对于现有的银行基本业务管理系统的系统不多且大都不太健全,该系统的开发可以给这个领域增加新的血液,具有良好的前景。
银行基本业务管理系统开发的时候,对一些相关事于进行了充分的调查。调查都是开发人员亲自做的,没有花钱雇佣他人,接近零成本。开发过程遇到困难时,通过互联网搜索,或者向指导老师求助来进行解决的,没有造成成本损失。
银行基本业务管理系统开发完成后,该系统是基于java来开发的,采用了MySQL数据库。两者都具有较强的稳定性和安全性,在后续的维护与更新中,也能够减少成本浪费。
综上所述,开发前、中、后期成本和要求非常小,具有较高的经济可行性。而且,该系统的开发成功也会有不错的市场前景。
3.3 项目设计目标与原则
3.3.1系统总体描述
关于银行基本业务管理系统的基本要求
(1)功能要求:信息共享、系统信息的更新、平台个性化的设置、两者相互的信息交流、一些数据的增删查改和访问、用户和管理员数据的查找及管理等常见的功能。
(2)性能要求:在各种各样的操作系统上,无论是用户还是管理员都能够顺利的登录该银行基本业务管理系统,且成功登录后完成相应的操作和预期的目的,顺利执行各个页面功能。
(3)安全性保密规定:管理员的登录一定要进行安全监测。管理员通过特定的账号和密码登录并要进行身份验证才能进入下一个界面从而进行一些内部操作[13]。
(4)系统的运行环境要求:支持Windows等一系列操作平台。
3.3.2开发目标
银行基本业务管理系统的主要开发目标如下:
(1)对零碎化、分布散的系统信息进行收纳、整理,通过网络服务平台使这些信息内容更加调理,更加方便化和清晰化,让访问该系统的每个用户享受浏览的过程。
(2)生活中存在的一些现象:人员冗余。银行基本业务管理系统应尽量减少用户的需求压力,给他们提供省时省力省心的服务平台,降低其工作量。
(3)便于查询信息及管理信息等。
(4)通过计算机网络技术,提升解决管理问题和技术工作的质量,为用户一种规范方便的服务。
(5)该系统系统的设计风格应该简约整洁,操作容易上手,目标信息明确,避免花里胡哨。
(6)为社会稳定和发展贡献一份力量。
3.4系统流程分析
3.4.1操作流程
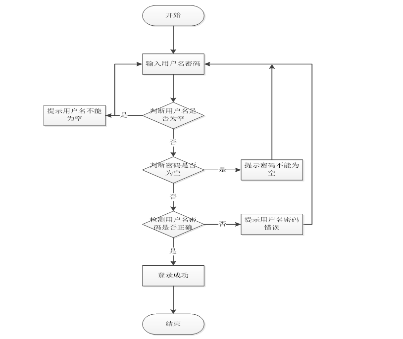
首先为系统登录页面。进入页面后,用户可进行登录和注册的操作。点击登录后,页面就会出现一个登录提示框,向用户传达信息:要进行用户名和密码的输入,完成后才可以进行下一步的操作。用户输入完成后,系统会将输入的信息提交给后台,与数据库中的信息记录进行比较判断。判断比较内容主要分为三个方面:从用户名是否为空、输入的密码是否为空、用户名和密码是否匹配三方面进行判断。只有上述三个条件同时满足,数据库中的信息匹配正确,才视为登陆成功,方可完成后续的操作。若以上三种情况有一条不满足,则会提示该次登录错误,就需要进行重新登录。系统登录流程图如图3-1所示:

图3-1登录流程图
3.4.2添加信息流程
然后是添加信息的页面。进入该页面后,页面会出现一个提示框,示意操作者可以进行信息的添加,从而进行下一步的操作。用户输入想要添加的信息后提交,系统会对输入的内容进行检测。如果检测后输入的信息正确,则会出现“添加成功”的提示框,从而可以进行下一步操作;如果系统检测后检测到想要添加的信息不符合规范要求,则会提示报错,需要进行修改后重新添加。添加信息流程图如图3-2所示:

图3-2添加信息流程图
3.4.3删除信息流程
最后为删除信息页面。进入该页面后,用户可以对所要删除的信息进行选择,选择好删除的内容后,会有一个“是否确认删除”的提示框,操作者可以根据自己的意愿来选择“是”或“否”。完成上述操作,系统会自动的对删除的内容进行判断,如果符合删除要求则会成功删除数据记录,并且更新数据库的内容信息;如果删除的数据记录不符合要求,则会有一个“删除失败”的提示框,操作人员需要根据提示来进行修改,修改完成后重新删除知道删除成功。删除信息流程图如图3-3所示:

图3-3删除信息流程图
4 系统设计
4.1 系统体系结构
银行基本业务管理系统的结构图4-1所示:
图4-1系统结构
登录系统结构图,如图4-2所示:
图4-2登录结构图
4.2 系统总功能结构设计
系统按照用户的实际需求开发而来,贴近生活。从管理员通过正确的账号的密码进入系统,可以使用相关的系统应用。管理员总体负责整体系统的运行维护,统筹协调。
系统整体模块设计:系统分为管理员、用户和业务员三大角色,系统管理员有最大的权限,总体功能展示如图4-3所示。
图4-3 系统总体功能图
4.3开发流程设计
系统开发流程的分析是一个至关重要的过程,它是指通过系统的设计开发目的初衷、面向使用用户的范围、系统运行和操作的安全性、各种问题的处理以及后台数据的分析能力等各个角度,来对银行基本业务管理系统进行设计、开发、搭建和调节,以保证该系统能够顺利的完成,达到预期的工作状态。上述每个环节、每个步骤一开始就要下足功夫,从各个方面、各个角度进行调查研究,进行大量的测试和评估,来保证银行基本业务管理系统的正常和该系统的后台数据库的完整性以及安全性,从而把控系统所包含信息的安全性、确保信息进入、出口顺利过渡。然后,对系统和数据进行操作和分析,根据每一步的执行步骤,完成信息的流程图制作过程。
系统的开发对管理模型和系统应用中的数据库进行了分类,创建代码,以及系统测试,如图4-4所显示。
图4-4开发系统流程图
4.4 数据库设计原则
学习程序设计,如果要了解数据库管理系统或者是根据需求而制定的系统接口,就必须创建一种数据库管理系统的模式,用来保存数据资料,这样当在应用编程过程中时候,就不需要再向操作系统页面上加载信息,进而增加了整个系统的工作效率。信息库管理系统中保存着许多数据,应该说是一个管理信息系统建设的中心和基础,而信息库管理系统也为管理信息系统建设提出了新增、删除、更改和搜索的操作功能,使管理信息系统建设能够迅速地查询所需要的数据,而不会直接从程序代码中查找。信息库管理系统通过将信息表的各个组成部分按照特定的方法准确地合并,排序和组成信息库管理系统。
通过对银行基本业务管理系统的主要功能信息进行规划并分为若干功能实体信息[14],本系统的主要功能实体图如下图所示。
图4-5挂失账户属性图
图4-6银行网点实体属性图
图4-7支付记录实体属性图
图4-8用户信息实体属性图
图4-9信用卡还款实体属性图
5.1系统功能实现
当人们打开系统的网址后,首先看到的就是首页界面。在这里,人们能够看到银行基本业务管理系统的导航条,系统首页界面如图5-1所示:
图5-1 系统首页界面
当系统用户进入系统进行相关操作前必须进行注册登录,如下图所示:
图5-2 -1用户注册界面
图5-2-2用户登录界面
银行产品,用户可在银行产品页面查看产品名称、封面、产品类型、产品编号、发行机构、期限类型、运作模式、募集方式、募集币种、风险等级、投资性质、实际天数、发布时间、金额、点击次数等内容,还可进行收藏或购买等操作,页面如图5-3所示:
图5-3银行产品页面
银行网点,用户可在银行网点页面查看支行代码、支行地址、封面、支行名称、支行电话、服务范围、营业时间等内容,还可进行收藏等操作,如图5-4所示:
图5-4银行网点详细页面
后台管理,用户可在后台管理页面查看个人中心、开户申请管理、储蓄账户管理、信用卡账户管理、转入资金管理、转出资金管理、挂失账户管理、已购产品管理、支付记录管理、信用卡还款管理、还款记录管理等内容,如图5-5所示:
图5-5用户后台功能详细页面
开户申请管理,用户可在开户申请管理页面查看账号、姓名、身份证、开户类型、资料文件、申请时间、审核回复、审核状态等内容,还可进行新增或删除等操作,如图5-6所示:
图5-6 开户申请管理界面
转入资金管理,用户可在转入资金管理页面查看姓名、账号、银行卡号、身份证、转入金额、转入时间、备注等内容,还可进行删除等操作,如图5-7所示。
图5-7 转入资金管理界面
已购产品管理,用户可在已购产品管理页面查看订单编号、产品编号、产品名称、产品类型、发行机构、运作模式、期限类型、募集方式、募集币种、风险等级、投资性质、实际天数、金额、姓名、账号、下单时间等内容,还可进行删除等操作,如图5-8所示:
图5-8 已购产品管理界面
支付记录管理,用户可在支付记录管理页面查看姓名、账号、身份证、银行卡号、订单编号、金额、支付时间等内容,还可进行删除等操作,如图5-9所示:
图5-9支付记录管理界面
5.2后台登录功能模块实现
后台登录通过输入用户名、密码、选择登录角色进行登录,如图5-10所示:
图5-10后台登录功能界面
5.3业务员功能模块实现
业务员通过登录进入系统可查看个人中心、开户申请管理、储蓄账户管理、信用卡账户管理、转入资金管理、转出资金管理、挂失账户管理、信用卡还款管理、还款记录管理等内容,如图5-11所示:
图5-11 业务员功能界面
信用卡还款管理,业务员可在信用卡还款管理页面查看姓名、账号、银行卡号、开户类型、身份证、还款金额、登记时间、备注、状态等内容,还可进行删除等操作,如图5-12所示:
图5-12信用卡还款管理界面
储蓄账户管理,业务员可在储蓄账户管理页面查看账号、姓名、身份证、开户类型、银行卡号、金额等内容,还可进行删除等操作,如图5-13所示:
图5-13 储蓄账户管理界面
信用卡账户管理,业务员可在信用卡账户管理页面查看账号、姓名、身份证、开户类型、银行卡号、金额等内容,还可进行删除等操作,如图5-14所示。
图5-14信用卡账户管理界面
5.4管理员功能模块实现
管理员通过登录进入系统可查看个人中心、用户管理、业务员管理、开户申请管理、储蓄账户管理、信用卡账户管理、转入资金管理、转出资金管理、挂失账户管理、银行产品管理、银行网点管理、已购产品管理、支付记录管理、信用卡还款管理、还款记录管理、系统管理等内容,如图5-15所示:
图5-15管理员功能界面
源码无偿分享,文未领取