计算机毕设 java 基于 WEB 技术的校园红歌曲库管理系统 Java+MySQL 校园红歌协同管理平台设计与开发 基于 SSM+Web 的红歌资源运营与互动体验一体化系统设计与实现

基于SSM的校园红歌管理系统设计

计算机毕设java基于WEB技术的校园红歌曲库管理系统的设计与实现p7yec (配套有源码 程序 mysql数据库 论文)本套源码可以先看具体功能演示视频领取,文末有联xi 可分享

随着校园文化建设与红色文化传播需求增长,传统红歌曲库依赖本地存储、人工整理的模式逐渐暴露弊端 —— 歌曲信息管理混乱、用户检索效率低、互动反馈渠道缺失,既不利于红歌资源的保存与传播,也难以满足师生便捷获取红歌资源的需求。在此背景下,开发一套覆盖 “红歌管理 - 在线互动 - 系统维护” 全流程的校园红歌曲库管理系统,成为推动校园红色文化数字化传播的关键。

该系统以 Java 为开发语言,基于 SSM 框架构建后端,搭配 MySQL 数据库存储数据,实现校园红歌曲库从资源管理到用户互动的全流程数字化。核心功能涵盖两类角色需求:登录注册模块,支持管理员与用户(师生)账号注册登录,用户绑定用户名、姓名、性别、年龄、联系方式、头像;个人中心模块,两类角色均可更新个人信息(密码、联系方式、头像),用户管理红歌收藏与评论;管理员模块,统筹系统全局管理:

  • 人员与基础管理:
    • 用户管理:维护用户信息(用户名、姓名、性别、年龄、联系方式、头像),支持按用户名、姓名筛选查询,进行新增、修改、删除操作,确保用户信息规范归档;
    • 音乐类型管理:维护红歌分类(如经典红歌、现代红歌、合唱红歌),规范歌曲归类,方便用户按类型快速筛选心仪红歌;
  • 红歌与互动管理:
    • 音乐信息管理:录入红歌详情(歌名、类型、封面、歌手、语言、音乐文件、专辑、时长、发行方、歌曲详情),支持按歌名、类型、专辑筛选查询,用户可查看详情、收藏或评论;
    • 意见反馈管理:用户提交使用反馈(留言内容、图片),管理员在线回复,收集用户建议以优化系统功能;
  • 系统与权限管理:
    • 管理员管理:维护管理员账号(用户名、密码、角色),支持新增、修改、删除操作,保障系统管理权限安全;
    • 系统管理:发布新闻公告(标题、简介、图片、内容),维护轮播图(首页推荐热门红歌)与关于我们(平台介绍),确保红歌资源与系统信息及时更新;

用户模块,支持在线查询红歌(按歌名、类型筛选)、收藏喜爱红歌、评论互动、反馈使用问题。这些功能构建了 “红歌展示 - 用户互动 - 系统维护” 的完整闭环,既实现校园红歌资源的规范化管理,也通过线上化操作提升红歌传播效率,助力校园红色文化数字化建设。
注:以上是纯毕业设计介绍,并非实际开发完成,最终开发完成的毕业设计程序以下面的的环境软件、功能图和界面为准。
系统所需要的环境软件:idea、eclipse+mysql5.7、8.0+Navicat+JDK1.8+tomcat7.0

3.2.1 系统开发流程 

校园红歌曲库管理系统的设计和开发,首先要对用户的实际使用需求和具体情况进行细致的分析,分析出系统要完成的全部功能,然后再针对整个系统的工作流程和功能进行设计,力求每个模块都能够达到用户的要求,最后通过测试来解决问题,保证系统的稳定和正常的运转,本系统的开发流程如图3-1所示。

图3-1系统开发流程图

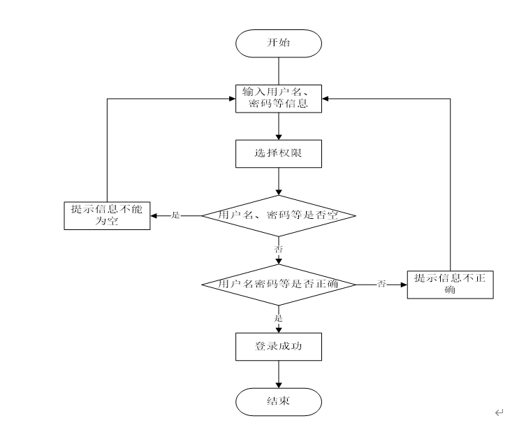
3.2.2 用户登录流程

登录流程实现了管理员和其他用户的登录,在登录页面需要用户填写自己的信息,前端页面会将信息传递给后端接口,然后查询数据库确定该身份有效后登录成功,否则此用户登录失败,需要重新填写信息,进行再次验证,如图3-2所示。

图3-2登录流程图

3.2.3 系统操作流程

系统操作流程分析是软件开发过程中的一个关键环节,它是整个系统整体的运行过程,必须保证其中的每一个步骤都是确定的,这样一个规范的流程图可以使开发者易于理解,快速的投入到接口开发中,从而提升系统开发效率。

同时,流程图还能减少开发者对系统操作流程产生歧义和降低沟通的成本,系统操作流程如图3-3所示。

图3-3系统操作流程图

3.2.4 添加信息流程

系统的正常运行离不开数据的支撑,因此,在本系统中添加了数据插入功能,数据库中数据的缺失,会直接影响到数据的查询结果,查询结果错误又会导致逻辑处理出现偏差,最终导致系统性错误或故障,所以在对系统进行数据添加操作时,必须要对数据进行合法性校验,确定此条数据是否有惟一的主关键字和字段是否允许为空等等,若数据库表中不允许某字段为空,而程序没有进行该字段非空逻辑校验,那么就会出现数据存储失败,可能因此造成严重系统后果。添加信息流程如图3-4所示。

图3-4添加信息流程图

3.2.5 删除信息流程

删除操作在系统中并非是必须的,可根据用户及系统的需要来决定是否添加删除功能,删除操作就是使用delete语句将数据库中的某一匹配数据删除,因为此操作会导致用户数据丢失,所以为了避免使用者误按删除键,应在用户点击删除按钮时添加一个提示确认弹窗,当用户确定要删除时,再进行数据库的操作,并且在删除操作完成后要对用户进行反馈。删除信息流程图如图3-5所示。

图3-5 删除信息流程图

3.3系统用例分析

3.3.1 管理员用例图

校园红歌曲库管理系统的最大权限用户是管理员,通过管理员菜单中的首页、个人中心、用户管理、音乐类型管理、音乐信息管理、意见反馈、管理员管理、系统管理等选项来对系统后台信息进行管理。管理员用例如图3-6所示。

图3-6管理员用例图

3.3.2 用户用例图

用户进入系统可以对首页、个人中心、音乐信息管理进行管理。用户用例如图3-7所示。

图3-7用户用例图

4 系统设计

4.1 系统概述

校园红歌曲库管理系统的设计与开发是指对该系统的各个功能模块进行详细设计,力求每个模块都能够满足用户的要求,系统开发完成后还需对系统进行单元测试和系统测试,发现系统中存在的问题并解决,确保系统正常稳定的运行。校园红歌曲库管理系统工作原理图如图4-1所示:

图4-1 系统工作原理图

4.2 系统结构设计

系统结构设计必须要满足用户的业务需求,系统结构设计完成后要形成系统结构设计文档,开发人员就可根据模块接口说明进行接口开发,接口开发完需进行功能测试,目的是发现并解决系统漏洞,同时还得保证系统的可扩展性和稳定性,满足用户对系统的要求。系统设计需满足以下要求:

  1. 安全性
  2. 易用性
  3. 柔软性
  4. 柔软性
  5. 扩展性

校园红歌曲库管理系统的整体结构设计主要分为两大部分:管理员和用户。管理员的职责是管理用户信息及设置用户权限,发布公告等其他基础功能的管理;用户负责音乐信息管理;整体结构设计如图4-2所示。

图4-2 整体结构设计图

4.3 数据库设计

本系统依赖于MySQL数据库来储存信息,系统完成后,所有需要的数据都要从数据库中读取,这也意味着无论是插入、更新还是删除操作,只要对数据有改动的操作都需要与数据库交互,因此,系统的全部数据都要储存在数据库,必须保证数据库在未经授权情况下不得进行删除表结构等危险操作,而且要保证表中字段的准确性。

4.3.1 数据库设计原则

  1. 从上而下
  2. 从下至上
  3. 逐渐扩大
  4. 结合方法

4.3.2 数据库实体

E-R图,即实体-联系图,它是一种通过对实例进行抽象,以可视化的方式来描述现实世界的概念模型。根据需求分析绘制出数据库的E-R图,能够直观地映射出各个表之间的关系。

本系统的实体属性图如下图所示:

1、新闻公告实体图如图4-3所示:

图4-3新闻公告实体图

2、意见反馈实体图如图4-4所示:

图4-4意见反馈实体图

3、音乐信息评论表实体图如图4-5所示:

图4-5音乐信息评论表实体图

4、用户实体图如图4-6所示:

图4-6用户实体图

5、音乐信息实体图如图4-7所示:

图4-7音乐信息实体图

5界面设计与功能实现

5.1系统功能实现

当人们打开系统的网址后,首先看到的就是首页界面。在这里,人们能够看到系统的导航条,通过导航条导航进入各功能展示页面进行操作,系统首页界面如图5-1所示:

图5-1 系统首页界面

系统注册:在系统注册页面的输入栏中输入用户注册信息进行注册操作,系统注册页面如图5-2所示:

图5-2系统注册页面

音乐信息:在音乐信息页面输入歌名、选择音乐类型和专辑进行查询音乐信息列表,并根据需要对音乐详情信息进行收藏和评论操作,音乐信息页面如图5-3所示:

图5-3音乐信息详细页面

个人中心:在个人中心页面通过填写个人详细信息进行信息更新操作,还可以对我的收藏进行详细操作;如图5-4所示:

图5-4个人中心界面

5.2后台模块实现

后台用户登录,在登录页面选择需要登录的角色,在正确输入用户名和密码后,进入操作系统进行操作,如图5-5所示。                               

图5-5 后台登录界面

5.2.1管理员模块实现

管理员进入主页面,主要功能包括对首页、个人中心、用户管理、音乐类型管理、音乐信息管理、意见反馈、管理员管理、系统管理等进行操作,管理员主页面如图5-6所示:

图5-6 管理员主界面

管理员点击用户管理。在用户页面输入用户名和用户姓名进行查询、新增或删除用户列表,并根据需要对用户详情信息进行详情、修改或删除操作,如图5-7所示:

图5-7用户管理界面

管理员点击音乐类型管理。进入音乐类型页面输入音乐类型进行查询、新增或删除音乐类型列表,并根据需要对音乐类型详细信息进行详情、修改或删除操作,如图5-8所示:

图5-8音乐类型管理界面

管理员点击音乐信息管理。在音乐信息页面输入歌名、选择音乐类型和专辑进行查询或删除音乐信息列表,并根据需要对音乐详细信息进行详情、修改、查看评论或删除操作,如图5-9所示:

图5-9音乐信息管理界面

管理员点击意见反馈。在意见反馈页面输入用户名进行查询或删除意见反馈列表,并根据需要对意见反馈详细信息进行详情、修改、回复或删除操作,如图5-10所示:

图5-10意见反馈管理界面

管理员点击管理员管理。在管理员页面输入用户名进行查询、新增或删除管理员列表,并根据需要对管理员详细信息进行详情、修改或删除操作,如图5-11所示:

图5-11管理员管理界面

管理员点击系统管理。在新闻公告页面输入标题进行查询、新增或删除新闻公告列表,并根据需要对新闻公告详细信息进行详情、修改或删除操作,还可以对轮播图管理、关于我们进行详细操作,如图5-12所示:

图5-12系统管理界面

5.2.2用户模块实现

用户进入系统可以对首页、个人中心、音乐信息管理等功能进行操作,用户主页面如图5-13所示:

图5-13用户主界面

用户点击音乐信息管理。在音乐信息页面输入歌名、选择音乐类型和专辑进行查询、新增或删除音乐信息列表,并根据需要对音乐详细信息进行详情、修改或删除操作,如图5-14所示:

图5-14音乐信息管理界面

源码无偿分享,文未领取

评论
添加红包

请填写红包祝福语或标题

红包个数最小为10个

红包金额最低5元

当前余额3.43前往充值 >
需支付:10.00
成就一亿技术人!
领取后你会自动成为博主和红包主的粉丝 规则
hope_wisdom
发出的红包
实付
使用余额支付
点击重新获取
扫码支付
钱包余额 0

抵扣说明:

1.余额是钱包充值的虚拟货币,按照1:1的比例进行支付金额的抵扣。
2.余额无法直接购买下载,可以购买VIP、付费专栏及课程。

余额充值