计算机毕设 java 基于 B/S 的江理工党员信息管理系统设计与实现 基于 SSM+Java 的党员信息管理平台 Java+MySQL 的党员全流程管理系统

计算机毕设java基于BS的江理工党员信息管理系统设计与实现0y2449 (配套有源码 程序 mysql数据库 论文)本套源码可以先看具体功能演示视频领取,文末有联xi 可分享

在高校党员信息管理信息化需求提升的背景下,传统管理依赖纸质档案、人工统计,存在党员发展流程不规范、党费缴纳跟踪难、党员考试组织低效等问题,难以满足管理员、教师与学生(党员 / 积极分子)三类角色协同需求。依托 Java 语言、SSM 框架、B/S 架构及 MySQL 数据库,开发江理工党员信息管理系统,整合党员发展管理、党费缴纳、党员考试等功能,支持三类角色操作,打造专业化党员信息管理平台。该系统既能帮助管理员统筹党员资源,又能让教师便捷跟踪党员发展、学生高效参与党员事务,提升党员信息管理的效率与规范性。

该系统分为管理员、教师与学生三类角色功能,学生端(B/S 端)包含注册登录模块,支持凭学生账号(绑定姓名、身份证、手机号)注册与安全登录;个人中心模块,更新个人信息(账号、密码、姓名、年龄、头像、籍贯、民族);积极分子管理模块,查看个人积极分子信息(成为积极分子时间、积极事迹、登记时间);预备党员管理模块,查看个人预备党员信息(转预备时间、优秀事迹、教师审核信息);正式党员管理模块,查看个人正式党员信息(转正时间、转正资料、登记时间);党费缴纳模块,查看个人党费缴纳记录(年份、金额、支付状态);系统管理模块,浏览党建新闻(标题、内容、图片);考试管理模块,参与党员考试(查看试题、提交答案、查看成绩)。教师端包含个人中心,维护教师信息(工号、密码、姓名、职称、专业、联系方式);学生管理模块,查询、新增、修改学生账号(账号、姓名、身份证、手机号);积极分子管理模块,录入学生积极分子信息(成为积极分子时间、事迹、登记时间);预备党员管理模块,审核学生转预备申请,录入转预备时间与优秀事迹;正式党员管理模块,审核学生转正申请,录入转正时间与资料;党员考试管理模块,创建党员考试(名称、时长、状态);试题管理模块,录入考试试题(名称、选项、答案、分值、解析、类型);系统管理模块,维护党建新闻、轮播图;考试管理模块,查看学生考试记录(试题得分、答案)。管理员端包含系统首页、个人中心,维护管理员信息;学生管理模块,查询、新增、修改学生账号(账号、姓名、身份证、手机号、籍贯、民族);教师管理模块,查询、新增、修改教师账号(工号、姓名、职称、专业、联系方式);积极分子管理模块,查看全校积极分子信息,统计发展数据;预备党员管理模块,查看全校预备党员信息,监督审核进度;正式党员管理模块,查看全校正式党员信息,统计党员规模;党费缴纳管理模块,录入党费缴纳信息(年份、金额、学生信息),跟踪支付状态;党员考试管理模块,审核教师创建的考试,查看考试统计数据;系统管理模块,维护系统配置、党建新闻;考试管理模块,查看所有学生考试记录,统计答题情况。系统通过积极分子表、预备党员表、党费缴纳表等数据库表实现数据存储,覆盖从积极分子发展到党员考试的全流程,满足高校党员信息信息化管理需求。
注:以上是纯毕业设计介绍,并非实际开发完成,最终开发完成的毕业设计程序以下面的的环境软件、功能图和界面为准。
系统所需要的环境软件:idea、eclipse+mysql5.7、8.0+Navicat+JDK1.8+tomcat7.0

3.2 需求分析

功能需求分析是系统设计的前提,它要求开发者和用户定义开发什么样的体系和系统需要什么样的功能。本文主要介绍了一种基于windows平台实现的江理工党员信息管理系统。该系统为用户找到党员信息提供了更安全、更高效、更便捷的途径。本系统有三个角色:管理员,学生和教师,要求具备以下功能:

(1)学生可以对首页,个人中心,积极分子管理,预备党员管理,正式党员管理,党费缴纳管理,系统管理,考试管理等功能进行操作;

(2)管理员通过管理员界面,实现对学生和教师的信息管理;

(3)教师可以对首页,个人中心,学生管理,积极分子管理,预备党员管理,正式党员管理,党员考试管理,试题管理,系统管理,考试管理等功能进行操作。

管理员用例如下所示:

图3-1 管理员用例图

学生用例如下所示:

图3-2学生用例图

教师用例如下所示:

图3-3教师用例图

3.3 可行性分析

可行性分析是指通过比较项目的主要内容和支撑条件,如市场需求、资源供应、环境影响、资金筹措情况、盈利能力等,预测项目建成后可能产生的资金、经济效益、社会和环境影响,为项目决策提供依据的综合性系统分析方法。可行性研究报告编制的质量直接影响着投资决策的成,而可行性研究报告编制程序又决定了可行性研究报告能否得到有效执行。因此,必须重视可行性研究工作,提高其编制水平。可行性分析应当具有预见性、公正性、可靠性和科学性[13]。

3.3.1 技术可行性分析

本系统是为了为用户寻找党员信息提供更加安全、高效、便捷的方式,本系统需要运用到HTML、CSS、JavaScript、Java、MySQL、SSM等技术,这些技术在国内外已经非常成熟[14],在大学期间也有所涉及,相关的知识和工具在网络上也可以查到,再加上老师的指导,在技术上的难题可以得到解决。

3.3.2 经济可行性分析

该系统的主题是江理工党员信息管理系统的设计与实现。开发所需的软件资源是Eclipse。我们可以在它的网站上安装一个免费的版本,这对我们的开发和使用是足够好的。数据库就是MySQL数据库。是开源是免费的,服务器使用Tomcat服务器,浏览器使用日常IE浏览器,SSM框架是开源的。经过可行性评估,软件资源支出符合经济可行性[15]。硬件方面,配备齐全的笔记本电脑作为工具在经济上是可行的。

3.4  系统流程设计

3.4.1 系统开发流程

江理工党员信息管理系统的设计和开发,首先要对用户的实际使用需求和具体情况进行细致的分析,分析出系统要完成的全部功能,然后再针对整个系统的工作流程和功能进行设计,力求每个模块都能够达到用户的要求,最后通过测试来解决问题,保证系统的稳定和正常的运转,本系统的开发流程如图3-4所示。

图3-4系统开发流程图

3.4.2 用户登录流程

登录流程实现了管理员和其他用户的登录,在登录页面需要用户填写自己的信息,前端页面会将信息传递给后端接口,然后查询数据库确定该身份有效后登录成功,否则此用户登录失败,需要重新填写信息,进行再次验证,如图3-5所示。

图3-5登录流程图

3.5 本章小结

江理工党员信息管理系统从市场、技术、经济、功能等方面分析了系统的功能需求,可以满足用户的党员信息管理需求,帮助用户安全、高效地找到合适的党员信息,因此有必要对其进行课题研究。

4章 系统设计

系统设计是将被设计对象划分为单个模块进行构建,各个模块相互支持,相互制约,它们的组合是一个完整的系统。通过系统设计,可以最大限度地满足系统的预期目标,明确软件开发的目的。

4.1 系统基本结构设计

本次系统采用SSM框架集进行开发,SSM框架是一款企业界主流的软件开发框架,其简化了开发流程,大大缩减了软件开发所需的时间提高了软件的响应速度。系统基本结构图如图4-1所示。

图4-1 系统基本结构图

4.2 数据库设计

数据库结构设计的好坏直接影响到江理工党员信息管理系统的效率和实现的效果。本系统的数据库采用MySQL数据库,MySQL是一种开放源代码的关系型数据库管理系统,使用最常见的数据库管理语言SQL进行数据库管理。

4.2.1 数据库E-R图设计

E-R图也可称为实体-联系图,其可以清楚的显示实体与实体之间的关系,是描述概念模型的有效方式,通过各实体间的关系方便数据库结构的设计。E-R图的设计在软件开发过程中是不可省略的环节。   

1)党费缴纳实体图如图4-2所示。

图4-2 党费缴纳实体属性图

2)预备党员实体如图4-3所示。

图4-3 预备党员实体属性图

3)学生实体图如图4-4所示。

图4-4 学生实体属性图

4)党建新闻实体图如图4-5所示。

图4-5 党建新闻实体图

5)教师实体图如图4-6所示。

图4-6 教师实体图

第五章 系统实现

5.1系统登录注册实现

系统登录,在登录页面选择需要登录的角色,在正确输入用户名和密码后,进入操作系统进行操作;如图5-1所示。                               

图5-1 系统登录界面

5.2管理员模块实现

管理员进入主页面,主要功能包括对学生管理,教师管理,积极分子管理,预备党员管理,正式党员管理,党费缴纳管理,党员考试管理,系统管理,考试管理等进行操作。管理员主页面如图5-2所示:

图5-2管理员主界面

管理员点击学生管理。在学生页面输入学生账号和姓名进行查询,新增或删除学生列表;并根据需要对学生详细信息进行详情、修改或删除操作。如图5-3所示:

图5-3学生管理界面

管理员点击教师管理。在教师页面输入教师工号和教师姓名进行查询,新增或删除教师列表;并根据需要对教师详细信息进行详情、修改或删除操作。如图5-4所示:

图5-4教师管理界面

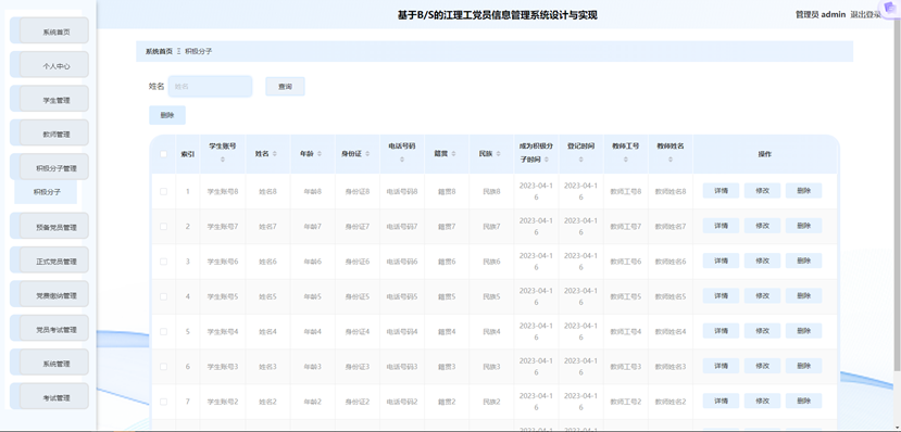
管理员点击积极分子管理。在积极分子页面输入姓名进行查询或删除积极分子列表;并根据需要对积极分子详细信息进行详情,修改或删除操作。如图5-5所示:

图5-5积极分子管理界面

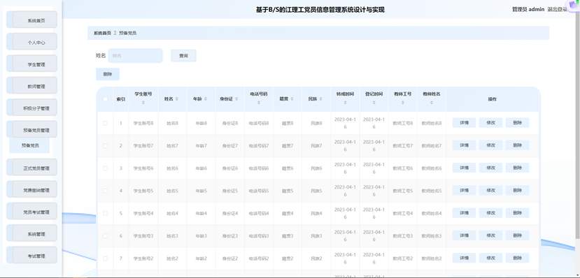
管理员点击预备党员管理。在预备党员页面输入姓名进行查询或删除预备党员列表;并根据需要对预备党员详细信息进行详情,修改或删除操作。如图5-6所示:

图5-6预备党员管理界面

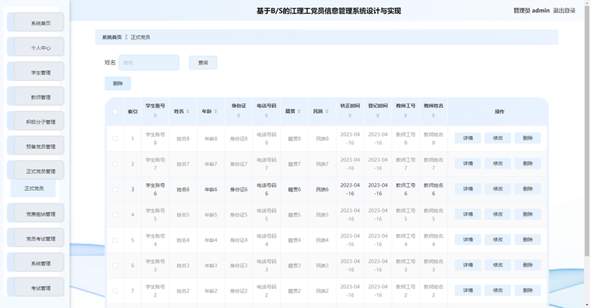
管理员点击正式党员管理。在正式党员页面输入姓名进行查询或删除正式党员列表;并根据需要对正式党员详细信息进行详情、修改或删除操作。如图5-7所示:

图5-7正式党员管理界面

管理员点击党费缴纳管理。在党费缴纳页面输入年份和学生姓名进行查询,新增或删除党费缴纳列表;并根据需要对党费缴纳详细信息进行详情,修改或删除操作。如图5-8所示:

图5-8党费缴纳管理界面

管理员点击党员考试管理。在党员考试页面输入党员考试名称进行查询或删除党员考试列表;并根据需要对党员考试详细信息进行详情,修改或删除操作。如图5-9所示:

图5-9党员考试管理界面

5.3学生模块实现

学生进入主页面,主要功能包括首页,个人中心,积极分子管理,预备党员管理,正式党员管理,党费缴纳管理,系统管理,考试管理等功能,学生主页面如图5-10所示:

图5-10学生主界面

5.4教师模块实现

教师进入主页面,主要功能包括首页,个人中心,学生管理,积极分子管理,预备党员管理,正式党员管理,党员考试管理,试题管理,系统管理,考试管理等功能,教师主页面如图5-11所示:

图5-11教师主界面

源码无偿分享,文未领取

评论
添加红包

请填写红包祝福语或标题

红包个数最小为10个

红包金额最低5元

当前余额3.43前往充值 >
需支付:10.00
成就一亿技术人!
领取后你会自动成为博主和红包主的粉丝 规则
hope_wisdom
发出的红包
实付
使用余额支付
点击重新获取
扫码支付
钱包余额 0

抵扣说明:

1.余额是钱包充值的虚拟货币,按照1:1的比例进行支付金额的抵扣。
2.余额无法直接购买下载,可以购买VIP、付费专栏及课程。

余额充值