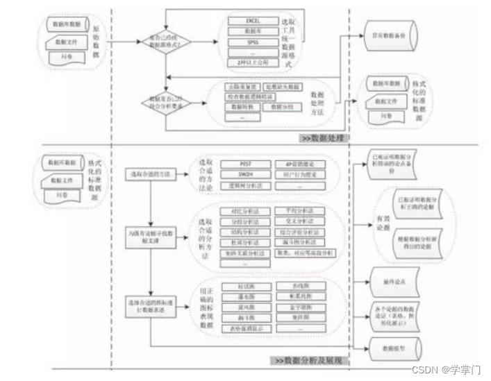
一个完整的数据分析流程,应该包括以下几个方面,建议收藏此图仔细阅读。



作为数据分析师,无论最初的职业定位方向是技术还是业务,最终发到一定阶段后都会承担数据管理的角色。因此,一个具有较高层次的数据分析师需要具备完整的知识结构。
- 数据采集
了解数据采集的意义在于真正了解数据的原始面貌,包括数据产生的时间、条件、格式、内容、长度、限制条件等。这会帮助数据分析师更有针对性的控制数据生产和采集过程,避免由于违反数据采集规则导致的数据问题;同时,对数据采集逻辑的认识增加了数据分析师对数据的理解程度,尤其是数据中的异常变化。

比如:
Omniture中的Prop变量长度只有100个字符,在数据采集部署过程中就不能把含有大量中文描述的文字赋值给Prop变量(超过的字符会被截断)。
当用户在离线状态下使用APP时,数据由于无法联网而发出,导致正常时间内的数据统计分析延迟。直到该设备下次联网时,数据才能被发出并归入当时的时间。这就产生了不同时间看相同历史时间的数据时会发生数据有出入。
在数据采集阶段,数据分析师需要更多的了解数据生产和采集过程中的异常情况,如此才能更好的追本溯源。另外,这也能很大程度上避免“垃圾

最低0.47元/天 解锁文章
2259

被折叠的 条评论
为什么被折叠?



