目 录
高校大学生心理咨询管理平台
摘 要:随着大学生心理健康问题的日益严重,传统的心理咨询服务存在信息不对称和响应不及时等问题,因此开发一套高效、便捷的大学生心理咨询管理平台成为必要。该平台基于Spring Boot框架开发,前端采用Vue.js,后端使用Java,数据存储通过MySQL数据库实现。
平台主要分为普通用户、咨询师用户和管理员三类角色,提供相应功能。普通用户可以注册登录,参与心理测试,浏览心理知识、公告通知,预约心理咨询,并管理个人账户信息。咨询师用户在管理员审核后注册,管理个人资料、预约信息、留言回复等,提供个性化咨询服务,并可管理心理知识和测试题库。管理员负责管理用户和咨询师账号、平台资源、公告及心理测试内容,确保平台的安全性与专业性。
关键词:心理咨询管理,大学生、SpringBoot框架;MYSQL数据库。
College Student Psychological Counseling Management Platform
Abstract: Abstract: With the increasingly serious mental health problems among college students, traditional psychological counseling services have problems such as information asymmetry and delayed response. Therefore, it is necessary to develop an efficient and convenient platform for college student psychological counseling management. This platform is developed based on the Spring Boot framework, with Vue.js for the front-end and Java for the back-end. Data storage is implemented through a MySQL database.
The platform is mainly divided into three roles: ordinary users, consultant users, and administrators, providing corresponding functions. Ordinary users can register and log in, participate in psychological tests, browse psychological knowledge and announcements, make appointments for psychological counseling, and manage personal account information. Consultant users can register after being reviewed by the administrator, manage personal information, appointment information, message replies, etc., provide personalized consulting services, and manage psychological knowledge and test question banks. Administrators are responsible for managing user and consultant accounts, platform resources, announcements, and psychological testing content to ensure the security and professionalism of the platform.
Keywords: psychological counseling management, college students, SpringBoot framework; MYSQL database.
1.1研究背景
随着大学生心理健康问题日益受到关注,心理咨询服务的重要性逐渐被高校和社会各界所认同。大学生群体面临诸多心理压力,如就业焦虑、学业压力和人际关系问题等,亟需通过科学的干预和有效的支持系统来帮助缓解这些心理困扰[1]。研究表明,早期发现并及时干预大学生心理问题是提升其心理健康水平的关键[2]。近年来,随着信息技术的快速发展,心理咨询的形式也在发生变革。传统的面对面心理咨询方式逐渐面临时间、地点和资源的限制,在线心理咨询逐渐成为一种行之有效的解决方案[3]。
为了更好地满足大学生日益多样化的心理健康需求,结合信息化手段来设计和实现心理咨询管理平台具有重要意义。通过集成预约管理、心理评估、咨询记录等功能,基于SpringBoot等技术开发的心理咨询平台能够提高心理健康服务的可达性和针对性,有助于为大学生提供更为便捷、个性化的心理支持。此类平台的设计与实施,能够有效缓解传统心理咨询服务中的资源分配不均问题,并提升整体心理健康服务的效率和质量[4]。
1.2研究背景
基于SpringBoot框架开发的高校大学生心理咨询管理平台具有重要的研究意义。随着大学生心理健康问题的日益严重,如何有效提升心理咨询服务的质量和体验已成为当前的研究热点。研究表明,提升大学生心理健康咨询的服务设计与用户体验感,不仅能够提高学生对心理咨询的接受度,还能增强咨询效果[5]。此外,大学生心理健康教育的特点和构建方式也需不断创新,适应当前信息化时代的发展要求[6]。在这一背景下,结合现代技术手段构建线上心理咨询平台,不仅有助于提升服务的便捷性和实用性,还能让心理咨询服务更加精准和个性化[7]。
该平台的设计和实现,不仅有助于提升学生对心理咨询的信任度和使用频率,还能够通过高效的数据管理与分析功能,为高校提供有力的决策支持,进一步优化心理健康教育体系。在技术实现上,基于SpringBoot的框架具备良好的扩展性和稳定性,能够有效支持文件上传、咨询记录存储等关键功能[8],使平台能够提供更为全面和高效的服务。因此,开发此类平台不仅为大学生心理健康管理提供了创新性解决方案,也推动了心理健康教育模式的进一步发展和创新。
1.3国内外研究现状
1.3.1国内研究现状
近年来,随着大学生心理健康问题日益受到社会各界的关注,国内高校纷纷加强心理健康服务体系的建设,心理咨询平台逐渐成为高校应对学生心理问题的重要手段。这些平台不仅为学生提供了便捷的心理咨询途径,还通过信息化手段提升了心理健康服务的专业性和规范化管理。传统的面对面心理咨询方式往往局限于时间和空间,难以满足学生在心理健康方面的多样化需求。为了拓宽服务范围和提高服务效率,许多高校通过建设在线心理咨询平台,涵盖了预约管理、咨询记录存储、心理评估等功能,进一步增强了服务的及时性和专业性。
尽管国内高校在心理咨询平台的建设上取得了一定的成果,平台在实际应用中仍然存在一些问题。例如,部分高校的心理咨询平台功能较为单一,不能有效支持学生不同层次的心理健康需求。此外,用户体验设计、系统稳定性、数据安全性等方面仍有待进一步改进。面对这些挑战,越来越多的高校意识到,借助技术手段的提升是改善心理健康服务质量的关键。除了基础的心理咨询功能外,更多高校开始将心理健康教育、心理测试和在线沟通等功能整合到平台中,增强平台的综合性服务能力。
随着技术不断发展,未来的心理健康管理平台有望更加注重个性化服务,通过数据分析和智能化功能为学生提供更加精准的心理干预。同时,心理咨询师的工作管理和学生数据分析也会得到进一步加强,推动高校心理健康服务向更高效、全面的方向发展。
1.3.2国外研究现状
在国外,随着大学生心理健康问题的日益严重,许多高校已经认识到信息技术在提升心理健康服务质量方面的重要作用。传统的面对面心理咨询逐渐不能满足日益增长的需求,尤其是在资源紧张的情况下,信息化手段的引入成为解决这一问题的有效途径。许多高校已经开发了在线心理咨询平台,学生可以通过这些平台预约心理咨询、查看咨询记录、参与心理评估等,这不仅提高了心理服务的可达性,也使得服务更加高效和个性化。通过这些平台,心理咨询师能够更好地管理学生的心理健康记录并提供有针对性的支持。
这些平台通常涵盖了广泛的功能模块,如在线预约系统、匿名咨询选项、心理状态评估工具等,帮助学生克服面对面咨询中的心理障碍,鼓励他们在没有压力的情况下寻求帮助。许多平台还利用数据分析工具来更好地了解学生的心理需求,帮助心理咨询师制定个性化的治疗方案。此外,平台的隐私保护措施也得到了相当的重视,确保学生的信息得到有效保护。
尽管如此,国外心理健康平台的发展也面临一些挑战。隐私保护和数据安全问题仍然是最重要的难题之一,如何在保障学生隐私的前提下提供更高效、更专业的服务,成为平台发展的关键所在。随着技术的不断发展,未来的心理健康管理平台可能会更加智能化、个性化,为学生提供更加全面、精准的支持服务。这些平台有望通过不断优化功能和服务,进一步提升学生的心理健康水平,推动高校心理健康服务体系向更高效、综合的方向发展。
1.4研究内容
本研究设计并实现了一个基于Spring Boot的大学生心理咨询管理平台,主要研究内容包括:
需求分析与系统设计:分析不同用户角色(普通用户、咨询师、管理员)的需求,设计合理的系统架构和功能模块。
前后端架构设计:采用前后端分离架构,前端使用Vue.js,后端基于Spring Boot框架,确保系统的性能和可维护性。
数据库设计:使用MySQL数据库设计高效的数据存储方案,保证数据一致性和系统稳定性。
功能模块开发:实现用户注册、心理测试、预约管理、留言回复等功能,确保不同角色的权限管理。
系统测试与优化:进行系统测试和性能优化,提升系统的稳定性和用户体验。
1.5关键技术
本平台的开发涉及多种关键技术,主要包括以下几方面:
Spring Boot:Spring Boot框架是后端开发的核心,简化了Java Web应用的配置和开发过程,提供了自动配置和嵌入式服务器,极大地提高了开发效率。通过Spring Boot,能够快速构建一个健壮的RESTful API服务,支持前后端分离架构。
Java:Java是本平台后端开发的主要编程语言。通过Java的面向对象编程和强大的库支持,能够实现平台的业务逻辑、数据处理、API接口等核心功能。Java具有跨平台特性,确保了平台的稳定性和高效性。
MySQL数据库:MySQL是平台数据存储的关系型数据库管理系统。平台使用MySQL存储用户信息、心理咨询记录、测试数据等。通过设计优化的数据库表结构,确保了数据的高效存储和快速查询。同时,利用MySQL的事务处理能力,保障了数据的一致性和安全性。
Vue.js:Vue.js是前端开发的核心框架,具有轻量、易用、灵活的特点,采用响应式的数据绑定和组件化开发方式。通过Vue.js,可以高效实现用户交互界面和动态数据更新,提升了平台的用户体验。
前后端分离架构:采用前后端分离架构,前端通过Vue.js与后端Spring Boot提供的RESTful API进行交互,前后端的独立性和高效的数据传输方式,使得开发、维护和扩展更加灵活。
第 2 章系统的需求分析
2.1系统可行性分析
2.1.1技术可行性分析
技术可行性方面,平台采用前后端分离的架构,前端使用Vue.js框架,后端采用Spring Boot进行开发,确保系统的高效开发和灵活扩展。Vue.js的响应式特性和Spring Boot的自动配置优势能够满足快速开发和系统的稳定性要求。数据存储方面使用MySQL数据库,确保了数据的一致性和查询效率。
2.1.2经济可行性分析
本平台采用了开源的技术栈(如Spring Boot、Vue.js、MySQL等),无需额外的商业软件许可,从而降低了开发成本。通过云平台的按需付费模式,平台避免了高昂的硬件投资,且运营和维护成本较低,能够根据实际使用量灵活调整资源。系统模块化的设计和前后端分离架构进一步降低了维护成本,提高了系统的扩展性和可维护性。
2.1.3操作可行性分析
平台设计简单易用,用户界面友好,能够支持多种设备和浏览器访问,保证了广泛的用户适应性。普通用户、咨询师和管理员角色功能明确,操作流程简洁清晰。通过提供详细的帮助文档和操作指南,确保用户能够快速上手使用平台。后台管理界面为管理员提供了简便的管理工具,能够高效地管理用户、咨询师、心理测试和资源,降低了操作难度,提高了整体工作效率。
2.2系统流程分析
基于SpringBoot的大学生心理咨询管理平台开发时,首先进行需求分析,进而对系统进行总体的设计规划,设计系统功能模块,数据库的选择等,本系统的开发流程如图2.1所示。
图2.1系统开发流程图
2.2.1用户登录流程
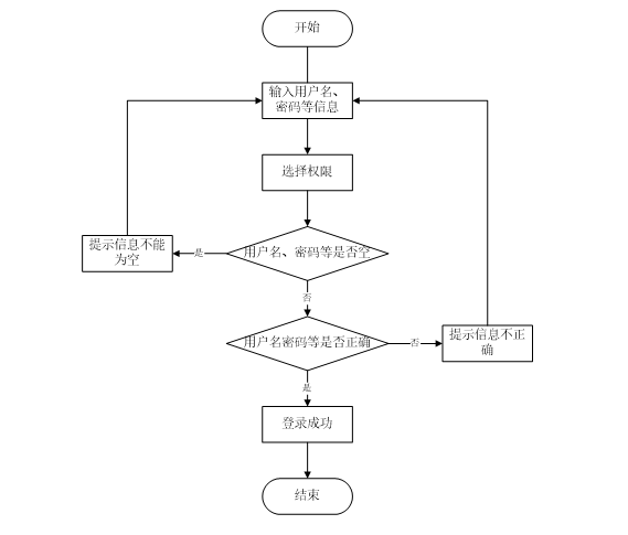
为了保证系统的安全性,要使用本系统对系统信息进行管理,必须先登陆到系统中。如图2.2所示。
图2.2 登录流程图
2.2.2系统操作流程
用户打开并进入系统后,会先显示登录界面,输入正确的用户名和密码,系统自动检测信息,若信息无误,则用户会进入系统功能界面,进行操作,否则会提示错误无法登录,操作流程如图2.3所示。
图2.3 系统操作流程图
2.2.3非功能性需求分析
非功能性分析是系统设计的重要组成部分,其目标是保证系统在各种负载条件下的高效、稳定和可靠。对于大学生心理咨询管理平台的设计与实现,系统非功能性需求分析表如表2-1所示。
表2-1 非功能性需求表
| 项目 | 内容 |
| 性能 | 系统应支持至少500个并发用户访问,响应时间不超过2秒 |
| 安全性 | 用户数据需加密,系统应具备防攻击机制(如SQL注入、XSS防护) |
| 可用性 | 系统年可用性应达到99.5%,保证大部分时间能够正常访问 |
| 可维护性 | 代码易于阅读与修改,文档齐全,便于后期维护和功能扩展 |
| 扩展性 | 系统架构应支持后续功能的扩展,易于添加新模块或功能 |
| 兼容性 | 系统应支持主流浏览器(如Chrome、Firefox、Safari) |
| 用户体验 | 界面友好、简洁,操作应当简便,避免用户困惑 |
2.3系统需求分析
大学生心理咨询管理平台的设计在功能上划分为普通用户、咨询师用户和管理员三种角色。
普通用户:
注册登录:用户可以通过注册成为系统用户,注册后可以用账号密码登录系统。
首页:普通用户可以在首页查看并操作导航栏,浏览轮播图、心理知识、公告通知和咨询师信息等内容。通过输入关键词进行全网搜索。
心理测试:用户可以参与多种类型的心理测试,包括单选题、多选题和判断题等自动评分类型的题目,主观题则由咨询师评分。完成答题后,系统会自动计算分数并显示结果,同时用户提交的答卷可供咨询师查看并填写评语。
公告通知:用户可以查看各类公告通知,了解网站公告。
心理知识:用户可以浏览不同类别的心理知识内容,通过局部搜索、下拉筛选和排序等方式查找感兴趣的信息,并对喜欢的内容进行点赞、收藏或评论回复删除。
咨询师信息:用户能够查看各咨询师的详细信息列表,如人员姓名、性别、咨询方式等,并根据个人需求输入人员姓名或选择咨询方式进行搜索和排序。此外,还能对咨询师进行点赞、收藏、评论回复删除以及留言预约。
我的账户:用户可以在此模块中修改个人资料、登录名和密码等信息,确保账户的安全性和数据的准确性。
个人中心:包含个人首页的操作,如查看留言信息、预约信息、建议计划、收藏和评论管理等,帮助用户集中管理自己的活动记录和偏好设置。
留言信息:用户可以查看自己对咨询师的留言详情,通过输入人员姓名等条件进行搜索、查询和重置操作,还能查看咨询师的留言回复,促进双方的有效沟通。
预约信息:用户可以查看自己对咨询师的预约详情,通过输入人员姓名等条件进行搜索、查询和重置操作,同时也能查看咨询师的审核回复。
建议计划:用户可以查看建议计划的详情,通过输入人员姓名、用户姓名等条件进行搜索、查询和重置。
评价信息:用户可以查看各类评价信息详情,通过输入用户姓名等条件进行搜索、查询和重置。
收藏:用户可以查看自己在系统中收藏的所有关于心理知识、公告通知和咨询师信息等内容,并对不喜欢的内容进行删除,优化个人收藏库。
评论管理:用户可以查看自己在前台发布的各类评论信息详情及其被回复情况,通过输入昵称、内容等条件进行搜索、查询、重置和删除操作,点击评论来源还可以跳转到相关页面。
咨询师用户:
注册登录:咨询师需通过输入用户名和密码进行注册,注册后需等待管理员审核才能登录,确保咨询师身份的真实性和专业性。
后台首页:咨询师可以在此修改个人资料和登录密码,确保个人信息的安全和更新。
咨询师信息:
列表:咨询师可以查看自己的详细信息列表,通过输入人员姓名、选择咨询方式等条件进行搜索、查询、重置和删除操作。
添加:咨询师可以选择咨询方式、上传图片、输入在线时间、擅长领域等信息提交添加。
留言信息管理:咨询师可以查看用户的留言详情,通过输入人员姓名等条件进行搜索、查询、重置操作,并对留言进行回复,加强与用户的互动。
预约信息管理:咨询师可以查看用户的预约详情,通过输入人员姓名等条件进行搜索、查询、重置操作,审核预约请求后记录日期并填写给用户的建议内容。
建议计划管理:咨询师可以查看建议计划的详情。
评价信息管理:咨询师可以查看用户的评价信息详情,通过输入人员姓名等条件进行搜索、查询和重置操作。
资源管理:
心理知识:咨询师可以查看心理知识详情和用户评论,通过输入标题、标签、选择分类进行搜索。
心理测试:咨询师可以查看用户的心理测试表详情,对题库进行增删改查操作,导出、导入和下载导入文档。
管理员:
登录:管理员账号密码由系统生成,可使用账号密码可进行登录系统后台,使用系统功能进行管理,并可对自己的个人信息和密码进行管控。
后台首页:管理员可以在此修改个人资料和登录密码,保持个人信息的安全和更新。
系统用户:管理员负责管理所有用户的账号详情,包括学生用户和咨询师用户,通过输入人员姓名等条件进行搜索、增删改查操作,并对咨询师账号进行审核。
咨询师信息管理:管理员可以查看咨询师的详细信息列表,通过输入人员姓名等条件进行搜索、查询、重置和删除操作;也可以添加新的咨询师信息,包括选择咨询方式、上传图片、输入在线时间和擅长领域等。
留言信息管理:管理员可以查看用户的留言详情,通过输入人员姓名等条件进行搜索、查询、重置和删除操作。
预约信息管理:管理员可以查看用户的预约详情,通过输入人员姓名等条件进行搜索、查询、重置和删除操作,同时审核预约请求并记录日期和建议内容,保障服务的质量和效率。
建议计划管理:管理员可以查看建议计划的详情,通过输入人员姓名等条件进行搜索、查询、重置和删除操作,协助用户制定合理的心理健康计划。
评价信息管理:管理员可以查看用户的评价信息详情,通过输入人员姓名等条件进行搜索、查询和重置操作。
系统管理:
轮播图管理:管理员可以查看轮播图信息详情,通过输入标题进行搜索,对页面进行增删改查操作,点击上传轮播图,输入标题和链接添加需要跳转的网址进行提交新增轮播图。
公告通知管理:管理员可以查看公告详情,通过输入标题进行搜索,对页面进行增删改查操作,确保信息发布准确无误。
资源管理:
心理知识:管理员可以查看心理知识详情和用户评论,通过输入标题、标签、选择分类进行搜索。
心理测试:管理员可以查看用户的心理测试表详情,对题库进行增删改查操作,导出、导入和下载导入文档,确保测试内容的专业性和科学性。
2.4系统用例分析
大学生心理咨询管理平台中普通用户角色用例图如图2.4所示:
图2.4 普通用户角色用例图
大学生心理咨询管理平台中咨询师用户角色用例图如图2.5所示:
图2.5 咨询师用户角色用例图
大学生心理咨询管理平台中管理员用例图如图2.6所示:
图2.6 管理员角色用例图
第 3 章系统设计
在分析了项目开发的背景、意义以及其开发的可行性后,接下来就是探讨项目的功能划分,以及具体实现的时候对项目数据库各种表的设计,在本章会做一个系统的介绍。
3.1系统功能模块设计
系功能模块的设计就是把系统具体要实现哪些功能,功能如何划分做一个系统的架构,以模块图的方式展示出来,方便我们进行功能得罗列以及涉及。在系统的功能方面,项目分成了管理员+普通用户+咨询师用户三个模块,每个模块登录进去对应相应的功能,具体的功能模块图如图3.1所示。
图3.1 大学生心理咨询管理平台功能模块图
3.2数据库设计
数据库的设计承载者系统的各种数据,在一个系统中各种数据都需要一个专门的容器,数据库就是这个容器,在建立数据库的时候,主要是数据库模型的设计以及各个数据库表的设计两部分。
3.2.1数据库概念结构设计
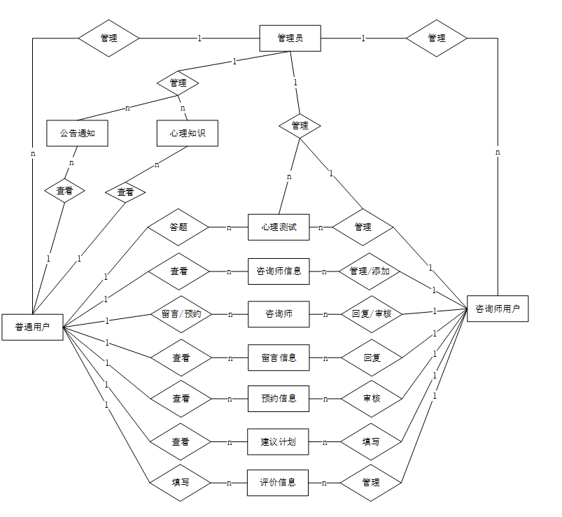
下面是整个大学生心理咨询管理平台中主要的数据库表总E-R实体关系图。
图3.2 大学生心理咨询管理平台总E-R关系图
3.2.2数据库逻辑结构设计
通过前面E-R关系图可以看到项目需要创建很多个数据表。以下是项目中的主要数据库表的关系模型:
表 4-1-access_token(登陆访问时长)
| 编号 | 字段名 | 类型 | 长度 | 是否非空 | 是否主键 | 注释 |
| 1 | token_id | int | 是 | 是 | 临时访问牌ID | |
| 2 | token | varchar | 64 | 否 | 否 | 临时访问牌 |
| 3 | info | text | 65535 | 否 | 否 | 信息 |
| 4 | maxage | int | 是 | 否 | 最大寿命:默认2小时 | |
| 5 | create_time | timestamp | 是 | 否 | 创建时间 | |
| 6 | update_time | timestamp | 是 | 否 | 更新时间 | |
| 7 | user_id | int | 是 | 否 | 用户编号 |
表 4-2-article(文章)
| 编号 | 字段名 | 类型 | 长度 | 是否非空 | 是否主键 | 注释 |
| 1 | article_id | mediumint | 是 | 是 | 文章id | |
| 2 | title | varchar | 125 | 是 | 是 | 标题 |
| 3 | type | varchar | 64 | 是 | 否 | 文章分类 |
| 4 | hits | int | 是 | 否 | 点击数 | |
| 5 | praise_len | int | 是 | 否 | 点赞数 | |
| 6 | create_time | timestamp | 是 | 否 | 创建时间 | |
| 7 | update_time | timestamp | 是 | 否 | 更新时间 | |
| 8 | source | varchar | 255 | 否 | 否 | 来源 |
| 9 | url | varchar | 255 | 否 | 否 | 来源地址 |
| 10 | tag | varchar | 255 | 否 | 否 | 标签 |
| 11 | content | longtext | 4294967295 | 否 | 否 | 正文 |
| 12 | img | varchar | 255 | 否 | 否 | 封面图 |
| 13 | description | text | 65535 | 否 | 否 | 文章描述 |
表 4-3-article_type(文章分类)
| 编号 | 字段名 | 类型 | 长度 | 是否非空 | 是否主键 | 注释 |
| 1 | type_id | smallint | 是 | 是 | 分类ID | |
| 2 | display | smallint | 是 | 否 | 显示顺序 | |
| 3 | name | varchar | 16 | 是 | 否 | 分类名称 |
| 4 | father_id | smallint | 是 | 否 | 上级分类ID | |
| 5 | description | varchar | 255 | 否 | 否 | 描述 |
| 6 | icon | text | 65535 | 否 | 否 | 分类图标 |
| 7 | url | varchar | 255 | 否 | 否 | 外链地址 |
| 8 | create_time | timestamp | 是 | 否 | 创建时间 | |
| 9 | update_time | timestamp | 是 | 否 | 更新时间 |
表 4-4-auth(用户权限管理)
| 编号 | 字段名 | 类型 | 长度 | 是否非空 | 是否主键 | 注释 |
| 1 | auth_id | int | 是 | 是 | 授权ID | |
| 2 | user_group | varchar | 64 | 否 | 否 | 用户组 |
| 3 | mod_name | varchar | 64 | 否 | 否 | 模块名 |
| 4 | table_name | varchar | 64 | 否 | 否 | 表名 |
| 5 | page_title | varchar | 255 | 否 | 否 | 页面标题 |
| 6 | path | varchar | 255 | 否 | 否 | 路由路径 |
| 7 | parent | varchar | 64 | 否 | 否 | 父级菜单 |
| 8 | parent_sort | int | 是 | 否 | 父级菜单排序 | |
| 9 | position | varchar | 32 | 否 | 否 | 位置 |
| 10 | mode | varchar | 32 | 是 | 否 | 跳转方式 |
| 11 | add | tinyint | 是 | 否 | 是否可增加 | |
| 12 | del | tinyint | 是 | 否 | 是否可删除 | |
| 13 | set | tinyint | 是 | 否 | 是否可修改 | |
| 14 | get | tinyint | 是 | 否 | 是否可查看 | |
| 15 | field_add | text | 65535 | 否 | 否 | 添加字段 |
| 16 | field_set | text | 65535 | 否 | 否 | 修改字段 |
| 17 | field_get | text | 65535 | 否 | 否 | 查询字段 |
| 18 | table_nav_name | varchar | 500 | 否 | 否 | 跨表导航名称 |
| 19 | table_nav | varchar | 500 | 否 | 否 | 跨表导航 |
| 20 | option | text | 65535 | 否 | 否 | 配置 |
| 21 | create_time | timestamp | 是 | 否 | 创建时间 | |
| 22 | update_time | timestamp | 是 | 否 | 更新时间 |
表 4-5-code_token(验证码)
| 编号 | 字段名 | 类型 | 长度 | 是否非空 | 是否主键 | 注释 |
| 1 | code_token_id | int | 是 | 是 | 验证码ID | |
| 2 | token | varchar | 255 | 否 | 否 | 令牌 |
| 3 | code | varchar | 255 | 否 | 否 | 验证码 |
| 4 | expire_time | timestamp | 是 | 否 | 失效时间 | |
| 5 | create_time | timestamp | 是 | 否 | 创建时间 | |
| 6 | update_time | timestamp | 是 | 否 | 更新时间 |
表 4-6-collect(收藏)
| 编号 | 字段名 | 类型 | 长度 | 是否非空 | 是否主键 | 注释 |
| 1 | collect_id | int | 是 | 是 | 收藏ID | |
| 2 | user_id | int | 是 | 是 | 收藏人ID | |
| 3 | source_table | varchar | 255 | 否 | 否 | 来源表 |
| 4 | source_field | varchar | 255 | 否 | 否 | 来源字段 |
| 5 | source_id | int | 是 | 否 | 来源ID | |
| 6 | title | varchar | 255 | 否 | 否 | 标题 |
| 7 | img | varchar | 255 | 否 | 否 | 封面 |
| 8 | create_time | timestamp | 是 | 否 | 创建时间 | |
| 9 | update_time | timestamp | 是 | 否 | 更新时间 |
表 4-7-comment(评论)
| 编号 | 字段名 | 类型 | 长度 | 是否非空 | 是否主键 | 注释 |
| 1 | comment_id | int | 是 | 是 | 评论ID | |
| 2 | user_id | int | 是 | 是 | 评论人ID | |
| 3 | reply_to_id | int | 是 | 否 | 回复评论ID | |
| 4 | content | longtext | 4294967295 | 否 | 否 | 内容 |
| 5 | nickname | varchar | 255 | 否 | 否 | 昵称 |
| 6 | avatar | varchar | 255 | 否 | 否 | 头像地址 |
| 7 | create_time | timestamp | 是 | 否 | 创建时间 | |
| 8 | update_time | timestamp | 是 | 否 | 更新时间 | |
| 9 | source_table | varchar | 255 | 否 | 否 | 来源表 |
| 10 | source_field | varchar | 255 | 否 | 否 | 来源字段 |
| 11 | source_id | int | 是 | 否 | 来源ID |
表 4-8-consultant_information(咨询师信息)
| 编号 | 字段名 | 类型 | 长度 | 是否非空 | 是否主键 | 注释 |
| 1 | consultant_information_id | int | 是 | 是 | 咨询师信息ID | |
| 2 | consultant_user | int | 否 | 否 | 咨询师用户 | |
| 3 | personnel_name | varchar | 64 | 否 | 否 | 人员姓名 |
| 4 | gender_of_personnel | varchar | 64 | 否 | 否 | 人员性别 |
| 5 | consultation_methods | varchar | 64 | 否 | 否 | 咨询方式 |
| 6 | cover_photo | varchar | 255 | 否 | 否 | 封面图片 |
| 7 | online_time | varchar | 64 | 否 | 否 | 在线时间 |
| 8 | field | varchar | 64 | 否 | 否 | 擅长领域 |
| 9 | personnel_introduction | longtext | 4294967295 | 否 | 否 | 人员简介 |
| 10 | hits | int | 是 | 否 | 点击数 | |
| 11 | praise_len | int | 是 | 否 | 点赞数 | |
| 12 | collect_len | int | 是 | 否 | 收藏数 | |
| 13 | comment_len | int | 是 | 否 | 评论数 | |
| 14 | message_information_limit_times | int | 是 | 否 | 留言限制次数 | |
| 15 | reservation_information_limit_times | int | 是 | 否 | 预约限制次数 | |
| 16 | create_time | datetime | 是 | 否 | 创建时间 | |
| 17 | update_time | timestamp | 是 | 否 | 更新时间 |
表 4-9-consultant_user(咨询师用户)
| 编号 | 字段名 | 类型 | 长度 | 是否非空 | 是否主键 | 注释 |
| 1 | consultant_user_id | int | 是 | 是 | 咨询师用户ID | |
| 2 | personnel_name | varchar | 64 | 否 | 否 | 人员姓名 |
| 3 | age_of_personnel | varchar | 64 | 否 | 否 | 人员年龄 |
| 4 | gender_of_personnel | varchar | 64 | 否 | 否 | 人员性别 |
| 5 | professional_certification | varchar | 255 | 否 | 否 | 专业认证 |
| 6 | examine_state | varchar | 16 | 是 | 否 | 审核状态 |
| 7 | user_id | int | 是 | 否 | 用户ID | |
| 8 | create_time | datetime | 是 | 否 | 创建时间 | |
| 9 | update_time | timestamp | 是 | 否 | 更新时间 |
表 4-10-evaluative_information(评价信息)
| 编号 | 字段名 | 类型 | 长度 | 是否非空 | 是否主键 | 注释 |
| 1 | evaluative_information_id | int | 是 | 是 | 评价信息ID | |
| 2 | consultant_user | int | 否 | 否 | 咨询师用户 | |
| 3 | personnel_name | varchar | 64 | 否 | 否 | 人员姓名 |
| 4 | ordinary_users | int | 否 | 否 | 普通用户 | |
| 5 | user_name | varchar | 64 | 否 | 否 | 用户姓名 |
| 6 | service_evaluation | varchar | 64 | 否 | 否 | 服务评价 |
| 7 | evaluation_date | date | 否 | 否 | 评价日期 | |
| 8 | evaluation_content | text | 65535 | 否 | 否 | 评价内容 |
| 9 | create_time | datetime | 是 | 否 | 创建时间 | |
| 10 | update_time | timestamp | 是 | 否 | 更新时间 | |
| 11 | source_table | varchar | 255 | 否 | 否 | 来源表 |
| 12 | source_id | int | 否 | 否 | 来源ID | |
| 13 | source_user_id | int | 否 | 否 | 来源用户 |
表 4-11-exam(考试)
| 编号 | 字段名 | 类型 | 长度 | 是否非空 | 是否主键 | 注释 |
| 1 | exam_id | mediumint | 是 | 是 | 考试ID | |
| 2 | name | varchar | 32 | 是 | 否 | 考试名称 |
| 3 | duration | int | 否 | 否 | 答题时长 | |
| 4 | score | double | 否 | 否 | 总分 | |
| 5 | status | varchar | 10 | 否 | 否 | 状态:启用、禁用 |
| 6 | create_time | timestamp | 是 | 否 | 创建时间 | |
| 7 | update_time | timestamp | 是 | 否 | 更新时间 |
表 4-12-exam_question(试题)
| 编号 | 字段名 | 类型 | 长度 | 是否非空 | 是否主键 | 注释 |
| 1 | exam_question_id | mediumint | 是 | 是 | 试题ID | |
| 2 | type | varchar | 20 | 否 | 否 | 类型 |
| 3 | title | varchar | 255 | 否 | 否 | 题目 |
| 4 | question_item | varchar | 500 | 否 | 否 | 选项 |
| 5 | answer | varchar | 500 | 否 | 否 | 参考答案 |
| 6 | score | double | 否 | 否 | 总分 | |
| 7 | question_order | int | 否 | 否 | 排序 | |
| 8 | exam_id | mediumint | 是 | 是 | 所属试卷 | |
| 9 | create_time | timestamp | 是 | 否 | 创建时间 | |
| 10 | update_time | timestamp | 是 | 否 | 更新时间 |
表 4-13-hits(用户点击)
| 编号 | 字段名 | 类型 | 长度 | 是否非空 | 是否主键 | 注释 |
| 1 | hits_id | int | 是 | 是 | 点赞ID | |
| 2 | user_id | int | 是 | 否 | 点赞人 | |
| 3 | create_time | timestamp | 是 | 否 | 创建时间 | |
| 4 | update_time | timestamp | 是 | 否 | 更新时间 | |
| 5 | source_table | varchar | 255 | 否 | 否 | 来源表 |
| 6 | source_field | varchar | 255 | 否 | 否 | 来源字段 |
| 7 | source_id | int | 是 | 否 | 来源ID |
表 4-14-message_information(留言信息)
| 编号 | 字段名 | 类型 | 长度 | 是否非空 | 是否主键 | 注释 |
| 1 | message_information_id | int | 是 | 是 | 留言信息ID | |
| 2 | consultant_user | int | 否 | 否 | 咨询师用户 | |
| 3 | personnel_name | varchar | 64 | 否 | 否 | 人员姓名 |
| 4 | ordinary_users | int | 否 | 否 | 普通用户 | |
| 5 | user_name | varchar | 64 | 否 | 否 | 用户姓名 |
| 6 | message_time | datetime | 否 | 否 | 留言时间 | |
| 7 | message_content | text | 65535 | 否 | 否 | 留言内容 |
| 8 | reply_content | text | 65535 | 否 | 否 | 回复内容 |
| 9 | create_time | datetime | 是 | 否 | 创建时间 | |
| 10 | update_time | timestamp | 是 | 否 | 更新时间 | |
| 11 | source_table | varchar | 255 | 否 | 否 | 来源表 |
| 12 | source_id | int | 否 | 否 | 来源ID | |
| 13 | source_user_id | int | 否 | 否 | 来源用户 |
表 4-15-notice(公告)
| 编号 | 字段名 | 类型 | 长度 | 是否非空 | 是否主键 | 注释 |
| 1 | notice_id | mediumint | 是 | 是 | 公告ID | |
| 2 | title | varchar | 125 | 是 | 否 | 标题 |
| 3 | content | longtext | 4294967295 | 否 | 否 | 正文 |
| 4 | create_time | timestamp | 是 | 否 | 创建时间 | |
| 5 | update_time | timestamp | 是 | 否 | 更新时间 |
表 4-16-ordinary_users(普通用户)
| 编号 | 字段名 | 类型 | 长度 | 是否非空 | 是否主键 | 注释 |
| 1 | ordinary_users_id | int | 是 | 是 | 普通用户ID | |
| 2 | user_name | varchar | 64 | 否 | 否 | 用户姓名 |
| 3 | user_age | varchar | 64 | 否 | 否 | 用户年龄 |
| 4 | user_gender | varchar | 64 | 否 | 否 | 用户性别 |
| 5 | examine_state | varchar | 16 | 是 | 否 | 审核状态 |
| 6 | user_id | int | 是 | 否 | 用户ID | |
| 7 | create_time | datetime | 是 | 否 | 创建时间 | |
| 8 | update_time | timestamp | 是 | 否 | 更新时间 |
表 4-17-praise(点赞)
| 编号 | 字段名 | 类型 | 长度 | 是否非空 | 是否主键 | 注释 |
| 1 | praise_id | int | 是 | 是 | 点赞ID | |
| 2 | user_id | int | 是 | 是 | 点赞人 | |
| 3 | create_time | timestamp | 是 | 否 | 创建时间 | |
| 4 | update_time | timestamp | 是 | 否 | 更新时间 | |
| 5 | source_table | varchar | 255 | 否 | 否 | 来源表 |
| 6 | source_field | varchar | 255 | 否 | 否 | 来源字段 |
| 7 | source_id | int | 是 | 否 | 来源ID | |
| 8 | status | tinyint | 是 | 否 | 点赞状态:1为点赞,0已取消 |
表 4-18-reservation_information(预约信息)
| 编号 | 字段名 | 类型 | 长度 | 是否非空 | 是否主键 | 注释 |
| 1 | reservation_information_id | int | 是 | 是 | 预约信息ID | |
| 2 | consultant_user | int | 否 | 否 | 咨询师用户 | |
| 3 | personnel_name | varchar | 64 | 否 | 否 | 人员姓名 |
| 4 | consultation_methods | varchar | 64 | 否 | 否 | 咨询方式 |
| 5 | ordinary_users | int | 否 | 否 | 普通用户 | |
| 6 | user_name | varchar | 64 | 否 | 否 | 用户姓名 |
| 7 | time_of_appointment | datetime | 否 | 否 | 预约时间 | |
| 8 | appointment_remarks | text | 65535 | 否 | 否 | 预约备注 |
| 9 | examine_state | varchar | 16 | 是 | 否 | 审核状态 |
| 10 | examine_reply | varchar | 16 | 否 | 否 | 审核回复 |
| 11 | suggested_plan_limit_times | int | 是 | 否 | 记录限制次数 | |
| 12 | create_time | datetime | 是 | 否 | 创建时间 | |
| 13 | update_time | timestamp | 是 | 否 | 更新时间 | |
| 14 | source_table | varchar | 255 | 否 | 否 | 来源表 |
| 15 | source_id | int | 否 | 否 | 来源ID | |
| 16 | source_user_id | int | 否 | 否 | 来源用户 |
表 4-19-schedule(日程管理)
| 编号 | 字段名 | 类型 | 长度 | 是否非空 | 是否主键 | 注释 |
| 1 | schedule_id | smallint | 是 | 是 | 日程ID | |
| 2 | content | varchar | 255 | 否 | 否 | 日程内容 |
| 3 | scheduled_time | datetime | 否 | 否 | 计划时间 | |
| 4 | user_id | int | 是 | 否 | 用户ID | |
| 5 | create_time | datetime | 否 | 否 | 创建时间 | |
| 6 | update_time | datetime | 否 | 否 | 更新时间 |
表 4-20-score(评分)
| 编号 | 字段名 | 类型 | 长度 | 是否非空 | 是否主键 | 注释 |
| 1 | score_id | int | 是 | 是 | 评分ID | |
| 2 | user_id | int | 是 | 否 | 评分人 | |
| 3 | nickname | varchar | 64 | 否 | 否 | 昵称 |
| 4 | score_num | double | 是 | 否 | 评分 | |
| 5 | create_time | timestamp | 是 | 否 | 创建时间 | |
| 6 | update_time | timestamp | 是 | 否 | 更新时间 | |
| 7 | source_table | varchar | 255 | 否 | 否 | 来源表 |
| 8 | source_field | varchar | 255 | 否 | 否 | 来源字段 |
| 9 | source_id | int | 是 | 否 | 来源ID |
表 4-21-slides(轮播图)
| 编号 | 字段名 | 类型 | 长度 | 是否非空 | 是否主键 | 注释 |
| 1 | slides_id | int | 是 | 是 | 轮播图ID | |
| 2 | title | varchar | 64 | 否 | 否 | 标题 |
| 3 | content | varchar | 255 | 否 | 否 | 内容 |
| 4 | url | varchar | 255 | 否 | 否 | 链接 |
| 5 | img | varchar | 255 | 否 | 否 | 轮播图 |
| 6 | hits | int | 是 | 否 | 点击量 | |
| 7 | create_time | timestamp | 是 | 否 | 创建时间 | |
| 8 | update_time | timestamp | 是 | 否 | 更新时间 |
表 4-22-suggested_plan(建议计划)
| 编号 | 字段名 | 类型 | 长度 | 是否非空 | 是否主键 | 注释 |
| 1 | suggested_plan_id | int | 是 | 是 | 建议计划ID | |
| 2 | consultant_user | int | 否 | 否 | 咨询师用户 | |
| 3 | personnel_name | varchar | 64 | 否 | 否 | 人员姓名 |
| 4 | ordinary_users | int | 否 | 否 | 普通用户 | |
| 5 | user_name | varchar | 64 | 否 | 否 | 用户姓名 |
| 6 | record_date | date | 否 | 否 | 记录日期 | |
| 7 | suggested_content | text | 65535 | 否 | 否 | 建议内容 |
| 8 | evaluative_information_limit_times | int | 是 | 否 | 评价限制次数 | |
| 9 | create_time | datetime | 是 | 否 | 创建时间 | |
| 10 | update_time | timestamp | 是 | 否 | 更新时间 | |
| 11 | source_table | varchar | 255 | 否 | 否 | 来源表 |
| 12 | source_id | int | 否 | 否 | 来源ID | |
| 13 | source_user_id | int | 否 | 否 | 来源用户 |
表 4-23-upload(文件上传)
| 编号 | 字段名 | 类型 | 长度 | 是否非空 | 是否主键 | 注释 |
| 1 | upload_id | int | 是 | 是 | 上传ID | |
| 2 | name | varchar | 64 | 否 | 否 | 文件名 |
| 3 | path | varchar | 255 | 否 | 否 | 访问路径 |
| 4 | file | varchar | 255 | 否 | 否 | 文件路径 |
| 5 | display | varchar | 255 | 否 | 否 | 显示顺序 |
| 6 | father_id | int | 否 | 否 | 父级ID | |
| 7 | dir | varchar | 255 | 否 | 否 | 文件夹 |
| 8 | type | varchar | 32 | 否 | 否 | 文件类型 |
表 4-24-user(用户账户)
| 编号 | 字段名 | 类型 | 长度 | 是否非空 | 是否主键 | 注释 |
| 1 | user_id | int | 是 | 是 | 用户ID | |
| 2 | state | smallint | 是 | 否 | 账户状态:(1可用|2异常|3已冻结|4已注销) | |
| 3 | user_group | varchar | 32 | 否 | 否 | 所在用户组 |
| 4 | login_time | timestamp | 是 | 否 | 上次登录时间 | |
| 5 | phone | varchar | 11 | 否 | 否 | 手机号码 |
| 6 | phone_state | smallint | 是 | 否 | 手机认证:(0未认证|1审核中|2已认证) | |
| 7 | username | varchar | 16 | 是 | 否 | 用户名 |
| 8 | nickname | varchar | 16 | 否 | 否 | 昵称 |
| 9 | password | varchar | 64 | 是 | 否 | 密码 |
| 10 | | varchar | 64 | 否 | 否 | 邮箱 |
| 11 | email_state | smallint | 是 | 否 | 邮箱认证:(0未认证|1审核中|2已认证) | |
| 12 | avatar | varchar | 255 | 否 | 否 | 头像地址 |
| 13 | open_id | varchar | 255 | 否 | 否 | 针对获取用户信息字段 |
| 14 | create_time | timestamp | 是 | 否 | 创建时间 |
表 4-25-user_answer(用户答题)
| 编号 | 字段名 | 类型 | 长度 | 是否非空 | 是否主键 | 注释 |
| 1 | user_answer_id | mediumint | 是 | 是 | 用户答题ID | |
| 2 | user_id | mediumint | 是 | 否 | 用户ID | |
| 3 | exam_id | mediumint | 是 | 是 | 考试id | |
| 4 | score | double | 否 | 否 | 分数 | |
| 5 | answers | text | 65535 | 否 | 否 | 答案 |
| 6 | score_detail | text | 65535 | 否 | 否 | 评分详情 |
| 7 | objective_score | double | 否 | 否 | 客观题得分 | |
| 8 | subjective_score | double | 否 | 否 | 主观题得分 | |
| 9 | score_state | tinyint | 否 | 否 | 评分状态 | |
| 10 | nickname | varchar | 255 | 否 | 否 | 提交人 |
| 11 | create_time | timestamp | 是 | 否 | 创建时间 | |
| 12 | update_time | timestamp | 是 | 否 | 更新时间 | |
| 13 | comment_desc | varchar | 255 | 否 | 否 | 评语 |
表 4-26-user_group(用户组)
| 编号 | 字段名 | 类型 | 长度 | 是否非空 | 是否主键 | 注释 |
| 1 | group_id | mediumint | 是 | 是 | 用户组ID | |
| 2 | display | smallint | 是 | 否 | 显示顺序 | |
| 3 | name | varchar | 16 | 是 | 否 | 名称 |
| 4 | description | varchar | 255 | 否 | 否 | 描述 |
| 5 | source_table | varchar | 255 | 否 | 否 | 来源表 |
| 6 | source_field | varchar | 255 | 否 | 否 | 来源字段 |
| 7 | source_id | int | 是 | 否 | 来源ID | |
| 8 | register | smallint | 否 | 否 | 注册位置 | |
| 9 | create_time | timestamp | 是 | 否 | 创建时间 | |
| 10 | update_time | timestamp | 是 | 否 | 更新时间 |
第 4 章 系统实现
4.1登录模块
在登录界面,管理员和普通用户需要输入他们的账号和密码,并点击“登录”按钮。系统会根据输入的账号和密码在用户数据库表中查找对应记录,并进行匹配。如果账号和密码正确,用户将成功登录并进入各自的管理界面。若账号或密码错误,系统将显示错误提示信息,并将用户重定向回登录界面,要求重新输入正确的凭证。其主界面展示如下图4.1所示。
图4.1 登录界面图
登录关键代码如下所示。
/**
* 登录
* @param data
* @param httpServletRequest
* @return
*/
@PostMapping("login")
public Map<String, Object> login(@RequestBody Map<String, String> data, HttpServletRequest httpServletRequest) {
log.info("[执行登录接口]");
String username = data.get("username");
String email = data.get("email");
String phone = data.get("phone");
String password = data.get("password");
List resultList = null;
Map<String, String> map = new HashMap<>();
if(username != null && "".equals(username) == false){
map.put("username", username);
resultList = service.selectBaseList(service.select(map, new HashMap<>()));
}
else if(email != null && "".equals(email) == false){
map.put("email", email);
resultList = service.selectBaseList(service.select(map, new HashMap<>()));
}
else if(phone != null && "".equals(phone) == false){
map.put("phone", phone);
resultList = service.selectBaseList(service.select(map, new HashMap<>()));
}else{
return error(30000, "账号或密码不能为空");
}
if (resultList == null || password == null) {
return error(30000, "账号或密码不能为空");
4.2注册模块
当用户希望查询或管理个人相关信息时,必须先进行登录。如果用户还没有账号,可以在登录界面点击“注册”按钮,跳转至注册页面。在注册页面,用户需要根据提示填写必要的注册信息并提交。系统会将这些信息保存到数据库中,完成注册过程。注册成功后,用户可以返回登录界面,使用刚刚注册的账号和密码进行登录,进入个人信息管理界面,其主界面展示如下图4.2所示。
图4.2 注册界面图
注册关键代码如下:
/**
* 注册
* @param user
* @return
*/
@PostMapping("register")
public Map<String, Object> signUp(@RequestBody User user) {
// 查询用户
Map<String, String> query = new HashMap<>();
Map<String,Object> map = JSON.parseObject(JSON.toJSONString(user));
query.put("username",user.getUsername());
List list = service.selectBaseList(service.select(query, new HashMap<>()));
if (list.size()>0){
return error(30000, "用户已存在");
}
map.put("password",service.encryption(String.valueOf(map.get("password"))));
service.insert(map);
return success(1);
}
4.3找回密码模块
用户若忘记密码,可以通过输入原密码、确认密码和邮箱等信息进行密码找回,其主界面展示如下图4.3所示。
图4.3 找回密码界面图
找回密码的关键代码如下:
/**
* 找回密码
* @param form
* @return
*/
@PostMapping("forget_password")
public Map<String, Object> forgetPassword(@RequestBody User form,HttpServletRequest request) {
JSONObject ret = new JSONObject();
String username = form.getUsername();
String code = form.getCode();
String password = form.getPassword();
// 判断条件
if(code == null || code.length() == 0){
return error(30000, "验证码不能为空");
}
if(username == null || username.length() == 0){
return error(30000, "用户名不能为空");
}
if(password == null || password.length() == 0){
return error(30000, "密码不能为空");
}
4.4咨询师用户功能模块
4.4.1咨询师信息管理
咨询师可以查看自己的详细信息列表,通过输入人员姓名、选择咨询方式等条件进行搜索、查询、重置和删除操作。咨询师可以选择咨询方式、上传图片、输入在线时间、擅长领域等信息提交添加,丰富个人资料。界面图如下。
图4.4 咨询师信息管理界面图
图4.5 添加咨询师信息界面图
添加的关键代码如下:
@PostMapping("/add")
@Transactional
public Map<String, Object> add(HttpServletRequest request) throws IOException {
service.insert(service.readBody(request.getReader()));
return success(1);
}
4.4.2预约信息管理
咨询师可以查看用户的预约详情,通过输入人员姓名等条件进行搜索、查询、重置操作,审核预约请求后记录日期并填写给用户的建议内容,确保服务的专业性和针对性。界面图如下。
图4.6 预约信息管理界面图
图4.7 审核预约界面图
4.4.3建议计划管理
咨询师可以查看建议计划的详情,为用户提供专业的指导和支持。界面图如下。
图4.8 填写建议计划内容界面图
4.4.4资源管理-心理测试
咨询师可以查看用户的心理测试表详情,对题库进行增删改查操作,导出、导入和下载导入文档,确保测试内容的专业性和科学性,同时可以查看学生测试的成绩并填写评语,提供个性化的辅导建议。界面图如下。
图4.9 心理测试界面图
图4.10 填写评语界面图
4.5管理员功能模块
4.5.1 系统用户
管理员负责管理所有用户的账号详情,包括学生用户和咨询师用户,通过输入人员姓名等条件进行搜索、增删改查操作,并对咨询师账号进行审核,确保系统的安全性和规范性。界面图如下。
图4.11 系统用户界面图
4.5.2系统管理
管理员可以查看轮播图信息详情,通过输入标题进行搜索,对页面进行增删改查操作,点击上传轮播图,输入标题和链接添加需要跳转的网址进行提交新增轮播图。界面图如下。
图4.12 系统管理界面图
4.5.3资源管理-心理测试
管理员可以查看用户的心理测试表详情,对题库进行增删改查操作,导出、导入和下载导入文档,确保测试内容的专业性和科学性。界面图如下。
图4.13 资源管理-心理测试界面图
图4.14 查看用户测试分数界面图
4.5.4资源管理-心理知识
管理员可以查看心理知识详情和用户评论,通过输入标题、标签、选择分类进行搜索,进行增删改查操作,保证知识内容的全面性和实用性。界面图如下。
图4.15 心理知识界面图
4.6普通用户功能模块
4.6.1用户前台首页管理
普通用户可以在首页查看并操作导航栏,浏览轮播图、心
理知识、公告通知和咨询师信息等内容。通过输入关键词进行全网搜索,快速找到所需信息,并能修改我的账户资料以保持个人信息的最新状态。界面图如下。
图4.16 用户前台首页界面图
4.6.2心理测试界面
用户可以参与多种类型的心理测试,包括单选题、多选题和判断题等自动评分类型的题目,主观题则由咨询师评分。完成答题后,系统会自动计算分数并显示结果,同时用户提交的答卷可供咨询师查看并填写评语。界面图如下。
图4.17心理测试界面图
图4.18心理测试详情界面图
图4.19搜索查看答题界面图
4.6.3咨询师信息界面
用户能够查看各咨询师的详细信息列表,如人员姓名、性别、咨询方式等,并根据个人需求输入人员姓名或选择咨询方式进行搜索和排序。此外,还能对咨询师进行点赞、收藏、评论回复删除以及留言预约,以便更好地安排咨询服务。界面图如下。
图4.20 咨询师详情界面图
图4.21 提交预约咨询师界面图
4.6.4个人中心-预约信息界面
用户可以查看自己对咨询师的预约详情,通过输入人员姓名等条件进行搜索、查询和重置操作,同时也能查看咨询师的审核回复,确保预约流程的透明度和及时性。界面图如下。
图4.22 预约信息界面图
第 5 章系统测试
5.1测试的目的
软件测试的目的在于识别系统缺陷,验证软件对需求的符合程度,使其功能、性能和安全性达到设计标准。在开发过程中,测试能够及时发现潜在问题,降低发布后出现故障的风险。测试不仅关注系统的正常运行,还模拟各种异常情况,评估在不同环境和边界条件下的表现,从而提升软件的可靠性和稳定性,为用户提供更高质量的产品体验,增强信任感。测试过程中的数据和经验积累能完善测试策略,改进开发流程,成为后续项目的参考。软件测试贯穿开发生命周期,是实现产品质量和发布标准的重要环节。通过前面章节的介绍,我们可以看到本大学生心理咨询管理平台已经完成了,但是能不能投入使用还是未知,因为在每个项目正式使用之前必须对开发的项目进行测试,如果不进行测试一旦投入使用可能会出现很多未可知的问题,比如使用人数太多导致系统瘫痪,比如某一功能存在bug信息填写错误等等,这些错误将给使用者带来很多的困扰,甚至造成更大的损失,因此测试是项目投入使用的最后一步,为用户提供一个运行顺畅、完美的项目也就是我们进行最后测试的目的。
5.2系统部分测试
表5-1 评论功能测试用例表
| 测试目的 | 验证评论功能 |
| 测试条件 | 用户已登录 |
| 测试步骤 | 1. 登录系统。 2. 进入展览评论模块。 3. 发布评论。 4. 回复他人评论。 5. 删除自己的评论。 |
| 预期效果 | 能成功发布、回复和删除评论 |
| 实际效果 | 与预期结果一致 |
| 结论 | 测试通过 |
表5-2咨询师信息功能测试用例表
| 测试目的 | 验证咨询师信息功能 |
| 测试条件 | 用户已登录 |
| 测试步骤 | 1. 登录系统。 2. 进入咨询师信息模块。 3. 浏览咨询师信息列表。 4. 点击查看详细信息。 |
| 预期效果 | 能正常查看咨询师信息 |
| 实际效果 | 与预期结果一致 |
| 结论 | 测试通过 |
表5-3 预约信息功能测试用例表
| 测试目的 | 验证预约信息功能 |
| 测试条件 | 用户已登录 |
| 测试步骤 | 1. 登录系统。 2. 进入预约信息模块。 3. 浏览预约信息列表。 4. 点击查看详细信息。 |
| 预期效果 | 能正常查看预约信息 |
| 实际效果 | 与预期结果一致 |
| 结论 | 测试通过 |
表5-4 心理测试功能测试用例表
| 测试目的 | 验证心理测试功能 |
| 测试条件 | 用户已登录 |
| 测试步骤 | 1. 登录系统。 2. 进入心理测试模块。 3. 浏览心理测试列表。 4. 点击查看具体内容。 |
| 预期效果 | 能正常查看心理测试内容 |
| 实际效果 | 与预期结果一致 |
| 结论 | 测试通过 |
表5-5咨询师信息管理功能测试用例表
| 测试目的 | 验证咨询师信息管理功能 |
| 测试条件 | 管理员已登录 |
| 测试步骤 | 1. 登录系统。 2. 进入咨询师信息管理模块。 3. 添加新的咨询师信息。 4. 修改已有咨询师信息。 5. 删除咨询师信息。 |
| 预期效果 | 能正常添加、修改和删除信息 |
| 实际效果 | 与预期结果一致 |
| 结论 | 测试通过 |
表5-6 预约信息管理功能测试用例表
| 测试目的 | 验证预约信息管理功能 |
| 测试条件 | 管理员已登录 |
| 测试步骤 | 1. 登录系统。 2. 进入预约信息管理模块。 3. 添加新的预约信息。 4. 修改已有预约信息。 5. 删除预约信息。 |
| 预期效果 | 能正常添加、修改和删除信息 |
| 实际效果 | 与预期结果一致 |
| 结论 | 测试通过 |
表5-7 心理测试管理功能测试用例表
| 测试目的 | 验证心理测试管理功能 |
| 测试条件 | 管理员已登录 |
| 测试步骤 | 1. 登录系统。 2. 进入心理测试管理模块。 3. 查看所有心理测试。 4. 删除某条记录。 |
| 预期效果 | 能正常查看和删除记录 |
| 实际效果 | 与预期结果一致 |
| 结论 | 测试通过 |
5.3系统测试结果
通过对评论、咨询师信息、预约信息、心理测试及其管理模块的详细测试,涵盖了用户和管理员的多个关键功能。测试内容涉及用户在评论中发布、回复、删除评论,浏览和查看预约信息,管理员对预约信息的管理、心理测试的查看与删除,以及交流内容的管理等重要操作。所有测试功能均符合预期结果,未发现明显问题,显示出系统在当前测试条件下的稳定性和可靠性。这些结果表明,系统能够有效支持用户和管理员顺畅完成各自的核心活动,未出现操作障碍或功能缺陷。
第 6 章 结论
本研究开发的大学生心理咨询管理平台成功实现了基于Spring Boot和Vue.js的前后端分离架构。系统通过提供用户、咨询师和管理员三类角色的功能模块,满足了不同群体的需求。普通用户可以方便地参与心理测试、预约咨询、浏览心理知识等,而咨询师和管理员则能够高效管理用户数据和咨询服务。
在技术方面,平台采用了开源技术栈(Spring Boot、Vue.js、MySQL),确保了系统的高效性、稳定性与低成本。系统通过RESTful API进行数据交互,保证了前后端的灵活性和可扩展性。同时,集成了ElasticSearch技术提升了搜索性能,为用户提供了快速、精准的查询体验。
平台设计简洁、操作友好,用户可以轻松管理个人信息并享受专业的心理健康服务。管理员和咨询师能够高效处理预约、留言、心理测试等信息,提高了系统的管理效率。
通过本平台的实施,不仅为大学生提供了一个便捷的心理咨询服务,也推动了心理健康服务的数字化进程。未来,平台可以进一步优化用户体验和扩展功能,以适应更广泛的应用需求,推动更多领域的心理健康管理数字化发展。
- 刘云,韩东伯,宫文迪. 新时期大学生就业焦虑心理的应对策略研究 [J]. 现代职业教育, 2025, (03): 41-44.
- 陆爱未,张雨. 协同育人视角下大学生心理问题早期发现和科学干预机制 [J]. 知识文库, 2024, 40 (18): 136-139.
- 黎晓琪,黄彩微,于佩鑫. 大学生考前焦虑的心理咨询案例分析 [J]. 华章, 2024, (09): 63-65.
- 王俊琳,周晓优. 大学生对AI心理咨询的态度调查分析 [J]. 国际公关, 2024, (13): 116-118.
- 刘勇,石元伍,解马清云,等. 提升大学生心理健康咨询体验感的服务设计策略研究 [J]. 家具与室内装饰, 2024, 31 (07): 84-90.
- 郭乐祥. 大学生心理健康教育的特点和建构 [J]. 产业与科技论坛, 2024, 23 (12): 64-66.
- 林冰. 大学生心理健康教育创新模式探究[N]. 淮南日报, 2024-05-16 (A03).
- 陈钱,兰全祥. Java Web中文件上传方法的研究与分析 [J]. 工业控制计算机, 2024, 37 (11): 72-74+77.
- 庞敏. MySQL数据库的数据安全应用设计技术研究 [J]. 数字通信世界, 2024, (09): 25-27.
- 许春刚,奚露,王彤,等. 新形势下高校大学生心理求助行为研析——以天津市某高校大学生为例 [J]. 中国轻工教育, 2024, 27 (02): 55-60.
- 赵晨玲,贾伟. 大学生心理健康教育家校协同机制研究 [J]. 大学, 2023, (S1): 56-58.
- 聂述文. 大学生心理健康教育阶段心理咨询技术的应用 [J]. 济南职业学院学报, 2023, (06): 100-104.
- 许琦. 大学生心理问题的现状与应对策略 [J]. 大众文艺, 2023, (22): 157-159.
- 陆莹,周晓优,孟培育. 人工智能在大学生心理咨询中的实践研究 [J]. 国际公关, 2024, (14): 89-91.
- 罗晓帅. 高校辅导员开展大学生心理健康教育路径探析 [J]. 长治学院学报, 2023, 40 (05): 86-90.
- 陈蓓蕾,洪年松. 基于SpringBoot的数据库接口设计 [J]. 信息与电脑(理论版), 2023, 35 (16): 181-183.
- 柳静,王铭,孙启武,等. 我国大学生心理咨询与危机干预的管理现状调查 [J]. 中国临床心理学杂志, 2022, 30 (02): 477-482.
- Stokes D . Update or migrate? Planning for MySQL 5.7 EOL [J]. InfoWorld.com, 2023, 24 (03): 22-30.
- Sergey S . Microservices Design Patterns with Java:70+ patterns for designing, building, and deploying microservices (English Edition)[M]. BPB Publishers: 2024-05-24.
- Shao W ,Liu K . Design and Implementation of Online Ordering System Based on SpringBoot [J]. Journal of Big Data and Computing, 2024, 2 (3):
致谢
时光荏苒,四年的求学生涯在不经意间画上了圆满的句号。在这段充满挑战与成长的旅程中,许多人给予了我无私的支持与鼓励。在此,我怀着无比感激的心情,向所有帮助和关心过我的人致以诚挚的感谢。
首先,我要特别感谢我的指导老师。您不仅是知识的传播者,更是我人生道路上的引路人。您严谨治学、孜孜不倦的精神深深感染了我,让我明白了追求真理的重要性。无论是细致的反馈,还是启发性的建议,您都让我感受到一种无形的力量,激励着我不断超越自我。感谢您在我最迷茫的时刻,为我指明方向,给予我勇气,让我在道路上走得更加坚定。
我要感谢我的父母。感谢你们无私的爱与支持,是你们的辛勤付出让我得以追逐梦想,成就自我。无论是在我遇到挫折时的鼓励,还是在我获得成绩时的欢笑,你们总是我最坚实的后盾。在你们的呵护下,我得以在知识的海洋中遨游,体会到求知的乐趣与美好。你们教会我如何面对生活中的风雨,教会我如何在困境中寻找希望。每当我回首过往,心中涌起的都是对你们的感激与爱戴。没有你们的支持,我无法走到今天这一步。愿在未来的日子里,能用自己的努力回报你们的厚爱。
我也要感谢我的同学们。在这四年的岁月里,我们共同经历了无数的挑战与欢笑。无论是一起熬夜复习的辛酸,还是考试后的欢庆,你们的陪伴让我不再孤单。在学习上,我们相互借鉴、共同进步。在生活中,我们彼此扶持、携手前行。与你们的友谊让我感受到青春的热情与力量。每一次的团结合作,都让我意识到团队的力量是无穷的。感谢你们在我人生旅途中的陪伴,你们的存在让我的大学生活更加丰富多彩。
最后,感谢这个校园。这里承载了我的青春与梦想,见证了我的成长与蜕变。每一处熟悉的角落,都蕴藏着我无数的回忆。无论是静谧的图书馆,还是热闹的操场,都成为我心中不可磨灭的印记。这里的每一位老师、每一位同学、每一段经历,都将成为我人生旅途中最珍贵的财富。
在即将踏入新的人生阶段之际,我衷心地感谢所有给予我帮助与关心的人。是你们的陪伴让我在这条路上走得更加坚定与自信。未来的路途或许会有荆棘与挑战,但我将带着你们给予我的勇气与力量,勇敢前行。愿在不久的将来,能够以自己的成就来回馈你们的厚爱。
再次感谢每一位在我生命中出现的人,愿我们都能在各自的人生舞台上,绽放出属于自己的光彩。
649

被折叠的 条评论
为什么被折叠?



