之前讨论过redo的作用,那么与之对应的便是undo了,undo记录了事务的行为,实现了MySQL的回滚和MVCC。当update、delete或者insert一条数据,都会对应的在undo中生成一个前镜像信息,这个前镜像是以逻辑方式存储的(即反向更改的SQL语句,delete对应insert,insert对应delete),当需要rollback时,通过undo记录信息进行rollback,同Oracle undo一样,MySQL undo也是通过segment管理具体事务的,但是存储在共享表空间中(ibdata1),但是从mysql 8.0.20开始undo单独存放在数据目录中(undo_001、undo_002)。实际上当进行数据修改时不光要记录到undo中,使用undo这个动作还要记录到redo中,同Oracle中相似,在使用undo回滚时也会产生一定量的信息记录redo,总之,不管不管innodb怎样使用undo 这个信息都是要记录redo的。
MVCC
MVCC实现的很重要的一个基础就是undo,当读取数据发现当前行记录已经被事务占用,就会通过数据页中记录的undo地址寻址到undo中,读取行版本信息,实现非锁定读。
undo存储管理
undo管理同表空间管理一样都是通过segment来管理的,innodb存储引擎有128个rollback segment,每个rollback segment中记录了1024个undo log segment,在每个undo log segment 中进行undo page 申请,即实际可用undo segment为 128*1024,可通过innodb_undo_logs来修改rollback segment数量,默认128,innodb_undo_tablespaces指定undo表空间数量,默认为2
事务发起commit之后不会立马删除undo log及undo log所在的页,这是因为还要支持MVCC技术,需要读取undo行记录版本号。是在commit发起后将undo log放入一个链表中(history list),判断undo page使用空间是否小于3/4,若是则undo page可以被重用,之后新的undo log在这个undo log后面,即一个undo page存放不同事务的undo log,以发挥undo page最大的使用率。
①将undo log放入列表中,不立马释放undo log,提供MVCC支持,待purge线程来进行回收。
②purge线程从history list尾端开始判断undo log是否有事务持有可以释放重用,若可以,则进行purge回收,同时进入到undo purge队列里继续查找。

undo log 格式
在Innodb中undo log分为 insert undo log和update undo log,他们分别存储响应操作类型的前镜像数据。insert操作只对事物本身可见,对其他事务不可见,故在事务commit之后 insert undo log会立刻被回收不需要进行purge操作,也不涉及MVCC。而update undo log则不然,他需要提供MVCC技术,故事务commit之后不会立刻删除,提交之后放入history list链表。而是由purge线程进行统一管理删除操作。update实际上是delete+insert,delete使用update undo log,在管理update undo log的undo log segment中,而insert使用insert undo log,在管理insert undo log的undo log segment中。故mysql中一个事务可以使用两个undo段,反之一个undo段也可以被多个事务使用。这一点同Oracle不一样。
insert undo log
next:2字节,记录下一个undo log位置以及当前undo log占用的大小。
type_cmp1:1字节,记录undo 类型,对于insert undo log,该值为11。
undo_no:记录事务ID,通过字段压缩进行存储。
table_id:记录undo log对应的表对象,通过字段压缩进行存储。
len1 col1:记录所有主键的列和值,根据这些值定位到具体记录进行rollback。
start:2字节,undo log开始的位置
update undo log
在insert undo log结构基础之上多了一些结构,其中next、undo_no、table_id、start同insert undo log相同。
type_cmp1:1字节,记录undo类型,不同类型update值也不一样
TRX_UNDO_UPD_EXIST_REC更新non_delete_mark的记录,值为12.
TRX_UNDO_UPD_DEL_REC将delete的记录标记为not delete,值为13.
TRX_UNDO_DEL_MARK_REC将记录标记为delete,值为14.
update_vector:表示update操作导致发生改变的列。


查看undo信息视图
information_schema.INNODB_TRX_ROLLBACK_SEGMENT 查看 rollback segment

INNODB_TRX_UNDO 记录事务对应的undo log
MySQLdelete操作过程
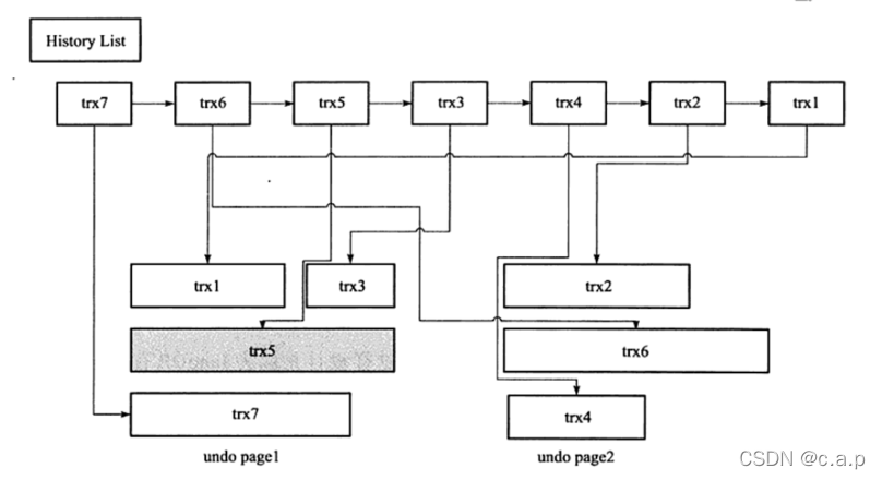
delete一条数据时首先将删除列的记录delete flag设置为1,该记录没有被实际删除在存在B+树中,索引上的信息也没有进行维护甚至没有产生undo log,这个真正的删除操作被“延时”,由purge线程来完成,以提供MVCC。由于事务commit之后按照顺序将undo log放入history list中,如下图所示,trx*代表事务在undo中的记录即undo log,按照提交的先后顺序由history list管理,同时他们实际存放在undo page中,其中TRX5表示正在被事务引用,触发purge线程首先先从history list尾端进行遍历查找,即trx1那一段,首先回收的便是TRX1的undo log,接下来不是去查找TRX2,而是在trx1的undo page(undo page1)中继续向下查找,下一个要查找并回收的是trx3,接着找到trx5但是trx5被事务在占用,故再去history list中继续向前查找,刚才在history list中遍历到了trx1 ,接下来遍历trx2 ,找到并回收 ,同理查找undo page2中的trx6,接下来是trx4。就以这样的逻辑顺序查找回收,每次回收300个page,通过上述方式可以发现purge实际上是一个离散读的过程,故实际过程中这个过程会很慢,同时也会消耗一定的IO,参数innodb_purge_batch_size可以设置每次purge的page数量。innodb_max_purge_lag控制history list的长度,默认为0(不做限制),purge速度和history list的长度是需要动态维持一定平衡的,purge的过多会造成IO压力,过少会造成history list过长,若长度达到innodb_max_purge_lag参数限制时,会“延缓”DML操作,其算法为delay=((length(history_list) - innodb_max_purge_lag * 10 )) - 5,delay单位是毫秒,但是delay代表的是一个dml操作的行,参数innodb_max_purge_lag_delay控制delay最大的毫秒数,避免purge缓慢造成SQL线程无限制等待。可见innodb_max_purge_lag=0不可随意更改。

undo相关参数
+--------------------------+--------------+
| Variable_name | Value |
+--------------------------+--------------+
| innodb_max_undo_log_size | 1048576000 | undo表空间大小 1G
| innodb_undo_directory | /data/mysql/ | undo数据文件位置
| innodb_undo_log_encrypt | OFF | undo存储加密
| innodb_undo_log_truncate | ON | 开启自动清理undo功能
| innodb_undo_tablespaces | 2 | undo文件个数
+--------------------------+--------------+
为什么MySQL中类似01555(快照过旧)报错很罕见
首先还原Oracle ora-0155报错,当前undo segment使用情况。
SQL> SELECT TABLESPACE_NAME,SEGMENT_NAME,
2 STATUS,
3 TRUNC(SUM(BLOCKS) * 8 / 1024) AS "Size M"
4 FROM DBA_UNDO_EXTENTS
5 GROUP BY TABLESPACE_NAME, SEGMENT_NAME,STATUS
6 order by 3,2;
TABLESPACE_NAME SEGMENT_NAME STATUS Size M
------------------------------ ------------------------------ --------- ----------
UNDO1 _SYSSMU14_1165417767$ EXPIRED 0
UNDO1 _SYSSMU15_2328083754$ EXPIRED 0
UNDO1 _SYSSMU11_2675123733$ UNEXPIRED 0
UNDO1 _SYSSMU12_2926367252$ UNEXPIRED 0
UNDO1 _SYSSMU13_3035459788$ UNEXPIRED 6
UNDO1 _SYSSMU14_1165417767$ UNEXPIRED 0
UNDO1 _SYSSMU15_2328083754$ UNEXPIRED 0
UNDO1 _SYSSMU16_111403298$ UNEXPIRED 0
UNDO1 _SYSSMU17_2771507285$ UNEXPIRED 0
实验开始
SQL> DECLARE
2 i INT;
3 BEGIN
4 i := 1;
5 WHILE(i < 100000)
6 LOOP
7 i := i + 1;
8 INSERT INTO test_obj(object_id) VALUES(i);
9 commit;
10 END LOOP;
11 END;
12 /
PL/SQL procedure successfully completed.
SQL> begin
2 open :x for select * from test_obj;
3 end;
4 /
PL/SQL procedure successfully completed.
SQL>
SQL> begin
2 for i in 1 .. 100000 loop
3 update test_obj set object_id=i+1 where object_id =i;
4 commit;
5 end loop;
6 end;
7 /
PL/SQL procedure successfully completed.
开始update之后原来的undo segment _SYSSMU13_3035459788$是unexpired状态,虽然是倾向于保留状态的,但是有事务使用时,undo自动管理,也会去分配这里的空间给active segment使用,随之 14 15段也进行了UNEXPIRED-> active ->UNEXPIRED这个状态过程。
SQL> SELECT TABLESPACE_NAME,SEGMENT_NAME,
2 STATUS,
3 TRUNC(SUM(BLOCKS) * 8 / 1024) AS "Size M"
4 FROM DBA_UNDO_EXTENTS
5 GROUP BY TABLESPACE_NAME, SEGMENT_NAME,STATUS
6 order by 3,2;
TABLESPACE_NAME SEGMENT_NAME STATUS Size M
------------------------------ ------------------------------ --------- ----------
UNDO1 _SYSSMU11_2675123733$ UNEXPIRED 0
UNDO1 _SYSSMU12_2926367252$ UNEXPIRED 0
UNDO1 _SYSSMU13_3035459788$ UNEXPIRED 4
UNDO1 _SYSSMU14_1165417767$ UNEXPIRED 1
UNDO1 _SYSSMU15_2328083754$ UNEXPIRED 1
UNDO1 _SYSSMU16_111403298$ UNEXPIRED 0
UNDO1 _SYSSMU17_2771507285$ UNEXPIRED 0
SQL> /
TABLESPACE_NAME SEGMENT_NAME STATUS Size M
------------------------------ ------------------------------ --------- ----------
UNDO1 _SYSSMU13_3035459788$ ACTIVE 1
UNDO1 _SYSSMU11_2675123733$ EXPIRED 0
UNDO1 _SYSSMU13_3035459788$ EXPIRED 0
UNDO1 _SYSSMU14_1165417767$ EXPIRED 0
UNDO1 _SYSSMU11_2675123733$ UNEXPIRED 0
UNDO1 _SYSSMU12_2926367252$ UNEXPIRED 0
UNDO1 _SYSSMU13_3035459788$ UNEXPIRED 3
UNDO1 _SYSSMU14_1165417767$ UNEXPIRED 1
UNDO1 _SYSSMU15_2328083754$ UNEXPIRED 1
UNDO1 _SYSSMU16_111403298$ UNEXPIRED 0
UNDO1 _SYSSMU17_2771507285$ UNEXPIRED 0
看现在undo segment原来的undo段都经历了N次,UNEXPIRED-> active ->UNEXPIRED这个状态过程,那么原来undo segment里记录的前镜像全部被覆盖。
SQL> /
TABLESPACE_NAME SEGMENT_NAME STATUS Size M
------------------------------ ------------------------------ --------- ----------
UNDO1 _SYSSMU13_3035459788$ ACTIVE 0
UNDO1 _SYSSMU11_2675123733$ UNEXPIRED 2
UNDO1 _SYSSMU12_2926367252$ UNEXPIRED 1
UNDO1 _SYSSMU13_3035459788$ UNEXPIRED 1
UNDO1 _SYSSMU14_1165417767$ UNEXPIRED 1
UNDO1 _SYSSMU15_2328083754$ UNEXPIRED 1
UNDO1 _SYSSMU16_111403298$ UNEXPIRED 1
UNDO1 _SYSSMU17_2771507285$ UNEXPIRED 1
这里模拟select时间很长的SQL,需要查找前镜像,但是前镜像已经被覆盖了
SQL> print :x
ERROR:
ORA-01555: snapshot too old: rollback segment number 16 with name
"_SYSSMU16_111403298$" too smalll
MySQL innodb存储引擎中为什么快照过旧比较罕见呢
①innodb中undo segment 可以有128*1024个,数量极多,undo信息以undo log形式存放在undo segment中,每个undo segment可以存放多个事务的undo log,undo segment使用比较充分
②innodb中undo回收是purge线程来做,一旦发现当前undo segment被事务占用,那么将不进行purge操作。对于select操作,innodb会默认undo segment是被占用状态,不论是RC还是RR隔离级别我们都很难看到一个执行时间很长的select报错,除非你强行取消select。
1567

被折叠的 条评论
为什么被折叠?



