温馨提示:文末有 CSDN 平台官方提供的学长 QQ 名片 :)
1. 项目介绍
1.1 背景与意义
随着高校教学改革的不断深入,教师的教学工作量日益增加,涵盖了课程教学、毕业设计指导、实习指导、科研项目、学术论文发表、学生竞赛指导以及教改项目等多个方面。传统的纸质或Excel表格管理方式存在数据分散、统计困难、审核繁琐等问题,难以满足现代高校精细化管理的需求。
为了提高教学管理效率,实现数据的规范化存储和便捷查询,本项目开发了一套基于 Python Django 框架的高校教师教学管理系统。该系统旨在为教师提供便捷的工作量申报渠道,同时为管理人员提供高效的审核与统计工具,从而提升整体教学管理水平。
系统详细演示视频:https://www.bilibili.com/video/BV1BHqzBwETM

配套参考论文
1.2 系统目标
本系统主要实现以下目标:
- 多维度工作量管理:支持课设、毕设、实习、科研、竞赛等多种工作量类型的申报。
- 流程化审核:实现“教师申报 -> 管理员审核”的业务流程,确保数据真实有效。
- 数据集中存储:利用关系型数据库对教师信息和各类工作量数据进行统一管理。
- 用户友好:提供简洁的前端界面,方便教师和管理员操作。
2. 技术选型
本项目采用 B/S(Browser/Server)架构,前后端分离的设计思想(逻辑层面)。
- 后端框架:Python 3.7+ / Django 2.0+
- Django 是一个高级 Python Web 框架,鼓励快速开发和干净、实用的设计。
- 数据库:MySQL 5.7/8.0
- 使用 MySQL 存储用户信息、工作量数据及审核状态。
- 前端技术:HTML, CSS, JavaScript, Vue.js (后台管理)
- 页面简洁大方,交互性强。
- 开发工具:PyCharm, Navicat, Docker (可选)
3. 系统设计
3.1 功能模块设计
系统主要包含以下核心模块:
-
用户管理模块
- 教师管理:教师信息的录入、修改及登录。
- 管理员管理:系统后台的权限控制。
-
工作量分类管理
- 对不同的工作量进行分类定义,方便后续统计。
-
教学工作量管理
- 课设工作量:记录课程名称、计划、附件等。
- 毕业设计工作量:记录指导学生数、指导内容、附件等。
- 毕业实习工作量:记录实习指导情况、表现评估等。
-
科研与竞赛管理
- 科研项目工作量:记录项目名称、时间、角色、附件等。
- 科研论文工作量:记录论文题目、期刊、发表时间等。
- 学生竞赛工作量:记录竞赛指导情况、获奖情况等。
- 教改项目工作量:记录教改项目实施过程及成果。
-
审核模块
- 管理员对教师提交的各类工作量进行审核(通过/驳回),并给出审核回复。
3.2 数据库设计
系统核心数据表设计如下(以部分关键表为例):
(1) 教师表 (jiaoshi)
| 字段名 | 类型 | 说明 |
|---|---|---|
| id | BigInt | 主键 |
| jiaoshizhanghao | Varchar | 教师账号(唯一) |
| mima | Varchar | 密码 |
| jiaoshixingming | Varchar | 教师姓名 |
| zhicheng | Varchar | 职称 |
| lianxidianhua | Varchar | 联系电话 |
(2) 课设工作量表 (keshegongzuoliang)
| 字段名 | 类型 | 说明 |
|---|---|---|
| id | BigInt | 主键 |
| jiaoshizhanghao | Varchar | 关联教师账号 |
| kechengmingcheng | Varchar | 课程名称 |
| gongzuoliangfenlei | Varchar | 工作量分类 |
| fujian | Text | 附件路径 |
| sfsh | Varchar | 是否审核(是/否/待审核) |
| shhf | Text | 审核回复 |
4. 系统实现
4.1 项目结构
django679q4p42/
├── dj2/ # 项目配置目录
│ ├── settings.py # 项目配置文件
│ ├── urls.py # 总路由配置
│ └── wsgi.py
├── main/ # 核心应用目录
│ ├── models.py # 数据模型定义
│ ├── views.py # 视图函数(或拆分为多个_v.py文件)
│ ├── *_v.py # 各模块具体的视图逻辑
│ └── urls.py # 应用路由配置
├── templates/ # 模板文件
└── manage.py # (根目录下通常会有,或者在bin中)
4.2 核心代码展示
(1) 数据模型定义 (main/models.py)
利用 Django ORM 定义数据库结构,以下是“教师”和“科研论文工作量”的模型定义:
from django.db import models
from .model import BaseModel
class jiaoshi(BaseModel):
__doc__ = u'''jiaoshi'''
__tablename__ = 'jiaoshi'
__loginUser__='jiaoshizhanghao'
addtime = models.DateTimeField(auto_now_add=False, verbose_name=u'创建时间')
jiaoshizhanghao=models.CharField ( max_length=255,null=False,unique=True, verbose_name='教师账号' )
mima=models.CharField ( max_length=255,null=False, unique=False, verbose_name='密码' )
jiaoshixingming=models.CharField ( max_length=255,null=False, unique=False, verbose_name='教师姓名' )
xingbie=models.CharField ( max_length=255, null=True, unique=False, verbose_name='性别' )
lianxidianhua=models.CharField ( max_length=255, null=True, unique=False, verbose_name='联系电话' )
# ... 其他字段
class Meta:
db_table = 'jiaoshi'
verbose_name = verbose_name_plural = '教师'
class keyanlunwengongzuoliang(BaseModel):
__doc__ = u'''keyanlunwengongzuoliang'''
__tablename__ = 'keyanlunwengongzuoliang'
# 审核相关字段配置
__sfsh__='是'
addtime = models.DateTimeField(auto_now_add=False, verbose_name=u'创建时间')
jiaoshizhanghao=models.CharField ( max_length=255, null=True, unique=False, verbose_name='教师账号' )
jiaoshixingming=models.CharField ( max_length=255, null=True, unique=False, verbose_name='教师姓名' )
lunwentimu=models.CharField ( max_length=255, null=True, unique=False, verbose_name='论文题目' )
qikanmingcheng=models.CharField ( max_length=255, null=True, unique=False, verbose_name='期刊名称' )
fujian=models.TextField ( null=True, unique=False, verbose_name='附件' )
fabiaoshijian=models.DateField ( null=True, unique=False, verbose_name='发表时间' )
sfsh=models.CharField ( max_length=255, null=True, unique=False,default='待审核', verbose_name='是否审核' )
shhf=models.TextField ( null=True, unique=False, verbose_name='审核回复' )
class Meta:
db_table = 'keyanlunwengongzuoliang'
verbose_name = verbose_name_plural = '科研论文工作量'
(2) 路由配置 (dj2/urls.py)
系统采用了自动化的路由分发机制,支持 RESTful 风格的接口:
from django.urls import path,include,re_path
from . import views
from dj2.settings import dbName as schemaName
urlpatterns = [
path('xadmin/', admin.site.urls),
path(r'index/',views.index),
path('{}/'.format(schemaName),include('main.urls')),
# 动态匹配不同表的管理接口
re_path(r'admin/(?P<p1>.*)/(?P<p2>.*)$', views.admin_file2),
# ...
]
5 功能界面展示
5.1登录功能实现
基于Django的高校教师教学管理系统分为教师和管理员2个角色,这些用户需要登录后才可以进行各类信息的管理。用户在登录界面准确输入各自的账号与密码并选择相关的角色,随后点击登录按钮,即可顺利进入后台管理系统,从而执行各种数据管理操作。基于Django的高校教师教学管理系统登陆界面如图5-1所示

图5-1登录页面
5.2 教师管理
用户在教师的前端添加页面中填写必要的信息如(教师账号+密码+教师姓名+性别+联系电话+头像+年龄+学历+职称+工作经历)并提交,前端页面将这些信息通过Post的方式提交信息到Django后端的控制层(jiaoshi_views.py)中的add()方法,add()方法调用模型(Model)将数据添加到数据库,并返回操作是否成功的提示信息。 教师信息添加界面如图5-3

图5-3教师添加页面
教师功能在模板(Template)层进行展示。当用户在教师的管理界面中输入想要查询的关键字之后点击[查询]按钮,系统将关键字提交给控制层(jiaoshi_views.py)中的List()方法,List()方法根据关键字查询所需的教师相关数据,并返回到模板(Template)展示给用户。当用户需要更新教师相关数据时输入信息如(教师账号+密码+教师姓名+性别+联系电话+头像+年龄+学历+职称+工作经历)并点击提交,系统会通过控制层(jiaoshi_views.py)中alter()方法进行数据的保存,并将更新的后的数据返回到前端页面。当用户需要删除某项数据时,调用控制层(jiaoshi_views.py)中del()方法将相关数据删除,并将删除的后的数据重新读取然后返回到前端页面展示给用户。教师管理界面如图5-4所示

图5-4教师管理列表页面
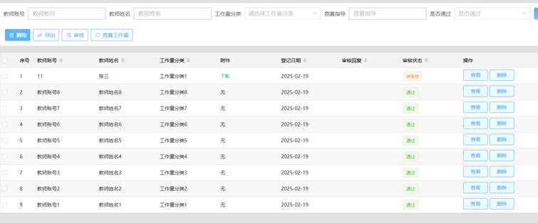
5.3 毕业实习工作量管理
用户在毕业实习工作量的前端添加页面中填写必要的信息如(教师账号+教师姓名+工作量分类+学生姓名+实习指导+附件+登记日期+表现评估+详细说明+是否审核+审核回复)并提交,前端页面将这些信息通过Post的方式提交信息到Django后端的控制层(biyeshixigongzuoliang_views.py)中的add()方法,add()方法调用模型(Model)将数据添加到数据库,并返回操作是否成功的提示信息。 毕业实习工作量信息添加界面如图5-5

图5-5毕业实习工作量添加页面
毕业实习工作量功能在模板(Template)层进行展示。当用户在毕业实习工作量的管理界面中输入想要查询的关键字之后点击[查询]按钮,系统将关键字提交给控制层(biyeshixigongzuoliang_views.py)中的List()方法,List()方法根据关键字查询所需的毕业实习工作量相关数据,并返回到模板(Template)展示给用户。当用户需要更新毕业实习工作量相关数据时输入信息如(教师账号+教师姓名+工作量分类+学生姓名+实习指导+附件+登记日期+表现评估+详细说明+是否审核+审核回复)并点击提交,系统会通过控制层(biyeshixigongzuoliang_views.py)中alter()方法进行数据的保存,并将更新的后的数据返回到前端页面。当用户需要删除某项数据时,调用控制层(biyeshixigongzuoliang_views.py)中del()方法将相关数据删除,并将删除的后的数据重新读取然后返回到前端页面展示给用户。毕业实习工作量管理界面如图5-6所示

图5-6毕业实习工作量管理列表页面
5.4 毕业设计工作量管理
用户在毕业设计工作量的前端添加页面中填写必要的信息如(教师账号+教师姓名+工作量分类+指导学生数+附件+登记日期+指导内容+是否审核+审核回复)并提交,前端页面将这些信息通过Post的方式提交信息到Django后端的控制层(biyeshejigongzuoliang_views.py)中的add()方法,add()方法调用模型(Model)将数据添加到数据库,并返回操作是否成功的提示信息。 毕业设计工作量信息添加界面如图5-7

图5-7毕业设计工作量添加页面
毕业设计工作量功能在模板(Template)层进行展示。当用户在毕业设计工作量的管理界面中输入想要查询的关键字之后点击[查询]按钮,系统将关键字提交给控制层(biyeshejigongzuoliang_views.py)中的List()方法,List()方法根据关键字查询所需的毕业设计工作量相关数据,并返回到模板(Template)展示给用户。当用户需要更新毕业设计工作量相关数据时输入信息如(教师账号+教师姓名+工作量分类+指导学生数+附件+登记日期+指导内容+是否审核+审核回复)并点击提交,系统会通过控制层(biyeshejigongzuoliang_views.py)中alter()方法进行数据的保存,并将更新的后的数据返回到前端页面。当用户需要删除某项数据时,调用控制层(biyeshejigongzuoliang_views.py)中del()方法将相关数据删除,并将删除的后的数据重新读取然后返回到前端页面展示给用户。毕业设计工作量管理界面如图5-8所示

图5-8毕业设计工作量管理列表页面
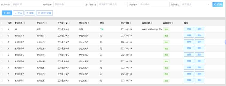
5.5 学生竞赛工作量管理
用户在学生竞赛工作量的前端添加页面中填写必要的信息如(教师账号+教师姓名+工作量分类+竞赛指导+获奖情况+附件+登记日期+详细说明+是否审核+审核回复)并提交,前端页面将这些信息通过Post的方式提交信息到Django后端的控制层(xueshengjingsaigongzuoliang_views.py)中的add()方法,add()方法调用模型(Model)将数据添加到数据库,并返回操作是否成功的提示信息。 学生竞赛工作量信息添加界面如图5-9

图5-9学生竞赛工作量添加页面
学生竞赛工作量功能在模板(Template)层进行展示。当用户在学生竞赛工作量的管理界面中输入想要查询的关键字之后点击[查询]按钮,系统将关键字提交给控制层(xueshengjingsaigongzuoliang_views.py)中的List()方法,List()方法根据关键字查询所需的学生竞赛工作量相关数据,并返回到模板(Template)展示给用户。当用户需要更新学生竞赛工作量相关数据时输入信息如(教师账号+教师姓名+工作量分类+竞赛指导+获奖情况+附件+登记日期+详细说明+是否审核+审核回复)并点击提交,系统会通过控制层(xueshengjingsaigongzuoliang_views.py)中alter()方法进行数据的保存,并将更新的后的数据返回到前端页面。当用户需要删除某项数据时,调用控制层(xueshengjingsaigongzuoliang_views.py)中del()方法将相关数据删除,并将删除的后的数据重新读取然后返回到前端页面展示给用户。学生竞赛工作量管理界面如图5-10所示

图5-10学生竞赛工作量管理列表页面
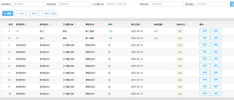
5.6 课设工作量管理
用户在课设工作量的前端添加页面中填写必要的信息如(教师账号+教师姓名+工作量分类+课程名称+课程计划+附件+登记日期+参与学生+详细说明+是否审核+审核回复)并提交,前端页面将这些信息通过Post的方式提交信息到Django后端的控制层(keshegongzuoliang_views.py)中的add()方法,add()方法调用模型(Model)将数据添加到数据库,并返回操作是否成功的提示信息。 课设工作量信息添加界面如图5-11

图5-11课设工作量添加页面
课设工作量功能在模板(Template)层进行展示。当用户在课设工作量的管理界面中输入想要查询的关键字之后点击[查询]按钮,系统将关键字提交给控制层(keshegongzuoliang_views.py)中的List()方法,List()方法根据关键字查询所需的课设工作量相关数据,并返回到模板(Template)展示给用户。当用户需要更新课设工作量相关数据时输入信息如(教师账号+教师姓名+工作量分类+课程名称+课程计划+附件+登记日期+参与学生+详细说明+是否审核+审核回复)并点击提交,系统会通过控制层(keshegongzuoliang_views.py)中alter()方法进行数据的保存,并将更新的后的数据返回到前端页面。当用户需要删除某项数据时,调用控制层(keshegongzuoliang_views.py)中del()方法将相关数据删除,并将删除的后的数据重新读取然后返回到前端页面展示给用户。课设工作量管理界面如图5-12所示

图5-12 课设工作量管理列表页面
6. 总结
本高校教师教学管理系统基于 Django 框架开发,成功实现了从工作量申报到审核的全流程数字化管理。系统结构清晰,扩展性强,不仅减轻了教务管理人员的工作负担,也方便了教师对自己教学成果的整理与查询。
未来可以进一步扩展的功能包括:
- 数据可视化大屏:直观展示全校教师的工作量统计图表。
- 导出功能:支持将工作量报表导出为 Excel 或 PDF 格式。
- 消息通知:审核结果通过邮件或短信实时通知教师。
欢迎大家点赞、收藏、关注、评论啦 ,由于篇幅有限,只展示了部分核心代码。技术交流、源码获取认准下方 CSDN 官方提供的学长 QQ 名片 :)

824

被折叠的 条评论
为什么被折叠?



