西门子S7-1200 具有用于进行计算和测量、闭环回路控制和运动控制的集成技术,是一个功能非常强大的系统,可以实现多种类型的自动化任务。下面分享S7-1200系列数字量与模拟量信号输入/输出接线图给大家。
数字量信号模块输入输出接线
SM 1221 数字量输入

对于漏型输入将“-”连接到“M”(如图示);对于源型输入将“+”连接到“M”
SM 1222 数字量输出


SM1222 DQ 8 继电器切换模块使用公共端子控制两个电路:一个常闭触点和一个常开触点。
例如输出"0",当输出点断开时,公共端子 (0L) 与常闭触点 (.0X) 相连并与常开触点 (.0) 断开。当输出点接通时,公共端子 (0L) 与常闭触点 (.0X) 断开并与常开触点 (.0) 相连。

SM 1223 数字量输入/输出


对于漏型输入将负载连接到“-”端(如图示);对于源型输入将负载连接到“+”端
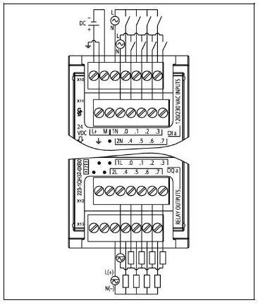
SM 1223 也有交流电压输入、继电器输出的模块, 如下所示:
SM 1223 DI 8 x 120/230 VAC,DQ 8 x 继电器 (6ES7 223-1QH32-0XB0)

SB 1223 200KHZ数字量输入/输出接线

① 仅支持源型输入
② 对于源型输出将负载连接到“-”端(如图示);对于漏型输出将负载连接到“+”端
SB 1223 数字量输入/输出接线

仅支持漏型输入
数字量的输入信号类型总结:CPU 集成的输入点和信号模板的所有输入点都既支持漏型输入又支持源型输入,而信号板的输入点只支持源型输入或者漏型输入的一种。
漏型输入见模板接线图,源型输入接线参考下图。

注意:数字量的输出信号类型,只有 200 KHZ的信号板输出既支持漏型输出又支持源型输出,其他信号板、信号模块和 CPU 集成的晶体管输出都只支持源型输出。
模拟量模块输入输出接线
SM1231 模拟量输入

SM 1232 模拟量输出

SM 1234 模拟量输入/输出

SB 1231 模拟量输入(信号板)

SB 1232 模拟量输出(信号板)

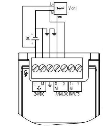
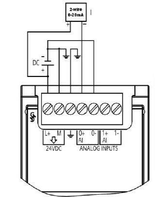
AI 连接传感器接线方式



TC 信号模块接线

TC 信号板接线

RTD 信号模块接线

RTD 信号板接线

本文详细介绍了西门子S7-1200系列的数字量和模拟量信号输入/输出接线方法,包括不同模块如SM1221、SM1222、SM1223、SB1223等的接线规则,以及漏型和源型输入/输出的区别和连接方式。内容涵盖了CPU集成输入点、信号模板和信号板的接线细节。
1万+

被折叠的 条评论
为什么被折叠?



