一、引言
路由器端口转发:指在路由器上设置一定的规则,将外部的数据包转发到内部指定的设备或应用程序。这通常需要对路由器进行一些配置,以允许外部网络访问内部网络中的特定服务和设备。端口转发功能可以实现多种应用场景,例如远程桌面、FTP、HTTP等应用程序的访问。
远程桌面控制:一种允许用户在不直接操作物理计算机的情况下,通过网络查看和操作远程计算机桌面的技术。这种控制通常用于远程协助、远程办公和系统管理等场景。
二、需求
背景:有两台计算机(服务器、电脑或平板电脑都行),一个路由器,以及一个校园网。
具体的使用场景1:我在实验室有一台电脑A,一个路由器,在宿舍有一台电脑B。然后,它们之间的关系是电脑A连接路由器的网络,路由器位于校园网的网络之中,我想通过电脑B远程控制电脑A。但问题是,路由器网络是一个局域网,校园网也是一个局域网,电脑A只能被同一个局域网(即路由器网络)内的其他电脑远程控制。它们的关系如图:

具体的使用场景2:跟场景1差不多。我在宿舍有一个路由器,一台笔记本电脑,在实验室有一台iPad,路由器连接的是校园网,而笔记本电脑连接的是路由器网络,iPad连接的是校园网。我的需求是想在校园网网络下的iPad远程控制路由器网络下的笔记本电脑。但由于两个局域网的网关问题,导致iPad是无法通过笔记本电脑的IP地址直接连接、远程控制桌面的。它们的关系如下:

三、配置过程
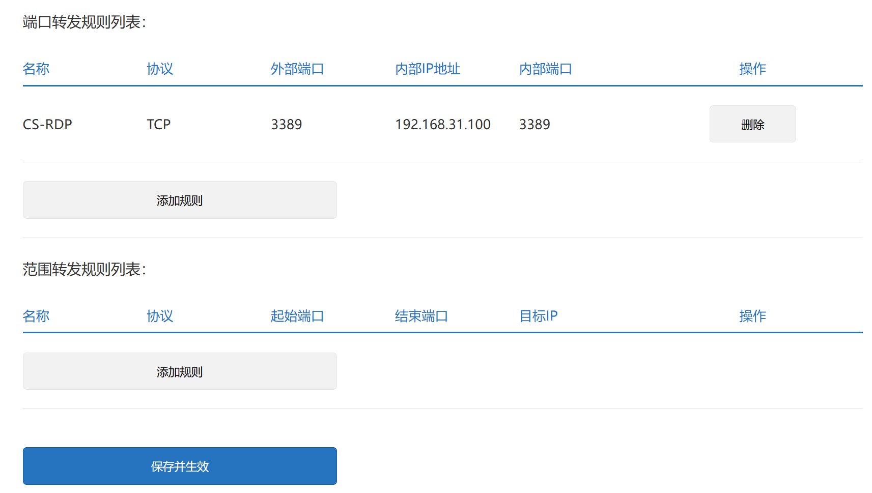
步骤一:登录路由器,设置路由器的“端口转发”规则。通常路由器都是有这个功能的,因为厂家不同,制造商也不同,所以界面会大同小异,点点点一顿操作就能找到它在哪儿设置啦。下面是我在小米路由器设置的端口转发规则。其中,名字随便定,协议选择TCP,外部端口一般是3389,和内部端口保持一致,内部IP地址就是与路由器连接的电脑的IP地址,这个是手动设置并固定的,以防止动态的电脑IP导致远程桌面连接的不稳定。

步骤二:重启路由器。这一步一定要做,否则上面的设置不生效。我就是这样,导致测试了大半天,浪费时间。
步骤三:确保与路由器连接的电脑允许远程桌面控制。具体方法在这篇博客中已经写得非常详细了:win10开启局域网远程桌面连接。这一步,参考前面怎么允许就行了,不需要看后面怎么连那部分。
步骤四:记得新建3389防火墙入站规则。具体方法可参考:win10打开3389端口。切记,不要把电脑整体的防火墙关了,这很危险。只开放一个端口就可以了。能只开一个端口就只开一个端口。
步骤五:确保与路由器连接的电脑的3389端口是开启的。具体的方法可参考博客:win10开启3389端口。该博客主要是提供了这样一个方法,cmd执行“netstat -an”命令,如果输出的结果有包含“3389”端口,那么就说明该端口是开启的。

步骤六:手动设置与路由器连接的电脑的静态IP。这一步主要是能够让你在外边远程的时候一直能够连上你的电脑。如果说IP是动态分配的,那么会造成端口转发规则的冲突,导致远程桌面连不上的问题。设置方法详细可参考博客:怎样设置电脑IP。一般来说,是需要配置网关的,网关一般就是默认打开路由器网站的IP,我的是192.168.31.1,其他型号的路由器可能不是这个,大差不差吧。我手动设置的电脑IP参数如下:

最后:只差一步了,即测试远程桌面连接。在实验室的iPad的RD Client输入路由器的地址,输入电脑的登录名和密码,然后就可以连接了。如果不成功,有可能是哪个环节出了问题,大家伙可以在留言区留言,我看到了也会主动、及时地进行回复。因为实验室和宿舍还是有一定距离的,所以,这里有一个小建议:可以不用专门跑到实验室测试,就在宿舍测试也可以。我的意思是,在宿舍,iPad连上路由器,然后直接在RD Client中输入路由器的IP,看下能不能连上。如果能连上,你在实验室大概率也是能连上的。另外,还有一点说明一下,就是你在路由器的网络之下,直接通过电脑的静态IP,iPad也是可以连的。所以,到这里,你一共有两个IP地址来控制你的笔记本电脑。
四、效果
以前读研的时候有第一种场景的需求,当时同门用这样的方法帮我解决掉了,但是没把方法记下来。导致我在遇到第二种场景的需求时,一时有点不知所措。但是经过网上搜索资料,以及仅剩的一点效果,最终还是解决了这个问题。
我在宿舍有一台笔记本电脑,是Windows系统的,连着一台小米路由器;然后我在实验室有一台iPad。那么,我在实验室的时候,需要使用iPad连接我在宿舍的笔记本电脑。下面就是iPad通过路由器IP地址在RD Client软件上成功连接的截图:

感觉还可以,就是画质差了些。
本文详细介绍了如何在路由器上配置端口转发,以便在校园网环境下,通过一台设备远程控制另一台连接路由器的电脑。步骤包括设置端口转发规则、重启路由器、开启远程桌面和防火墙设置,以及设置静态IP,以确保跨局域网的远程桌面连接成功。
386

被折叠的 条评论
为什么被折叠?



